2.1. Погрузка груза должна производиться в вагоны, очищенные от остатков ранее перевозимого груза, средств крепления, мусора, грязи. Боковые и верхние загрузочные люки, печные разделки крытых вагонов должны быть закрыты изнутри вагона на запорные устройства. Незаваренные верхние загрузочные люки в зависимости от их конструкции должны быть дополнительно закреплены изнутри вагона:
- деревянным бруском сечением не менее 40 x 40 мм длиной не менее 600 мм, который посередине притягивают к потолку проволокой диаметром не менее 4 мм, пропускаемой через корпус запорного устройства, расположенного на крышке люка, концы которой скручивают между собой не менее чем в три оборота (рисунок 4а);
- проволокой диаметром не менее 4 мм, которую закрепляют за запорные устройства люка, расположенные на потолке вагона и крышке люка (рисунок 4б).
Концы проволоки увязки люков загибают вверх.
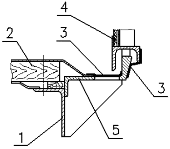
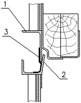
Рисунок 4 - Увязка верхних загрузочных люков
1 - горловина люка; 2 - крышка люка; 3 - зуб запорного
устройства; 4 - кронштейн запорного устройства; 5 - защелка
запорного устройства
Конструктивные зазоры кузова крытого вагона, которые могут явиться причиной повреждения или потери груза, должны быть заделаны изнутри вагона. Способ заделки зазоров должен обеспечивать сохранность вагона, возможность восстановления исходного работоспособного состояния вагона после перевозки груза и не должен вносить изменений в конструкцию вагона. Использование монтажной пены и других аналогичных материалов не допускается.
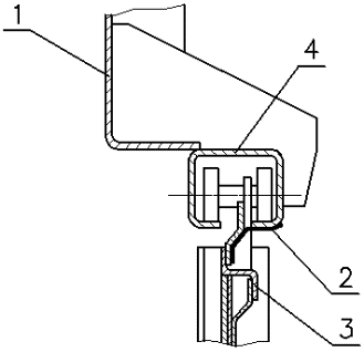
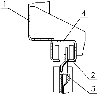
2.2. При перевозке скоропортящихся грузов в крытых вагонах с вентилированием боковые люки вагона открывают и проем люка закрывают изнутри вагона металлической решеткой, а при отсутствии в вагоне металлической решетки - крышки закрепляют в полуоткрытом положении проволокой диаметром 4 - 6 мм с установкой деревянных брусков (рисунок 5).
Рисунок 5 - Закрепление крышки бокового люка крытого вагона
при вентилировании
1 - крышка люка; 2 - проволочная увязка; 3 - брусок
Для закрепления крышки люка в обшивке вагона над люком просверливают отверстие диаметром 5 - 6 мм. Через это отверстие и кольцо крышки люка продевают проволоку, концы которой скручивают между собой внутри вагона не менее трех раз. Отклонение верхней кромки крышки люка от стены вагона должно быть не более 100 мм (рисунок 5, вид А-А).
2.3. При перевозке грузов, требующих подготовки крытых вагонов в противопожарном отношении, кузов вагона не должен иметь щелей. Плотность кузова проверяется изнутри вагона при закрытых люках и дверях.
Конструктивные зазоры в местах соединения крыши с обшивкой стен (при их наличии), в дверных и люковых проемах должны быть заделаны изнутри вагона способом, предусмотренным условиями перевозок конкретного груза, например, бумагой мешочной или крафт-оберточной на жидком стекле или стеклотканью на клеевой основе, рубероидом, плотным картоном и т.п.
Для заделки зазоров бумагой на жидком стекле применяют бумагу мешочную или крафт-оберточную плотностью не менее 60 г/м2. Жидкое стекло (клей силикатный - силикат натрия технический, огнестойкое соединение) наносят на всю поверхность одной стороны приклеиваемой бумаги. Нанесение жидкого стекла непосредственно на поверхность кузова вагона с применением бумаги, не смазанной жидким стеклом, запрещается. Поверхность вагона, на которую наклеивают бумагу, предварительно очищают от пыли.
Зазоры в местах соединения крыши с обшивкой боковых и торцевых стен заклеивают полосами бумаги шириной 150 мм симметрично по отношению к зазору по всей его длине с выходом за его границы не менее чем на 50 мм. При заклеивании зазоров составными полосами их концы в местах соединения должны накладываться один на другой на 50 - 100 мм.
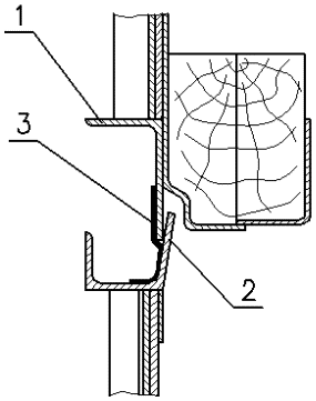
Боковые люки закрывают на закидки, которые дополнительно закрепляют проволокой. Лист бумаги размером 500 x 800 мм, покрытый с одной стороны жидким стеклом, накладывают на боковой люк изнутри вагона и приклеивают к обшивке стены (рисунок 6).
Рисунок 6 - Заделка бокового люка бумагой
1 - закидка люка; 2 - проволочная увязка; 3 - бумага;
4 - место приклеивания бумаги (заштриховано)
У печных разделок проверяют плотность прилегания крышки и скобы. Лист бумаги размером 700 x 700 мм, покрытый с одной стороны жидким стеклом, приклеивают к изоляционному кожуху каркаса печной разделки (рисунок 7).
Рисунок 7 - Заделка печной разделки бумагой
1 - место приклеивания; 2 - бумага
Не используемую для погрузки дверь вагона закрывают, запирают дверной накладкой и фиксируют снаружи деревянными клиньями. Зазоры между дверью и рамой дверного проема, полом заклеивают изнутри вагона полосами бумаги шириной 150 мм по всему периметру дверного проема.
Зазоры в дверном проеме двери вагона, используемой для погрузки, после окончания погрузки заделывают бумажными полосами с валиками следующим образом. На бумажную полосу шириной 200 мм с одного края вдоль полосы на ширину 50 мм наносят жидкое стекло, затем полоса складывается вдвое без перегиба и края склеиваются так, чтобы в средней части полосы образовался валик. Полосы с валиками промазывают жидким стеклом с одной стороны склеенного края на ширину 50 мм и приклеивают к вертикальным стойкам дверного проема, верхнему брусу дверного проема и полу вагона так, чтобы полосы на всю ширину валика выступали за наружную раму дверного проема (рисунок 8). В местах соединения края валиков вставляют один в другой на 30 - 50 мм для исключения разрывов. После приклеивания валиков на них наносится жидкое стекло. Затем дверь вагона осторожно закрывают, чтобы не повредить (не смять) валики, которые должны плотно прилегать к двери. Дверь фиксируют деревянными клиньями.
Рисунок 8 - Заделка зазоров двери вагона, используемой
для погрузки, бумагой
1 - место приклеивания; 2 - деревянный клин;
3 - валик из бумаги
Для заделки зазоров в крытых вагонах стеклотканью используют стеклоткань любых марок неразреженной структуры и клеевые составы, отвечающие требованиям пожарной безопасности.
Поверхность вагона, на которую наклеивают стеклоткань, очищают от пыли.
Зазоры в местах соединения крыши с обшивкой боковых и торцевых стен (при их наличии), боковые люки, печную разделку заклеивают изнутри вагона стеклотканью так же, как и бумагой.
Двери вагона фиксируют снаружи деревянными клиньями. Зазоры в дверном проеме устраняют полосами стеклоткани шириной 200 - 250 мм, которые приклеивают:
- в месте соединения вертикальных стоек дверного проема со створкой двери (рисунок 9);
- в месте соединения пола со створкой двери и порогом дверного проема (рисунок 10);
- в месте соединения створки двери с направляющим рельсом (рисунок 11).
Заделка зазора между створками двери (рисунок 12) осуществляется наклеиванием полос стеклоткани шириной 150 - 200 мм по всей длине зазора.
Рисунок 9 - Заделка зазоров между вертикальными стойками
дверного проема и створкой двери
1 - стойка дверного проема; 2 - створка двери;
3 - стеклоткань
Рисунок 10 - Заделка зазора в месте соединения пола
со створкой двери и порогом дверного проема
1 - продольная балка рамы вагона; 2 - пол; 3 - стеклоткань;
4 - створка двери; 5 - порог дверного проема
Рисунок 11 - Заделка зазора в месте соединения створки двери
с направляющим рельсом
1 - балка боковой стены над дверным проемом;
2 - стеклоткань; 3 - створка двери; 4 - направляющий рельс
Рисунок 12 - Заделка зазора между створками двери
1 - створка двери с брусом левая; 2 - створка двери правая;
3 - стеклоткань
2.4. При установке печей в крытом вагоне расстояние между печью и грузом, личными вещами проводников, запасами топлива должно быть не менее 1 м.
Груз должен быть закреплен от сдвига к печи.
В вагоне устанавливают только чугунные печи на твердом топливе. Опоры чугунной печи должны обеспечивать ее устойчивое положение. Место установки печи на полу вагона изолируется кровельной сталью по листовому асбесту толщиной не менее 10 мм. Поддонный лист кровельной стали изготавливается в виде противеня с высотой бортиков не менее 15 мм и крепится к полу вагона. Печь устанавливается так, чтобы ось отверстия дымовой трубы в крышевой разделке совпадала по вертикали с осью отверстия крышки чугунной печи, а изолированный участок пола выступал за очертания печи перед топкой на 500 мм и с остальных сторон - на 250 мм. Дымовая труба выводится через печную разделку в крыше вагона. Дымовая труба должна оканчиваться искрогасительным колпачком и выводится выше крыши на 300 - 400 мм (в зависимости от габарита подвижного состава).
- Гражданский кодекс (ГК РФ)
- Жилищный кодекс (ЖК РФ)
- Налоговый кодекс (НК РФ)
- Трудовой кодекс (ТК РФ)
- Уголовный кодекс (УК РФ)
- Бюджетный кодекс (БК РФ)
- Арбитражный процессуальный кодекс
- Конституция РФ
- Земельный кодекс (ЗК РФ)
- Лесной кодекс (ЛК РФ)
- Семейный кодекс (СК РФ)
- Уголовно-исполнительный кодекс
- Уголовно-процессуальный кодекс
- Производственный календарь на 2025 год
- МРОТ 2026
- ФЗ «О банкротстве»
- О защите прав потребителей (ЗОЗПП)
- Об исполнительном производстве
- О персональных данных
- О налогах на имущество физических лиц
- О средствах массовой информации
- Производственный календарь на 2026 год
- Федеральный закон "О полиции" N 3-ФЗ
- Расходы организации ПБУ 10/99
- Минимальный размер оплаты труда (МРОТ)
- Календарь бухгалтера на 2026 год
- Частичная мобилизация: обзор новостей
- Постановление Правительства РФ N 1875








