┌────────────────────────────────┬────────────────────────────────────────┐
│ Параметр │ Значение параметра │
├────────────────────────────────┼────────────────────────────────────────┤
│Линия передачи │симметричная пара или коаксиальная пара │
├────────────────────────────────┼────────────────────────────────────────┤
│Измерительное нагрузочное │ │
│сопротивление, Ом │ │
├────────────────────────────────┼────────────────────────────────────────┤
│значение посылки, В │ │
│1) коаксиальная пара │ от 0,75 до 1,5 │
│2) симметричная пара │ от 1,0 до 1,9 │
├────────────────────────────────┼────────────────────────────────────────┤
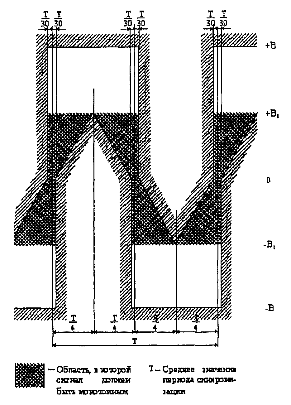
│Номинальная длительность │ 244 │
│импульса при любом типе кабеля, │ │
│нс │ │
├────────────────────────────────┼────────────────────────────────────────┤
│Форма импульса │ согласно рисунку │
└────────────────────────────────┴────────────────────────────────────────┘
2. Затухание соединительной линии на частоте 2048 кГц от 0 до 6 дБ.
3. Размах фазового дрожания на выходе при измерении его в пределах диапазона частот от 20 Гц до 100 кГц не превышает 0,05 единичного интервала.
4. Затухание отражения на входе на частоте 2048 кГц составляет не менее 15 дБ.
5. Внешний проводник коаксиальной пары или экран симметричной пары заземляется на входе и выходе. Величина сопротивления между клеммой защитного заземления и любой металлической нетоковедущей частью оборудования, доступной для прикосновения, не превышает 0,1 Ом.
6. Обеспечивается защита от перенапряжений до 500 В.

- Гражданский кодекс (ГК РФ)
- Жилищный кодекс (ЖК РФ)
- Налоговый кодекс (НК РФ)
- Трудовой кодекс (ТК РФ)
- Уголовный кодекс (УК РФ)
- Бюджетный кодекс (БК РФ)
- Арбитражный процессуальный кодекс
- Конституция РФ
- Земельный кодекс (ЗК РФ)
- Лесной кодекс (ЛК РФ)
- Семейный кодекс (СК РФ)
- Уголовно-исполнительный кодекс
- Уголовно-процессуальный кодекс
- Производственный календарь на 2025 год
- МРОТ 2026
- ФЗ «О банкротстве»
- О защите прав потребителей (ЗОЗПП)
- Об исполнительном производстве
- О персональных данных
- О налогах на имущество физических лиц
- О средствах массовой информации
- Производственный календарь на 2026 год
- Федеральный закон "О полиции" N 3-ФЗ
- Расходы организации ПБУ 10/99
- Минимальный размер оплаты труда (МРОТ)
- Календарь бухгалтера на 2026 год
- Частичная мобилизация: обзор новостей
- Постановление Правительства РФ N 1875