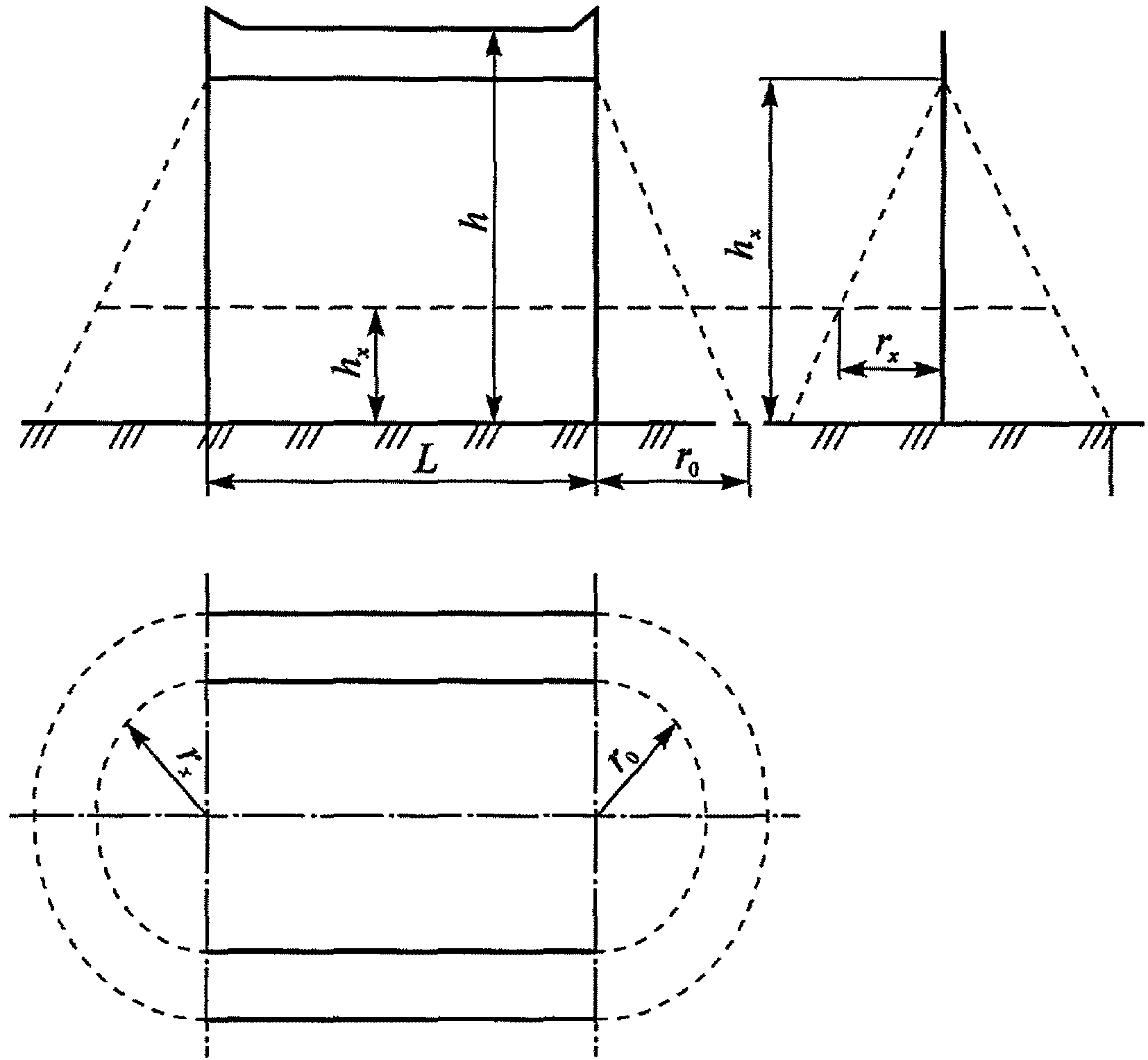
Стандартные зоны защиты одиночного тросового молниеотвода высотой h ограничены симметричными двускатными поверхностями, образующими в вертикальном сечении равнобедренный треугольник с вершиной на высоте h0 < h и основанием на уровне земли 2r0 (рис. 3.2).
Приведенные ниже расчетные формулы (табл. 3.5) пригодны для молниеотводов высотой до 150 м. При большей высоте следует пользоваться специальным программным обеспечением. Здесь и далее под h понимается минимальная высота троса над уровнем земли (с учетом провеса).
Рис. 3.2. Зона защиты одиночного тросового молниеотвода:
L - расстояние между точками подвеса тросов
Расчет зоны защиты одиночного тросового молниеотвода
|
От 0 до 150 |
0,87h |
1,5h |
|
|
От 0 до 30 |
0,8h |
0,95h |
|
|
От 30 до 100 |
0,8h |
[0,95 - 7,14·10-4 (h - 30)] h |
|
|
От 100 до 150 |
0,8h |
[0,9 - 10-3 (h - 100)] h |
|
|
От 0 до 30 |
0,75h |
0,7h |
|
|
От 30 до 100 |
[0,75 - 4,28·10-4 (h - 30)] h |
[0,7 - 1,43·10-3 (h - 30)] h |
|
|
От 100 до 150 |
[0,72 - 10-3 (h - 100)] h |
[0,6 - 10-3 (h - 100)] h |
Полуширина rx зоны защиты требуемой надежности (см. рис. 3.2) на высоте hx от поверхности земли определяется выражением
При необходимости расширить защищаемый объем к торцам зоны защиты собственно тросового молниеотвода могут добавляться зоны защиты несущих опор, которые рассчитываются по формулам одиночных стержневых молниеотводов, представленным в табл. 3.4. В случае больших провесов тросов, например у воздушных линий электропередачи, рекомендуется рассчитывать обеспечиваемую вероятность прорыва молнии программными методами, поскольку построение зон защиты по минимальной высоте троса в пролете может привести к неоправданным запасам.
- Гражданский кодекс (ГК РФ)
- Жилищный кодекс (ЖК РФ)
- Налоговый кодекс (НК РФ)
- Трудовой кодекс (ТК РФ)
- Уголовный кодекс (УК РФ)
- Бюджетный кодекс (БК РФ)
- Арбитражный процессуальный кодекс
- Конституция РФ
- Земельный кодекс (ЗК РФ)
- Лесной кодекс (ЛК РФ)
- Семейный кодекс (СК РФ)
- Уголовно-исполнительный кодекс
- Уголовно-процессуальный кодекс
- Производственный календарь на 2025 год
- МРОТ 2026
- ФЗ «О банкротстве»
- О защите прав потребителей (ЗОЗПП)
- Об исполнительном производстве
- О персональных данных
- О налогах на имущество физических лиц
- О средствах массовой информации
- Производственный календарь на 2026 год
- Федеральный закон "О полиции" N 3-ФЗ
- Расходы организации ПБУ 10/99
- Минимальный размер оплаты труда (МРОТ)
- Календарь бухгалтера на 2026 год
- Частичная мобилизация: обзор новостей
- Постановление Правительства РФ N 1875

.