Приложение N 4. Требования к параметрам мощности передатчика БС в зависимости от времени
к Правилам
применения базовых станций
и ретрансляторов систем
подвижной радиотелефонной связи.
Часть II. Правила применения
подсистем базовых станций
и ретрансляторов сетей
подвижной радиотелефонной
связи стандарта GSM 900/1800
К ПАРАМЕТРАМ МОЩНОСТИ ПЕРЕДАТЧИКА БС
В ЗАВИСИМОСТИ ОТ ВРЕМЕНИ
1. При гауссовской модуляции минимальным сдвигом изменение мощности передачи БС от времени находится в границах, приведенных на рисунке 1.

Рисунок 1. Маска при гауссовской модуляции
минимальным сдвигом
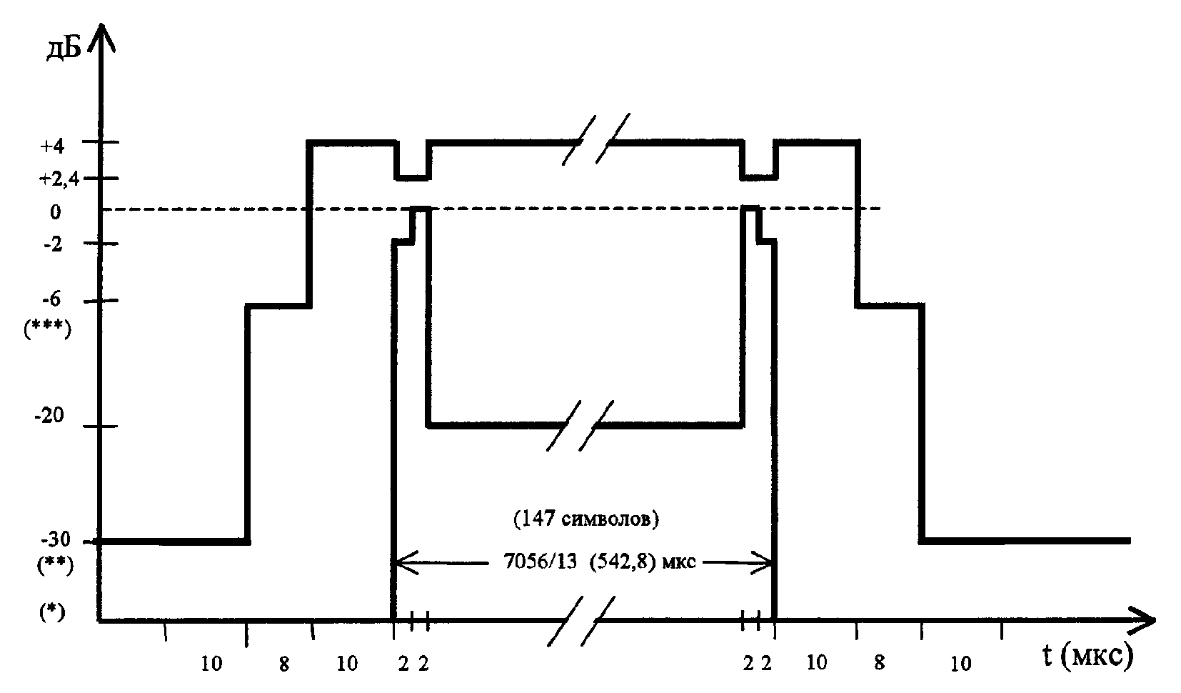
2. При 8-позиционной фазовой модуляции изменение мощности передачи БС от времени находится в границах, приведенных на рисунке 2.

- Гражданский кодекс (ГК РФ)
- Жилищный кодекс (ЖК РФ)
- Налоговый кодекс (НК РФ)
- Трудовой кодекс (ТК РФ)
- Уголовный кодекс (УК РФ)
- Бюджетный кодекс (БК РФ)
- Арбитражный процессуальный кодекс
- Конституция РФ
- Земельный кодекс (ЗК РФ)
- Лесной кодекс (ЛК РФ)
- Семейный кодекс (СК РФ)
- Уголовно-исполнительный кодекс
- Уголовно-процессуальный кодекс
- Производственный календарь на 2025 год
- МРОТ 2025
- ФЗ «О банкротстве»
- О защите прав потребителей (ЗОЗПП)
- Об исполнительном производстве
- О персональных данных
- О налогах на имущество физических лиц
- О средствах массовой информации
- Производственный календарь на 2026 год
- Федеральный закон "О полиции" N 3-ФЗ
- Расходы организации ПБУ 10/99
- Минимальный размер оплаты труда (МРОТ)
- Календарь бухгалтера на 2025 год
- Частичная мобилизация: обзор новостей
- Постановление Правительства РФ N 1875