┌─────────┬────────────────┬───────────────────────────────────────┬───────┐
│Скорость │Размах фазового │ Частота │Псевдо-│
│цифрового│ дрожания, ЕИ │ │случай-│
│сигнала, ├────┬──┬───┬────┼─────┬──────┬────┬─────┬───┬───┬───┬───┤ный ис-│
│ Мбит/с │ A0 │A1│A2 │ A3 │ f0 │ f10 │ f9 │ f8 │ f1│ f2│f3 │ f4│пыта- │
│ │ │ │ │ │ │ │ │ │ │ │ │ │тельный│
│ │ │ │ │ │ │ │ │ │ │ │ │ │сигнал │
├─────────┼────┼──┼───┼────┼─────┼──────┼────┼─────┼───┼───┼───┼───┼───────┤
│ 2,048 │36,9│18│1,5│0,2 │1,2 x│4,88 x│0,01│1,667│20 │2,4│18 │100│ 15 │
│ │(18 │ │ │ │ -5 │ -3 │ Гц │ Гц │ Гц│кГц│кГц│кГц│2 - 1│
│ │мкс)│ │ │ │10 │10 │ │ │ │ │ │ │ │
│ │ │ │ │ │ Гц │ Гц │ │ │ │ │ │ │ │
├─────────┼────┼──┼───┼────┼─────┼──────┼────┼─────┼───┼───┼───┼───┼───────┤
│ 34,368 │ - │ -│1,5│0,15│ - │ - │ - │ - │100│ 1 │10 │800│ 23 │
│ │ │ │ │ │ │ │ │ │ Гц│кГц│кГц│кГц│2 - 1│
├─────────┴────┴──┴───┴────┴─────┴──────┴────┴─────┴───┴───┴───┴───┴───────┤
│ для 2048 кбит/с: 1 ЕИ = 488 нс; для 34368 кбит/с: 1 ЕИ = 29,1 нс │
└──────────────────────────────────────────────────────────────────────────┘
4.6.2. Нижний предел максимально допустимого фазового дрожания и дрейфа фазы на входе цифрового стыка в коде HDB-2 или HDB-3 для 51,84 Мбит/с приведен на рисунке 9.

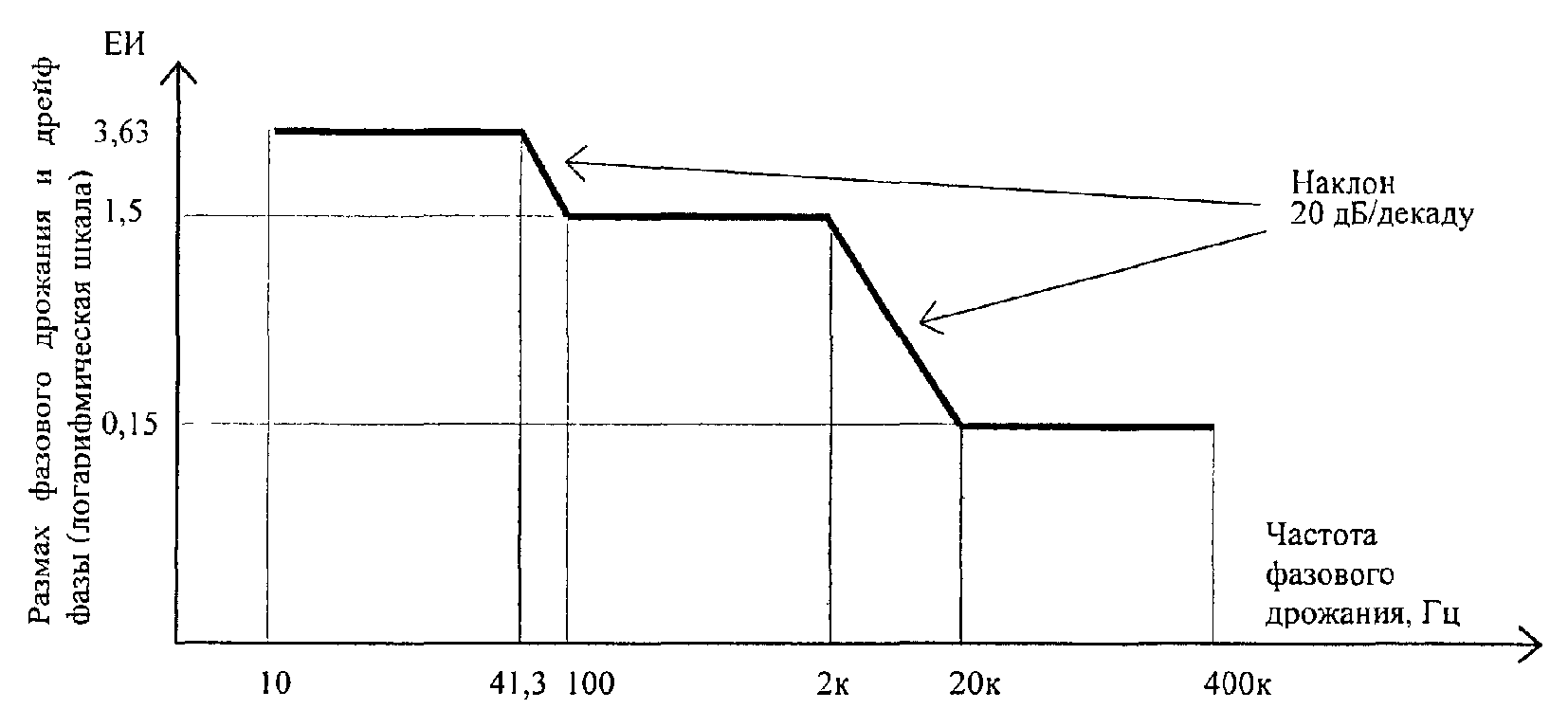
4.6.3. Нижний предел максимально допустимого фазового дрожания и дрейфа фазы на входе цифрового стыка 155,520 Мбит/с приведен на рисунке 10. Размах и частота фазового дрожания или дрейфа фазы на входе цифрового интерфейса 155,520 Мбит/с приведены в таблице N 2.

- Гражданский кодекс (ГК РФ)
- Жилищный кодекс (ЖК РФ)
- Налоговый кодекс (НК РФ)
- Трудовой кодекс (ТК РФ)
- Уголовный кодекс (УК РФ)
- Бюджетный кодекс (БК РФ)
- Арбитражный процессуальный кодекс
- Конституция РФ
- Земельный кодекс (ЗК РФ)
- Лесной кодекс (ЛК РФ)
- Семейный кодекс (СК РФ)
- Уголовно-исполнительный кодекс
- Уголовно-процессуальный кодекс
- Производственный календарь на 2025 год
- МРОТ 2025
- ФЗ «О банкротстве»
- О защите прав потребителей (ЗОЗПП)
- Об исполнительном производстве
- О персональных данных
- О налогах на имущество физических лиц
- О средствах массовой информации
- Производственный календарь на 2026 год
- Федеральный закон "О полиции" N 3-ФЗ
- Расходы организации ПБУ 10/99
- Минимальный размер оплаты труда (МРОТ)
- Календарь бухгалтера на 2025 год
- Частичная мобилизация: обзор новостей
- Постановление Правительства РФ N 1875