┌────────────────────────────────┬───────────────────────────────┐
│ Параметр │ Значение параметра │
├────────────────────────────────┼───────────────────────────────┤
│ │ -6 │
│Тактовая частота, кГц │ 2048 x (1 +/- 50 x 10 ) │
├────────────────────────────────┼───────────────────────────────┤
│Линия передачи │ симметричный кабель или │
│ │ коаксиальный кабель │
├────────────────────────────────┼───────────────────────────────┤
│Измерительное нагрузочное │ │
│сопротивление, Ом │ │
├────────────────────────────────┼───────────────────────────────┤
│Максимальное пиковое значение │ │
│посылки, В │ │
│1) коаксиальная пара │ от 0,75 до 1,5 │
│2) симметричная пара │ от 1,0 до 1,9 │
├────────────────────────────────┼───────────────────────────────┤
│Номинальная длительность │ 244 │
│импульса при любом типе кабеля, │ │
│нс │ │
├────────────────────────────────┼───────────────────────────────┤
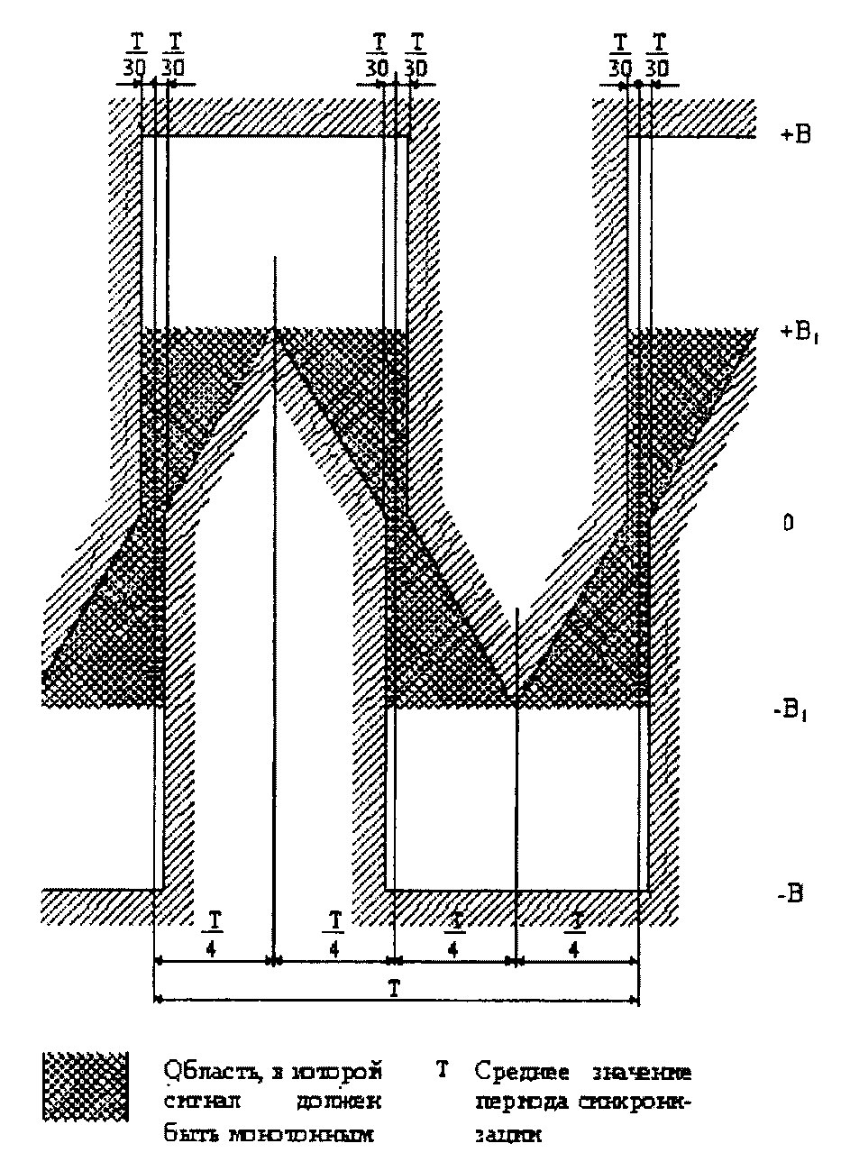
│Форма импульса │ согласно рисунку │
└────────────────────────────────┴───────────────────────────────┘
2. Затухание соединительной линии на частоте 2048 кГц составляет от 0 до 6 дБ.
3. Размах фазового дрожания на выходе при измерении его в пределах диапазона частот от 20 Гц до 100 кГц не превышает 0,05 ЕИ.
4. Затухание отражения на частоте 2048 кГц не менее 15 дБ.
5. Внешний проводник коаксиальной пары или экран симметричной пары заземляются на входе и на выходе.
6. Обеспечивается защита от перенапряжений до 500 В.

- Гражданский кодекс (ГК РФ)
- Жилищный кодекс (ЖК РФ)
- Налоговый кодекс (НК РФ)
- Трудовой кодекс (ТК РФ)
- Уголовный кодекс (УК РФ)
- Бюджетный кодекс (БК РФ)
- Арбитражный процессуальный кодекс
- Конституция РФ
- Земельный кодекс (ЗК РФ)
- Лесной кодекс (ЛК РФ)
- Семейный кодекс (СК РФ)
- Уголовно-исполнительный кодекс
- Уголовно-процессуальный кодекс
- Производственный календарь на 2025 год
- МРОТ 2025
- ФЗ «О банкротстве»
- О защите прав потребителей (ЗОЗПП)
- Об исполнительном производстве
- О персональных данных
- О налогах на имущество физических лиц
- О средствах массовой информации
- Производственный календарь на 2026 год
- Федеральный закон "О полиции" N 3-ФЗ
- Расходы организации ПБУ 10/99
- Минимальный размер оплаты труда (МРОТ)
- Календарь бухгалтера на 2025 год
- Частичная мобилизация: обзор новостей
- Постановление Правительства РФ N 1875