┌─────────┬───────────────────────────┬──────────────────────────┐
│Скорость │ Предельная норма │ Измерительный фильтр │
│передачи,├───────────────────────────┼──────────────────────────┤
│ Мбит/с │ Предельные значения │Полосовой фильтр с нижней │
│ │фазового дрожания, полный │частотой среза f1 или f3 и│
│ │ размах, измеренные │верхней частотой среза f4 │
│ │ полосовым фильтром с ├──────────────────────────┤
│ │ частотами среза <*> │Значения частот среза, кГц│
├─────────┼─────────────┬─────────────┼───────┬─────────┬────────┤
│ │(f1 и f4) B1 │(f3 и f4) B2 │ f1 │ f3 │ f4 │
│ │ │ │ │ │ │
├─────────┼─────────────┼─────────────┼───────┼─────────┼────────┤
│ 0,064 │0,25 ЕИ <**> │ 0,05 ЕИ │ 0,02 │ 3 │ 20 │
├─────────┼─────────────┼─────────────┼───────┼─────────┼────────┤
│ 2,048 │ 1,5 ЕИ │ 0,2 ЕИ │ 0,02 │ 18 │ 100 │
├─────────┼─────────────┼─────────────┼───────┼─────────┼────────┤
│ 8,448 │ 1,5 ЕИ │ 0,2 ЕИ │ 0,02 │ 3 │ 400 │
├─────────┼─────────────┼─────────────┼───────┼─────────┼────────┤
│ 34,368 │ 1,5 ЕИ │ 0,15 ЕИ │ 0,1 │ 10 │ 800 │
├─────────┴─────────────┴─────────────┴───────┴─────────┴────────┤
│ <*> Полосовой фильтр имеет нижнюю частоту среза f1 или f3 и│
│верхнюю частоту среза f4, а также спад 20 дБ на декаду. │
│ <**> ЕИ - единичный интервал, равный: │
│ 15,6 мкс для 64 кбит/с; 488 нс для 2,048 Мбит/с; │
│ 118 нс для 8,448 Мбит/с; 29,1 нс для 34,368 Мбит/с. │
└────────────────────────────────────────────────────────────────┘
5. При нарушении функционирования оборудования формируются сигналы аварийного состояния.
6. Канал передачи данных, при наличии, имеет один или несколько интерфейсов, которые соответствуют приложению 7 и приложению 25 к Правилам применения оборудования проводных и оптических систем передачи абонентского доступа, утвержденным Приказом Министерства информационных технологий и связи Российской Федерации 24 августа 2006 г., N 112 (зарегистрирован в Министерстве юстиции Российской Федерации 4 сентября 2006 г. Регистрационный N 8194).
7. Требования к параметрам оптического интерфейса, при наличии:
7.1. Длина волны оптического излучения находится в пределах от 850 до 1550 нм.
-10
7.2. Коэффициент ошибок составляет не более 10 при
затухании сигнала в оптическом кабеле не менее 30 дБ.
8. Требования к параметрам интерфейса телефонных каналов тональной частоты, при наличии:
8.1. Тип окончания - двухпроводный или четырехпроводный.
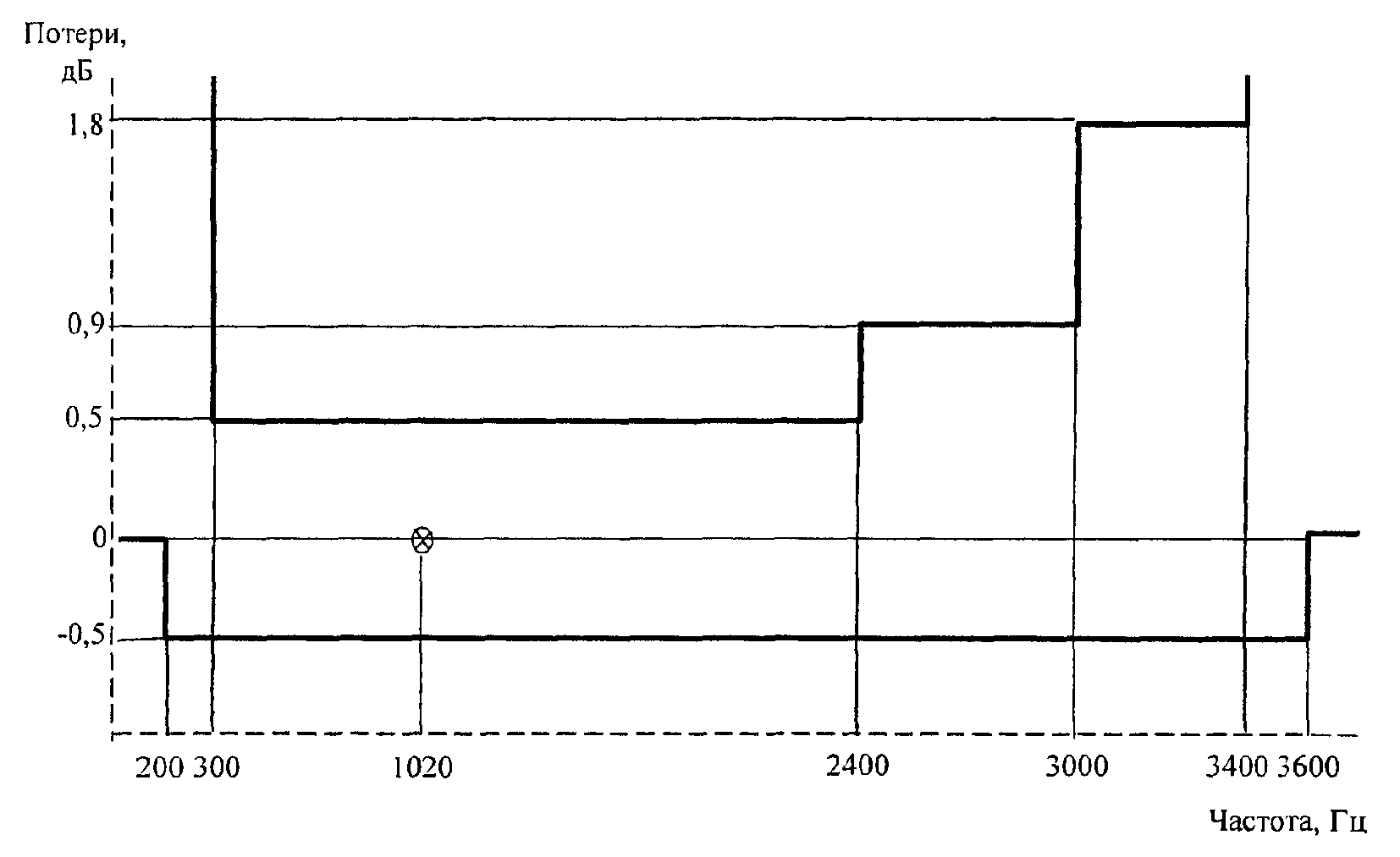
8.2. Полоса частот канала составляет 300 - 3400 Гц. Амплитудно-частотная характеристика канала для четырехпроводного окончания соответствует маске, приведенной на рисунке 8. Амплитудно-частотная характеристика канала для двухпроводного окончания соответствует маске, приведенной на рисунке 9.


8.3. Затухание несогласованности для четырехпроводного окончания составляет не менее 20 дБ в полосе частот (300 - 3400) Гц и для двухпроводного окончания составляет не менее 12 дБ в полосе частот (300 - 600) Гц и не менее 15 дБ в полосе частот (600 - 3400) Гц при номинальном значении выходного сопротивления 600 Ом (симметричное).
8.4. Уровень мощности взвешенного шума в незанятом канале составляет не более минус 65 дБм0п.
8.5. Уровень мощности любой одночастотной помехи составляет не более минус 50 дБм0.
9. В оборудовании имеется канал служебной связи.
10. Требования к системе резервирования оборудования, при наличии:
10.1. В оборудовании обеспечивается контроль работы системы резервирования, сохранение и отображение состояния радиостволов.
10.2. В системе резервирования обеспечивается:
б) ручной переход с рабочего ствола на резервный при техническом обслуживании;
в) автоматический возврат с резервного ствола на рабочий при восстановлении сигнала рабочего ствола;
г) автоматический возврат с резервного ствола на рабочий при
превышении К в резервном стволе по сравнению с рабочим.
ош
а) автоматический переход с рабочего ствола на резервный при пропадании сигнала или отказе оборудования рабочего ствола;
б) автоматический переход с рабочего ствола на резервный при неисправности оборудования безобрывного переключения;
в) возврат с резервного ствола на рабочий при обрыве резервного тракта.
а) запрет автоматического перехода рабочего ствола на резервный и обратно при техническом обслуживании или испытаниях;
б) запрет автоматического перехода с рабочего ствола на резервный при неисправности резервного.
10.2.4. В системе резервирования предусматриваются приоритеты переключения на резерв: приоритет ручного переключения над автоматическим и приоритетная очередность перехода на резерв.
11. Требования к оборудованию с целью обеспечения возможности контроля и управления:
11.1. Обеспечивается контроль и управление по следующим параметрам и сигналам:
а) приоритеты перехода стволов на резерв;
б) ручное безобрывное (обрывное) переключение с рабочего ствола на резервный;
в) запрет автоматического перехода на резервный ствол или возврат с резервного ствола при техническом обслуживании и испытаниях;
г) пропадание сигнала на входе радиоприемника (по стволам);
д) пропадание сигнала на выходе радиоприемника по стволам (на интерфейсе основной полосы частот);
е) пропадание сигнала на входе передатчика (на интерфейсе основной полосы частот);
ж) пропадание сигнала на выходе передатчика или при мощности передатчика ниже номинальной для данного режима работы (при отключенной автоматической регулировке мощности);
з) прием сигнала аварийного состояния с любого направления;
и) выдача сигнала аварийного состояния;
к) неисправность блока или платы;
11.2. Обеспечивается контроль следующих параметров с использованием информации от внутренних датчиков оборудования:
а) мощность сигнала на выходе передатчика;
б) уровень сигнала на входе приемников основного и разнесенного приема;
в) напряжение первичных и вторичных источников электропитания.
11.3. Обеспечивается выдача следующей информации о работе линии связи:
- Гражданский кодекс (ГК РФ)
- Жилищный кодекс (ЖК РФ)
- Налоговый кодекс (НК РФ)
- Трудовой кодекс (ТК РФ)
- Уголовный кодекс (УК РФ)
- Бюджетный кодекс (БК РФ)
- Арбитражный процессуальный кодекс
- Конституция РФ
- Земельный кодекс (ЗК РФ)
- Лесной кодекс (ЛК РФ)
- Семейный кодекс (СК РФ)
- Уголовно-исполнительный кодекс
- Уголовно-процессуальный кодекс
- Производственный календарь на 2025 год
- МРОТ 2025
- ФЗ «О банкротстве»
- О защите прав потребителей (ЗОЗПП)
- Об исполнительном производстве
- О персональных данных
- О налогах на имущество физических лиц
- О средствах массовой информации
- Производственный календарь на 2026 год
- Федеральный закон "О полиции" N 3-ФЗ
- Расходы организации ПБУ 10/99
- Минимальный размер оплаты труда (МРОТ)
- Календарь бухгалтера на 2025 год
- Частичная мобилизация: обзор новостей
- Постановление Правительства РФ N 1875