4. Группа процедур представления сведений об обороте маркированных товаров
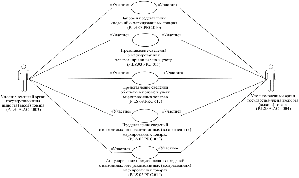
15. В случае поступления (в соответствии с абзацем четыре Статьи 9 Соглашения) от хозяйствующего субъекта в национальный компонент информационной системы маркировки товаров государства-члена информации, содержащей сведения о средствах идентификации, нанесенных на приобретенные в рамках трансграничной торговли товары и (или) на их единичную потребительскую упаковку, групповые или транспортные упаковки, и при условии отсутствия сведений о таких товарах в национальном компоненте информационной системы маркировки товаров, уполномоченный орган государства-члена импорта (ввоза) товара направляет запрос, содержащий сведения о средствах идентификации, нанесенных на приобретенные товары и (или) на единичную потребительскую упаковку, групповые или транспортные упаковки, в уполномоченный орган государства-члена экспорта (вывоза) товара. Уполномоченный орган государства-члена экспорта (вывоза) товара формирует и представляет в уполномоченный орган государства-члена импорта (ввоза) товара ответ, содержащий сведения о товарах, маркированных средствами идентификации, указанными в запросе, в том числе сведения о товарах, включенных в единичную потребительскую упаковку товара и (или) в групповые или транспортные упаковки, а также сведения о статусе таких товаров, либо информацию об отсутствии запрашиваемых сведений. При осуществлении информационного взаимодействия выполняется процедура "Запрос и представление сведений о маркированных товарах" (P.LS.03.PRC.010).
В случае поступления от хозяйствующего субъекта в национальный компонент информационной системы маркировки товаров государства-члена сведений о приеме к учету приобретенных в рамках трансграничной торговли маркированных товаров, уполномоченный орган государства-члена импорта (ввоза) товара формирует и направляет сведения о принятых к учету маркированных товарах и средствах их идентификации в уполномоченный орган государства-члена экспорта (вывоза) товара. Уполномоченный орган государства-члена экспорта (вывоза) товара, осуществляет прием и обработку полученных сведений. При осуществлении информационного взаимодействия выполняется процедура "Представление сведений о маркированных товарах, принимаемых к учету" (P.LS.03.PRC.011).
В случае поступления от хозяйствующего субъекта в национальный компонент информационной системы маркировки товаров государства-члена сведений об отказе в приеме к учету приобретенных в рамках трансграничной торговли маркированных товаров, уполномоченный орган государства-члена импорта (ввоза) товара, формирует и направляет сведения о маркированных товарах и средствах их идентификации, в приеме к учету которых было отказано, в уполномоченный орган государства-члена экспорта (вывоза) товара. Уполномоченный орган государства-члена экспорта (вывоза) товара осуществляет прием и обработку полученных сведений. При осуществлении информационного взаимодействия выполняется процедура "Представление сведений об отказе в приеме к учету маркированных товаров" (P.LS.03.PRC.012).
В случае поступления от хозяйствующего субъекта в национальный компонент информационной системы маркировки товаров одного из следующих видов сведений:
о вывозимых с территории государства-члена в другое государство-член маркированных товарах и нанесенных на них средствах идентификации (пункты 18 и 25 базовой модели системы маркировки товаров);
о реализованных (возвращенных) маркированных товарах и нанесенных на них средствах идентификации, ранее вывезенных с территории государства-члена в целях, не связанных с их реализацией в рамках трансграничной торговли (пункт 27 базовой модели системы маркировки товаров);
о маркированных товарах и нанесенных на них средствах идентификации, произведенных производителем одного государства-члена на основании договора с участником оборота товаров (заказчиком) другого государства-члена с использованием сырья и (или) товарного знака заказчика и реализованных на территории государства-члена производителя без их физического перемещения с территории государства-члена производителя (абзац шесть пункта 29 базовой модели системы маркировки товаров);
о маркированных товарах и нанесенных на них средствах идентификации, произведенных производителем одного государства-члена на основании договора с участником оборота товаров (заказчиком) другого государства-члена с использованием сырья и (или) товарного знака заказчика и вывозимых с территории государства-члена производителя товара в целях их реализации на территории иного государства-члена, за исключением территории государства-члена заказчика (абзац седьмой пункта 29 базовой модели системы маркировки товаров);
о маркированных товарах и нанесенных на них средствах идентификации, произведенных производителем одного государства-члена на основании договора с участником оборота товаров (заказчиком) другого государства-члена с использованием сырья и (или) товарного знака заказчика и вывозимых с территории государства-члена производителя товара на территорию государства-члена заказчика,
уполномоченный орган государства-члена экспорта (вывоза) товара направляет полученную информацию уполномоченному органу государства-члена импорта (ввоза) товара. Уполномоченный орган государства-члена импорта (ввоза) товара осуществляет прием и обработку таких сведений. При осуществлении информационного взаимодействия выполняется процедура "Представление сведений о вывозимых или реализованных (возвращенных) маркированных товарах" (P.LS.03.PRC.013).
В случае поступления от хозяйствующего субъекта в национальный компонент информационной системы маркировки товаров информации о необходимости аннулирования ранее представленной информации о вывозимых маркированных товарах и нанесенных на них средствах идентификации и в случае, если ранее уполномоченным органом государства-члена экспорта (вывоза) товара была выполнена в отношении указанной информации процедура "Представление сведений о вывозимых или реализованных (возвращенных) маркированных товарах" (P.LS.03.PRC.013), уполномоченный орган государства-члена экспорта (вывоза) товара направляет полученную информацию уполномоченному органу государства-члена импорта (ввоза) товара. Уполномоченный орган государства-члена импорта (ввоза) товара осуществляет прием и обработку полученных сведений. При осуществлении информационного взаимодействия выполняется процедура "Аннулирование представленных сведений о вывозимых или реализованных (возвращенных) маркированных товарах" (P.LS.03.PRC.014).
16. Приведенное описание группы процедур представления сведений об обороте маркированных товаров представлено на рисунке 2.
Рис. 2. Общая схема группы процедур представления сведений
об обороте маркированных товаров
17. Перечень процедур общего процесса, входящих в группу процедур представления сведений об обороте маркированных товаров, приведен в таблице 2.
Перечень процедур общего процесса,
входящих в группу процедур представления сведений
об обороте маркированных товаров
- Гражданский кодекс (ГК РФ)
- Жилищный кодекс (ЖК РФ)
- Налоговый кодекс (НК РФ)
- Трудовой кодекс (ТК РФ)
- Уголовный кодекс (УК РФ)
- Бюджетный кодекс (БК РФ)
- Арбитражный процессуальный кодекс
- Конституция РФ
- Земельный кодекс (ЗК РФ)
- Лесной кодекс (ЛК РФ)
- Семейный кодекс (СК РФ)
- Уголовно-исполнительный кодекс
- Уголовно-процессуальный кодекс
- Производственный календарь на 2025 год
- МРОТ 2026
- ФЗ «О банкротстве»
- О защите прав потребителей (ЗОЗПП)
- Об исполнительном производстве
- О персональных данных
- О налогах на имущество физических лиц
- О средствах массовой информации
- Производственный календарь на 2026 год
- Федеральный закон "О полиции" N 3-ФЗ
- Расходы организации ПБУ 10/99
- Минимальный размер оплаты труда (МРОТ)
- Календарь бухгалтера на 2026 год
- Частичная мобилизация: обзор новостей
- Постановление Правительства РФ N 1875
