к правилам вида спорта
"практическая стрельба"
Список изменяющих документов
(в ред. Приказа Минспорта России от 12.01.2021 N 5)
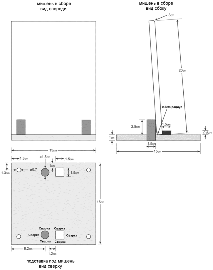
Эти мишени предоставляют возможность точного и однообразного восстановления и очень надежны. Они выдерживают многократные попадания.
Тарелки могут быть ориентированы вертикально и горизонтально.
На основании могут быть установлены тарелки различных размеров.
Основания могут быть для надежности прибиты или привинчены к дереву или даже к земле (15 см штырями). К основанию могут быть приварены металлические или прикреплены деревянные штыри для установки в землю. Мишень может быть любой толщины, но рекомендованный минимум - 1 см. Чем тяжелее тарелка, тем меньше она отлетает после попадания в нее. В тарелке можно просверлить отверстие и закрепить ее на цепь с целью сокращения расстояния, на которое она отлетает после попадания в нее.
Могут использоваться тарелки различных размеров между 15 см x 15 см (минимум) до 45 см x 30 см (максимум). Наиболее предпочтительным являются размеры: 15 см x 15 см, 20 см x 20 см и 25 см x 25 см.
(абзац введен Приказом Минспорта России от 12.01.2021 N 5)
- Гражданский кодекс (ГК РФ)
- Жилищный кодекс (ЖК РФ)
- Налоговый кодекс (НК РФ)
- Трудовой кодекс (ТК РФ)
- Уголовный кодекс (УК РФ)
- Бюджетный кодекс (БК РФ)
- Арбитражный процессуальный кодекс
- Конституция РФ
- Земельный кодекс (ЗК РФ)
- Лесной кодекс (ЛК РФ)
- Семейный кодекс (СК РФ)
- Уголовно-исполнительный кодекс
- Уголовно-процессуальный кодекс
- Производственный календарь на 2025 год
- МРОТ 2025
- ФЗ «О банкротстве»
- О защите прав потребителей (ЗОЗПП)
- Об исполнительном производстве
- О персональных данных
- О налогах на имущество физических лиц
- О средствах массовой информации
- Производственный календарь на 2026 год
- Федеральный закон "О полиции" N 3-ФЗ
- Расходы организации ПБУ 10/99
- Минимальный размер оплаты труда (МРОТ)
- Календарь бухгалтера на 2025 год
- Частичная мобилизация: обзор новостей
- Постановление Правительства РФ N 1875
