к Уставу гарнизонной и караульной
служб Вооруженных Сил
Российской Федерации
(к статьям 119, 128 и 301)
1. Территория, на которой расположены охраняемые объекты, должна быть ограждена забором (деревянным, проволочным и т.п.). Территория, на которой расположены объекты окружного (флотского), центрального подчинения и другие важные объекты (склады со взрывчатыми веществами, боеприпасами, горючим и т.п.), должна иметь внешнее и внутреннее ограждения высотой не менее 2 метров с расстоянием между проволочными нитями не более 15 сантиметров. Расстояние между внешним и внутренним ограждениями определяется в зависимости от местных условий, типа установленных периметровых технических средств охраны и может быть 10 метров и более. Между ограждениями оборудуются тропа (путь) для движения часовых и контрольно-следовая полоса шириной не менее 5 метров, примыкающая к внешней стороне ограждения.
Входные ворота (калитки) хранилищ (складов, парков), стоянок с вооружением, военной техникой и другим военным имуществом оборудуются техническими средствами охраны. В местах, где на технике размещены вооружение и боекомплект к нему, устанавливаются объектовые средства обнаружения. Сигналы от средств обнаружения выводятся в пультовую караульного помещения на пульт помощника начальника караула (оператора) по техническим средствам охраны.
На посту часовому должен быть обеспечен возможно больший обзор и обстрел (не менее 50 метров), а на маршруте движения часового не должно быть скрытых подступов (зданий, сооружений и т.п.), которые могут способствовать внезапному нападению на часового. Территория поста и вокруг него должна быть очищена от кустарника, деревья прорежены, нижние сучья обрублены на высоту 2,5 метра, трава скошена, лишние предметы убраны.
Для удобства наблюдения за подступами к охраняемому объекту между ограждениями (охраняемыми объектами) должны устанавливаться наблюдательные вышки, оборудованные средствами связи, сигнализацией для экстренной связи с начальником караула, подвижными прожекторами, молниезащитными устройствами, противогранатной сеткой, дверью, запирающейся изнутри, пуленепробиваемыми щитами, сигнальными и осветительными средствами, а при необходимости и приборами ночного видения. Под наблюдательной вышкой оборудуется огневая позиция для часового. Требования по оборудованию наблюдательной вышки изложены в пункте 11 настоящего приложения.
На особо важных объектах по решению командующего войсками военного округа могут устраиваться специальные инженерные сооружения с установкой в них технических средств предупреждения и воздействия и приборов наблюдения.
(см. текст в предыдущей редакции)
2. Вокруг объектов, расположенных вне территории воинской части, по согласованию с органами государственной власти и органами местного самоуправления определяются в соответствии с законодательством Российской Федерации запретные зоны или районы.
Запретная зона включает территорию, непосредственно примыкающую к территории военного объекта. Ширина запретной зоны от внешнего ограждения военного объекта устанавливается в зависимости от типа и назначения объекта (арсенал, база, склад) и составляет 100 - 400 метров. Запретный район шириной не менее 3 километров от внешнего ограждения территории военного объекта устанавливается только для военных складов ракет, боеприпасов, взрывчатых и химических веществ, легковоспламеняющихся и горючих жидкостей.
Границы запретной зоны должны быть обозначены на местности хорошо видимыми указателями с надписью на русском языке и языке того государства (субъекта Российской Федерации), на территории которого находится данный объект, например: "Запретная зона, проход (проезд) запрещен (закрыт)". Границы запретного района на местности не обозначаются.
Об установлении границ запретной зоны (района) начальник гарнизона (командир воинской части, начальник охраняемого объекта) обязан своевременно оповестить военнослужащих, а через органы государственной власти и органы местного самоуправления - население ближайших населенных пунктов. В границы запретных зон (районов) не должны входить действующие дороги общего пользования, жилые и служебные постройки, обрабатываемые поля и т.д.
3. Запретные границы постов, указывающие расстояние, ближе которого часовому запрещается допускать к посту посторонних лиц, обозначаются видимыми часовым и другим лицам днем, ночью и в условиях плохой видимости указателями с надписями с внутренней стороны поста: "Запретная граница поста", с внешней стороны поста - "Запретная граница поста. Проход (проезд) запрещен (закрыт)".
На воротах зоны хранения вооружения и военной техники боевой и строевой групп эксплуатации постоянного парка воинской части устанавливаются дополнительные щиты с надписью: "Стой! Проход (проезд) без разрешения начальника караула запрещен".
Указатели размещаются по периметру ограждения через 100 - 150 метров, размер щитов 400 x 600 миллиметров, надписи и окантовка выполняются на желтом фоне красной краской.
Границы постов, определяющие место или участок местности, на которых часовые исполняют свои обязанности, обозначаются видимыми часовым днем, ночью и в условиях плохой видимости указателями с надписью: "Граница поста".
Границы постов, как правило, должны совпадать с их внешним ограждением, а на территории объектов, имеющих несколько постов, границы каждого поста обозначаются на местности видимыми для часовых указателями, например: "Граница поста N 2" (надписи и окантовка выполняются на желтом фоне черной краской).
4. Для обороны наиболее важных объектов и караульного помещения, находящихся вне военных городков, отрываются и оборудуются окопы с таким расчетом, чтобы из них простреливались подступы к посту (караульному помещению) и была по возможности обеспечена огневая связь с соседними постами. Окоп оборудуется средствами связи с караульным помещением.
5. В ночное время подступы к посту и охраняемому объекту должны быть освещены. Освещение устраивается так, чтобы часовой, находясь на наблюдательной вышке или продвигаясь по маршруту движения, находился все время в тени.
6. Каждый пост оборудуется двухсторонней телефонной (селекторной) и по возможности резервной радиосвязью, а для экстренной связи с караульным помещением - средствами тревожно-вызывной сигнализации на маршруте движения часового. Средства связи должны обеспечивать часовому (кроме неподвижных) не менее чем с двух точек, а при охране объектов способом патрулирования - через каждые 250 метров движения немедленный вызов начальника караула или резервной группы караула.
7. Внутренние посты, особенно у Боевого знамени, должны иметь ограждение высотой 0,7 - 1 метр и освещение. Посты на гауптвахте оборудуются так, чтобы обеспечить надежную защиту военнослужащих, несущих службу, от нападения лиц, содержащихся на гауптвахте.
На контрольно-пропускном посту должно быть ограждение, обеспечивающее защиту часового от внешнего нападения, а на входных контрольно-пропускных постах, кроме того, и турникет. Образцы пропусков должны находиться в закрытых витринах, обеспечивающих их скрытность для посетителей, и опечатываться печатью лица, организующего пропускной режим и охрану объекта.
8. На каждом посту, непосредственно у охраняемых объектов, должны быть средства пожаротушения: огнетушители, ящики с песком, бочки с водой, ведра и инвентарь (лопаты, топоры, ломы, багры).
9. На наружном посту должен находиться специально оборудованный для хранения постовой одежды постовой гриб; на внутреннем посту - шкаф или вешалка для верхней одежды. Постовой гриб окрашивается под цвет охраняемого объекта или под цвет окружающей местности.
10. Указания по оборудованию объектов техническими средствами охраны изложены в подразделе "Охрана объектов с применением технических средств охраны" настоящего Устава.
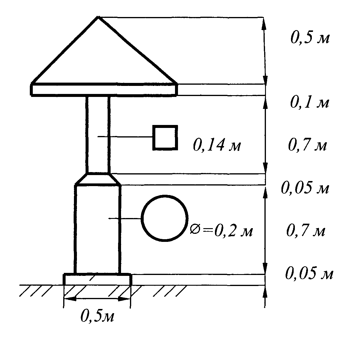
11. Наблюдательная вышка представляет собой секционную конструкцию, где нижние секции обеспечивают общую жесткость конструкции и позволяют устанавливать на них защищенную кабину на заданной высоте даже в районах со шквальной ветряной обстановкой и в сейсмоопасных районах. Наблюдательная вышка должна быть такой высоты, которая позволяет часовому производить осмотр охраняемой территории. Доступ к кабине осуществляется по лестнице, которая должна иметь безопасное исполнение, конструкция ступеней и верхней площадки должны исключать накапливание воды, проваливание и соскальзывание ног. Входная дверь кабины должна открываться наружу и закрываться изнутри. В конструкциях кабины наблюдательной вышки и укрытия должны быть предусмотрены бойницы, упоры для стрельбы, а также приспособления для размещения, временного хранения и пуска сигнальных ракет, средств защиты и приборов ночного видения. Вышка оборудуется средствами связи (телефон, устройство внутренней связи, радиостанция) и тревожно-вызывной сигнализацией, обеспечивающими связь как из кабины вышки, так и из укрытия-окопа. Люк для экстренного покидания должен открываться (отодвигаться) внутрь наблюдательной вышки. Наружная часть наблюдательной вышки окрашивается под цвет охраняемого объекта или под цвет окружающей местности.
Наблюдательная вышка должна иметь следующие параметры:
высота установки кабины от поверхности земли - не менее 5 метров;
размеры кабины: высота - не менее 250 сантиметров, длина и ширина - не менее 250 сантиметров, высота крыши - не менее 40 сантиметров;
размеры бойниц: высота - не менее 15 сантиметров, ширина - не менее 35 сантиметров;
размеры входной двери: высота - не менее 180 сантиметров, ширина - не менее 60 сантиметров;
размеры люка для экстренной эвакуации: длина и ширина - не менее 80 сантиметров.
Конструкция наблюдательной вышки должна обеспечивать:
защиту часового от поражения стрелковым оружием и осколками гранат;
возможность кругового обзора подступов к охраняемым объектам в дневное и ночное время и огневого поражения противника, исключать наличие "мертвых зон", конструктивное исполнение (форма) бойницы должно исключать рикошет пули (осколков) внутрь кабины;
возможность и удобство покидания наблюдательной вышки в экстренном случае;
устойчивость к воздействию климатических условий;
выполнение требований электро- и противопожарной безопасности, удобство замены ламп в прожекторах.


Элементы ограждения объекта и оборудования поста


- Гражданский кодекс (ГК РФ)
- Жилищный кодекс (ЖК РФ)
- Налоговый кодекс (НК РФ)
- Трудовой кодекс (ТК РФ)
- Уголовный кодекс (УК РФ)
- Бюджетный кодекс (БК РФ)
- Арбитражный процессуальный кодекс
- Конституция РФ
- Земельный кодекс (ЗК РФ)
- Лесной кодекс (ЛК РФ)
- Семейный кодекс (СК РФ)
- Уголовно-исполнительный кодекс
- Уголовно-процессуальный кодекс
- Производственный календарь на 2025 год
- МРОТ 2025
- ФЗ «О банкротстве»
- О защите прав потребителей (ЗОЗПП)
- Об исполнительном производстве
- О персональных данных
- О налогах на имущество физических лиц
- О средствах массовой информации
- Производственный календарь на 2026 год
- Федеральный закон "О полиции" N 3-ФЗ
- Расходы организации ПБУ 10/99
- Минимальный размер оплаты труда (МРОТ)
- Календарь бухгалтера на 2025 год
- Частичная мобилизация: обзор новостей
- Постановление Правительства РФ N 1875