24. Пример практической задачи:
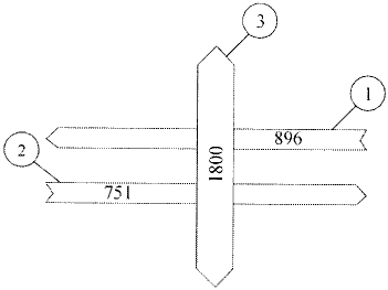
Рассчитайте режим работы светофорной сигнализации для локального пешеходного перехода, ширина проезжей части которого составляет 15 м при ширине полосы движения 3,75 м. В потоке преобладают легковые автомобили. Картограмма интенсивности движения транспортных и пешеходных потоков приведена на рисунке 1.
Рисунок 1. Картограмма интенсивности движения транспортных и пешеходных потоков
25. Пример вопросов для промежуточного и итогового контроля:
1) перечислите параметры эффективности организации дорожного движения;
2) дайте определение термина "уровень обслуживания дорожного движения".
- Гражданский кодекс (ГК РФ)
- Жилищный кодекс (ЖК РФ)
- Налоговый кодекс (НК РФ)
- Трудовой кодекс (ТК РФ)
- Уголовный кодекс (УК РФ)
- Бюджетный кодекс (БК РФ)
- Арбитражный процессуальный кодекс
- Конституция РФ
- Земельный кодекс (ЗК РФ)
- Лесной кодекс (ЛК РФ)
- Семейный кодекс (СК РФ)
- Уголовно-исполнительный кодекс
- Уголовно-процессуальный кодекс
- Производственный календарь на 2025 год
- МРОТ 2026
- ФЗ «О банкротстве»
- О защите прав потребителей (ЗОЗПП)
- Об исполнительном производстве
- О персональных данных
- О налогах на имущество физических лиц
- О средствах массовой информации
- Производственный календарь на 2026 год
- Федеральный закон "О полиции" N 3-ФЗ
- Расходы организации ПБУ 10/99
- Минимальный размер оплаты труда (МРОТ)
- Календарь бухгалтера на 2026 год
- Частичная мобилизация: обзор новостей
- Постановление Правительства РФ N 1875
