Обрезные пиломатериалы в пакетах длиной 3,0 - 6,6 м, сформированных с использованием стальной или полимерной ленты
Обрезные пиломатериалы в пакетах длиной 3,0 - 6,6 м,
сформированных с использованием стальной
или полимерной ленты
3.4.28. При формировании пакетов пиломатериалов должны выполняться следующие общие положения.
Пакеты должны иметь форму прямоугольного параллелепипеда. Пиломатериалы в пакете должны быть уложены вплотную друг к другу. Торцы пакета должны быть выровнены (рисунок 49).
а) пакет из пиломатериалов одной длины;
б) пакет из пиломатериалов смежных длин
В пакет должны быть уложены пиломатериалы одной ширины и толщины и не более трех смежных значений длины. Допускается укладывать в пакет пиломатериалы разной ширины при условии соблюдения одинаковой ширины всех ярусов (рядов) пакета. Допускается укладывать в пакет пиломатериалы разной длины со стыкованием по длине, за исключением пакетов, размещаемых в "шапке". В таких случаях не менее чем в двух верхних и двух нижних ярусах пакета, в ярусах над и под прокладками должны быть уложены пиломатериалы длиной, равной длине пакета; в боковых стопах, за исключением двух нижних и двух верхних ярусов, допускается укладывать через один ярус пиломатериалы с одной стыковкой по длине.
При формировании пакетов из пиломатериалов толщиной менее 32 мм в одном - двух нижних ярусах должны быть уложены пиломатериалы толщиной не менее 32 мм.
Пакеты пиломатериалов разделяют на равные части по высоте прокладками шириной не менее 40 мм, толщиной 16 - 25 мм и длиной, равной ширине пакета. Пакеты пиломатериалов толщиной 32 мм и более разделяют: пакеты высотой менее 900 мм - на две части, пакеты высотой 900 мм и более - на три части; пакеты пиломатериалов толщиной менее 32 мм разделяют соответственно на три и четыре равные части.
По длине пакета в зависимости от его длины располагают:
- в пакетах длиной до 4,0 м включительно - две прокладки;
- в пакетах длиной от 4,0 до 5,5 м включительно - три прокладки;
- в пакетах длиной более 5,5 м - четыре прокладки.
Крайние прокладки должны быть расположены на расстоянии от торцов пакета: в пакетах из пиломатериалов одной длины - 300 - 900 мм, в пакетах из пиломатериалов смежных длин - не более 300 мм от торцов наиболее коротких пиломатериалов. Расстояния между прокладками по длине пакета должны быть равны.
3.4.29. Для скрепления пиломатериалов в пакете применяют обвязки. Число обвязок пакета должно быть равно количеству прокладок по длине. Обвязки располагают в плоскостях размещения прокладок или на расстоянии от них не более ширины прокладки.
Обвязки из стальной ленты должны быть изготовлены из стальной холоднокатаной низкоуглеродистой нагартованной ленты сечением не менее 0,5 x 20 мм с временным сопротивлением разрыву не менее 600 Н/мм2 (6000 кгс/см2) (рисунок 50).
1 - лента; 2 - скрепа
Обвязка должна иметь одно соединение скрепой. Допускается устанавливать одну дополнительную скрепу при некачественном изготовлении первой. Скрепа для обвязки должна изготавливаться из такой же ленты сечением 0,5 x (20 - 24) мм. Установка скрепы производится после натяжения обвязки.
Допускается для изготовления обвязок использовать стальную ленту, имеющую аналогичные физические свойства, с иными размерами поперечного сечения, а также полимерную ленту, при условии, что усилие разрыва обвязки (включая соединение) составляет не менее 6000 Н (600 кгс).
Усилие натяжения обвязки на пакете должно составлять не менее 2000 Н (200 кгс). Усилие натяжения обвязки контролируют по величине прогиба ленты при оттягивании ее с усилием 100 Н (10 кгс), прикладываемым в середине бокового (вертикального) участка обвязки перпендикулярно боковой грани пакета. Прогиб ленты не должен превышать 0,01 высоты пакета.
3.4.30. Размеры поперечного сечения пакетов, размещаемых в прямоугольной части штабеля, не должны превышать величин, приведенных в таблице 7.
|
1350 |
1300 |
575 |
|||
|
1250 |
575 |
||||
|
1350 |
600 |
||||
Размеры пакетов, размещаемых в "шапке" штабеля, не должны превышать:
- при размещении пакетов в пределах очертания основного габарита погрузки: по ширине - 1100 мм, по высоте - 575 мм;
- при размещении пакетов в пределах очертания зонального габарита погрузки - величин, приведенных в таблице 8.
3.4.31. Допускается перевозить пакеты, упакованные полимерной пленкой, армированной стекловолокнистой сеткой, или другими негорючими или трудногорючими материалами. Упаковка пакетов должна быть выполнена перед установкой обвязок.
В пакетах, размещаемых в "шапке" штабелей со стороны торцов вагона, упаковочный материал должен быть закреплен двумя вертикальными планками сечением не менее 15 x 60 мм и длиной, равной высоте пакета, расположенными на расстоянии 200 - 300 мм от боковых граней пакета. Каждая планка должна быть закреплена не менее чем тремя гвоздями длиной не менее 45 мм. Допускается закреплять упаковочный материал на торцах пакета металлическими скобками из проволоки диаметром 1 мм шириной не менее 10 мм и высотой не менее 19 мм в количестве не менее 20 штук на каждый торец. Скобки должны располагаться рядами: один ряд из 5 - 6 скобок - горизонтально на высоте, равной 2/3 высоты пакета, и три ряда по пять скобок - вертикально на равных расстояниях друг от друга и от боковых граней пакета.
Каждая обвязка пакетов, размещаемых в "шапке" штабеля, должна быть закреплена на верхней плоскости пакета деревянной доской толщиной 22 - 25 мм, шириной 90 - 100 мм и длиной, превышающей ширину пакета на 100 мм, располагаемой симметрично оси ленты с выступанием концов за боковые грани пакета на 50 мм. Доска должна быть закреплена к пакету не менее чем шестью гвоздями длиной не менее 50 мм, расположенными на равных расстояниях друг от друга в шахматном порядке. Гвозди не должны повреждать увязку пакета.
3.4.32. Размещение и крепление пакетов в пределах очертания основного габарита погрузки производится следующим порядком.
Каждый штабель размещают (рисунки 51 и 52) на подкладках и ограждают стойками в соответствии с пунктом 3.1 настоящей главы. Со стороны торцов вагона под крайние штабели укладывают по одной утолщенной подкладке. Допускается размещать пакеты с выходом за концевые балки рамы вагона.
Рисунок 51 - Размещение пакетов пиломатериалов в полувагоне
1 - подкладка; 2 - утолщенная подкладка; 3 - упор;
4 - прокладка; 5, 6 - удлиненная прокладка; 7 - прижимной
брусок; 8 - упорная доска; 9 - увязка "шапки"; 10 - стойка;
11 - стяжка; 12 - доска
Рисунок 52 - Размещение пакетов пиломатериалов на платформе
1 - подкладка; 2 - утолщенная подкладка; 3 - упор;
4 - прокладка; 5, 6 - удлиненная прокладка; 7 - прижимной
брусок; 8 - упорная доска; 9 - увязка "шапки"; 10 - стойка;
11 - стяжка; 12 - доска
В прямоугольной части штабеля пакеты размещают несколькими ярусами, по два пакета по ширине вагона в каждом ярусе. В каждом ярусе должны быть размещены пакеты одинаковой высоты.
Между ярусами штабеля размещают прокладки сечением (25 - 50) x (150 - 200) мм. Между утолщенными подкладками и торцевым порожком полувагона (торцевым бортом платформы) устанавливают упоры из пиломатериалов сечением не менее 75 x 150 мм. Упоры устанавливают на расстоянии 500 - 800 мм от боковых стен полувагона (бортов платформы). Каждый торцевой упор в полувагоне крепят к утолщенным подкладкам двумя гвоздями диаметром 5 мм и длиной не менее 150 мм, на платформе - прибивают к полу платформы двумя такими же гвоздями.
Общая высота прямоугольной части штабеля не должна превышать 2600 мм от уровня пола вагона.
Пакеты размещают вплотную к боковым стойкам. Зазоры между пакетами в середине вагона не должны превышать 300 мм. Зазор величиной до 150 мм должен быть заполнен пиломатериалами длиной, равной длине пакета. В такой зазор допускается устанавливать вертикальные стойки вровень с пакетами второго яруса (по две на каждый штабель), которые должны располагаться между прокладками; стойки скрепляют друг с другом сверху доской толщиной не менее 25 мм гвоздями длиной не менее 70 мм по два в каждую стойку. Зазор величиной более 150 мм должен быть заполнен пакетами (пачками) таких же пиломатериалов соответствующих размеров. Допускается пакеты нижнего яруса размещать вплотную друг к другу.
Штабели размещают вплотную друг к другу по длине вагона.
Каждая пара противоположных боковых стоек в полувагоне должна иметь верхнее поперечное скрепление; на платформе стойки должны иметь верхнее и среднее поперечное скрепление. Скрепление стоек выполняют в соответствии с положениями пункта 1.7 настоящей главы.
"Шапку" формируют (рисунок 53) из пакетов, имеющих размеры поперечного сечения, указанные в пункте 3.4.30 настоящей главы, сформированных из пиломатериалов длиной, равной длине пакета. Общая длина пакетов "шапки" не должна превышать длину прямоугольной части штабеля.
Рисунок 53 - Формирование "шапки" из пакетов пиломатериалов
1, 2 - удлиненная прокладка; 3 - прижимной брусок;
4 - упорная доска; 5 - увязка "шапки"; 6 - доска
Пакеты первого и второго ярусов "шапки" размещают симметрично относительно продольной плоскости симметрии вагона на трех удлиненных прокладках сечением не менее 50 x 150 мм, которые должны выступать за боковые грани пакетов на 75 - 100 мм с каждой стороны. На удлиненных прокладках на расстоянии не менее 50 мм от их торцов должны быть выполнены зарубки глубиной 10 - 15 мм.
На пакеты второго яруса "шапки" в одной вертикальной плоскости с удлиненными прокладками укладывают прижимные бруски сечением не менее 50 x 150 мм. Концы прижимных брусков должны выступать с обеих сторон пакета на 75 мм и иметь зарубки, аналогичные зарубкам на удлиненных прокладках. Каждый брусок прибивают по концам к пакету двумя гвоздями длиной не менее 100 мм.
Пакеты пиломатериалов в "шапке" закрепляют с каждой стороны тремя увязками из проволоки диаметром 6 мм в две нити, закрепляемыми за удлиненные прокладки и прижимной брусок. Нити увязок помещают в зарубки каждой прокладки и прижимного бруска и туго скручивают между смежными по высоте прокладками и прокладкой и прижимным бруском.
На удлиненные прокладки с обеих сторон пакетов укладывают упорные доски толщиной не менее 50 мм и такой ширины, чтобы они одной стороной упирались в боковые стойки, а другой - в пакеты. Длина упорных досок должна быть равна длине пакета. На удлиненные прокладки между ярусами "шапки" вплотную к пакету укладывают упорные доски сечением не менее 50 x 100 мм. Упорные доски крепят к каждой прокладке двумя гвоздями длиной не менее 100 мм.
3.4.33. Размещение и крепление пакетов в пределах очертания зонального габарита погрузки производится следующим порядком.
В полувагонах и на платформах устанавливают восемь пар стоек. Установку стоек, изготовление и установку подкладок и прокладок, размещение пакетов в пределах прямоугольной части штабеля, крепление пакетов "шапки" производят в соответствии с положениями пункта 3.4.32 настоящей главы.
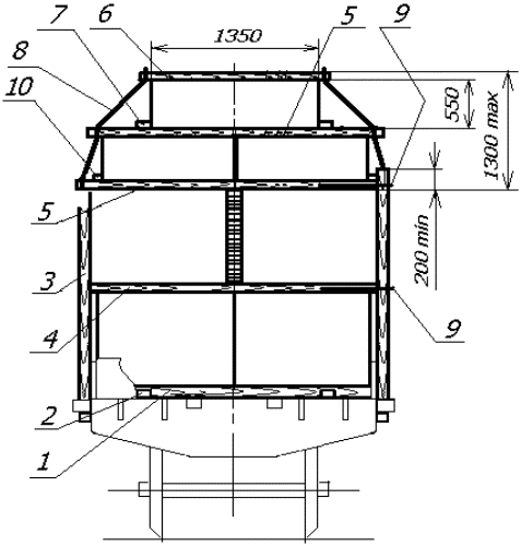
Общая высота "шапки", измеренная от нижней поверхности нижних удлиненных прокладок до верха прижимного бруска, должна составлять не более: в полувагонах - 1200 мм, на платформах - 1300 мм.
Расстояние от верха прямоугольной части штабеля до верхнего обреза стоек должно быть не менее 200 мм.
Размещение пакетов в зависимости от размеров поперечного сечения пакетов "шапки" (таблица 8) производят способами, приведенными на рисунках 54 - 59.
Рисунок 54 - Размещение пакетов в полувагоне по варианту 1
1 - утолщенная подкладка; 2 - упор; 3 - стойка;
4 - прокладка; 5 - удлиненная прокладка; 6 - прижимной
брусок; 7 - упорная доска; 8 - увязка; 9 - стяжка;
10 - распорный брусок
Рисунок 55 - Размещение пакетов на платформе по варианту 1
1 - утолщенная подкладка; 2 - упор; 3 - стойка;
4 - прокладка; 5 - удлиненная прокладка; 6 - прижимной
брусок; 7 - упорная доска; 8 - увязка; 9 - стяжка;
10 - распорный брусок
По варианту 1 в "шапке" размещают два пакета по ширине вагона. На удлиненные прокладки с обеих сторон укладывают вплотную к боковым стойкам упорные доски толщиной не менее 50 мм и прибивают их к прокладкам гвоздями длиной не менее 100 мм по два гвоздя в каждое соединение. Между пакетом и упорной доской устанавливают распорные бруски такой же толщины, которые закрепляют к каждой удлиненной прокладке гвоздями длиной не менее 100 мм по два гвоздя в каждое соединение.
Рисунок 56 - Размещение пакетов в полувагоне по варианту 2
1 - утолщенная подкладка; 2 - упор; 3 - стойка;
4 - прокладка; 5 - удлиненная прокладка; 6 - прижимной
брусок; 7, 10 - упорная доска; 8 - увязка; 9 - стяжка
Рисунок 57 - Размещение пакетов на платформе по варианту 2
1 - утолщенная подкладка; 2 - упор; 3 - стойка;
4 - прокладка; 5 - удлиненная прокладка; 6 - прижимной
брусок; 7, 10 - упорная доска; 8 - увязка; 9 - стяжка
По варианту 2 пакеты в "шапке" размещают двумя ярусами по высоте по два пакета в каждом ярусе вплотную друг к другу.
Рисунок 58 - Размещение пакетов в полувагоне по варианту 3
1 - утолщенная подкладка; 2 - упор; 3 - стойка;
4 - прокладка; 5 - удлиненная прокладка; 6 - прижимной
брусок; 7, 10 - упорная доска; 8 - увязка; 9 - стяжка
Рисунок 59 - Размещение пакетов на платформе по варианту 3
1 - утолщенная подкладка; 2 - упор; 3 - стойка;
4 - прокладка; 5 - удлиненная прокладка; 6 - прижимной
брусок; 7, 10 - упорная доска; 8 - увязка; 9 - стяжка
По варианту 3 пакеты в "шапке" размещают двумя ярусами по высоте: в первом ярусе - два пакета вплотную к друг к другу, во втором ярусе - один пакет.
По вариантам 2 и 3 в зазоры между стойками и нижними пакетами "шапки" на удлиненные прокладки укладывают упорные доски толщиной 50 мм и шириной, равной величине зазора, которые прибивают гвоздями длиной не менее 100 мм по два гвоздя к каждой прокладке. На удлиненные прокладки, расположенные между ярусами "шапки", вплотную к пакетам второго яруса укладывают упорные доски сечением не менее 50 x 100 мм. Упорные доски крепят к каждой прокладке двумя гвоздями длиной не менее 100 мм.
- Гражданский кодекс (ГК РФ)
- Жилищный кодекс (ЖК РФ)
- Налоговый кодекс (НК РФ)
- Трудовой кодекс (ТК РФ)
- Уголовный кодекс (УК РФ)
- Бюджетный кодекс (БК РФ)
- Арбитражный процессуальный кодекс
- Конституция РФ
- Земельный кодекс (ЗК РФ)
- Лесной кодекс (ЛК РФ)
- Семейный кодекс (СК РФ)
- Уголовно-исполнительный кодекс
- Уголовно-процессуальный кодекс
- Производственный календарь на 2025 год
- МРОТ 2026
- ФЗ «О банкротстве»
- О защите прав потребителей (ЗОЗПП)
- Об исполнительном производстве
- О персональных данных
- О налогах на имущество физических лиц
- О средствах массовой информации
- Производственный календарь на 2026 год
- Федеральный закон "О полиции" N 3-ФЗ
- Расходы организации ПБУ 10/99
- Минимальный размер оплаты труда (МРОТ)
- Календарь бухгалтера на 2026 год
- Частичная мобилизация: обзор новостей
- Постановление Правительства РФ N 1875










