Вход в систему
  • Некоммерческие интернет-версии
  • О компании и продуктах
  • Купить КонсультантПлюс
  • Пробный доступ
  • Новости
  • Вакансии
Вход в систему
  • Главная
  • Документы
  • Тип ХД 1.1 Деревянная одноэтажная хозяйственная постройка
Приказ Минкультуры России от 25.12.2023 N 3484 "Об утверждении границ территории, предмета охраны и требований к градостроительным регламентам в границах территории исторического поселения федерального значения город Галич Костромской области"...

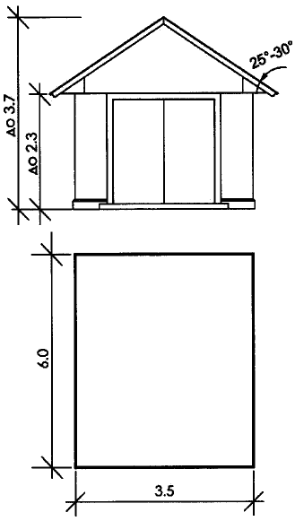
Тип ХД 1.1 Деревянная одноэтажная хозяйственная постройка

Рисунок 868

Рисунок 869

Деревянные хозяйственные постройки Тип ХД 2.2 Деревянная двухэтажная хозяйственная постройка с открытой галереей на втором этаже
  • Гражданский кодекс (ГК РФ)
  • Жилищный кодекс (ЖК РФ)
  • Налоговый кодекс (НК РФ)
  • Трудовой кодекс (ТК РФ)
  • Уголовный кодекс (УК РФ)
  • Бюджетный кодекс (БК РФ)
  • Арбитражный процессуальный кодекс
  • Конституция РФ
  • Земельный кодекс (ЗК РФ)
  • Лесной кодекс (ЛК РФ)
  • Семейный кодекс (СК РФ)
  • Уголовно-исполнительный кодекс
  • Уголовно-процессуальный кодекс
  • Производственный календарь на 2025 год
  • МРОТ 2025
  • ФЗ «О банкротстве»
  • О защите прав потребителей (ЗОЗПП)
  • Об исполнительном производстве
  • О персональных данных
  • О налогах на имущество физических лиц
  • О средствах массовой информации
  • Производственный календарь на 2026 год
  • Федеральный закон "О полиции" N 3-ФЗ
  • Расходы организации ПБУ 10/99
  • Минимальный размер оплаты труда (МРОТ)
  • Календарь бухгалтера на 2025 год
  • Частичная мобилизация: обзор новостей
  • Постановление Правительства РФ N 1875
Контактная информация
117292, Москва, ул. Кржижановского, 6 (центральный офис)
contact@consultant.ru
+7 (495) 956-82-83
+7 (495) 787-92-92
contact@consultant.ru
Мы в социальных сетях
ВКонтакте Яндекс.Дзен Max Одноклассники Telegram
Все права защищены © 1997-2025 КонсультантПлюс
Все права защищены © 1997-2025 КонсультантПлюс Свидетельство МПТР России Эл №77‑6731 Политика обработки персональных данных Условия доступа к сайту
Сайт использует файлы cookies. Условия использования см. в Политике использования сookies.