XIV. Рекомендации при дегазации выработанных пространств скважинами, пробуренными из подземных выработок
XIV. РЕКОМЕНДАЦИИ ПРИ ДЕГАЗАЦИИ ВЫРАБОТАННЫХ ПРОСТРАНСТВ
СКВАЖИНАМИ, ПРОБУРЕННЫМИ ИЗ ПОДЗЕМНЫХ ВЫРАБОТОК
194. Дегазацию выработанного пространства рекомендуется применять для снижения метанообильности действующего участка, а также для извлечения метана из соседних с ним отработанных пространств или из старых ранее отработанных выемочных полей.
195. Извлекаемая газовоздушная смесь по трубопроводам отводится на поверхность или в исходящую струю выемочного поля (крыла, шахты).
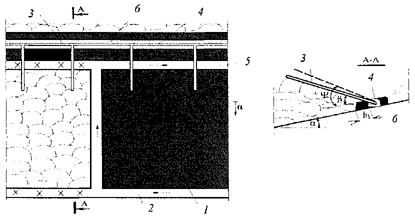
196. Дегазацию выработанного пространства действующего участка рекомендуется осуществлять с помощью скважин, пробуренных над куполом обрушения из пластовых (рисунок 53 а, б) или полевых (рисунок 54) выработок или с помощью перфорированных труб и сбоечных скважин, заведенных в выработанное пространство (рисунки 53 в, 54 и 55).
197. При дегазации выработанного пространства действующей лавы с использованием скважин, пробуренных над целиком угля, расстояние между скважинами определяется паспортом выемочного участка согласно пункту 460 Инструкции по аэрологической безопасности угольных шахт.
Фланговые скважины рекомендуется располагать ближе к вентиляционной выработке.
198. При дегазации выработанного пространства действующей лавы с использованием сбоечных скважин и перфорированных труб (рисунки 53 в, 54) расстояние между скважинами определяется паспортом выемочного участка согласно пункту 555 Инструкции по аэрологической безопасности угольных шахт.
Сбоечные скважины рекомендуется проводить до подхода лавы и с обоих концов обсаживать трубами. К скважинам со стороны лавы рекомендуется подключать перфорированные трубы, которые охраняются кострами.
199. Герметизация скважин осуществляется в соответствии с пунктами 567 - 571 Инструкции по аэрологической безопасности угольных шахт.
Рисунок 53 - Схемы дегазации выработанного пространства
пологих угольных пластов:
а - скважины пробурены над целиком угля при столбовой системе разработки пологих или наклонных пластов: 1 - разрабатываемый пласт; 2 - конвейерный штрек; 3 - дегазационная скважина; 4 - дегазационный газопровод; 5 - вентиляционный штрек; 6 - выработка, охраняемая целиком угля;
- угол падения пласта;
- угол разгрузки пород кровли;
- угол возвышения скважины;
б - скважины пробурены из фланговой выработки при отработке пологих или наклонных пластов: 1 - разрабатываемый пласт; 2 - вентиляционная выработка; 3 - дегазационные скважины; 4 - дегазационный газопровод; 5 - фланговая выработка;
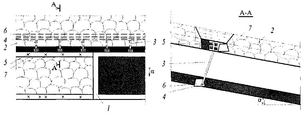
в - скважины пробурены в межлавном целике из дренажных выработок: 1 - очистной забой; 2 - выработанное пространство; 3 - сбоечная скважина; 4 - дегазационный газопровод; 5 - вентиляционный штрек лавы; 6 - отрабатываемый пласт; 7 - штрек
Рисунок 54 - Схема дегазации выработанных пространств
мощных крутых пластов скважинами, пробуренными
из полевых выработок:
1 - разрабатываемый пласт; 2 - выработанное пространство; 3 - дегазационные скважины; 4 - дегазационный газопровод; 5 - полевой штрек откаточного горизонта; 6 - полевой штрек вентиляционного горизонта
а
Рисунок 55 - Схема дегазации выработанного пространства
с использованием сбоечных скважин и перфорированных труб:
а - скважины пробурены из полевых выработок или из выработки сближенного угольного пласта: 1 - очистной забой; 2 - выработанное пространство; 3 - сбоечная скважина; 4 - дегазационный газопровод; 5 - перфорированная труба; 6 - штрек по нижнему пласту; 7 - вентиляционный штрек лавы;
б - перфорированный дегазационный газопровод, оставляемый в выработанном пространстве: 1 - очистной забой; 2 - выработанное пространство; 3 - перфорированный дегазационный газопровод; 4 - костры; 5 - дегазационный газопровод; 6 - конвейерный штрек
Рисунок 56 - Схема дегазации выработанного пространства
с использованием дегазационного газопровода
во фланговой выработке:
1 - очистной забой; 2 - выработанное пространство; 3 - перемычка; 4 - дегазационный газопровод; 5 - перфорированная труба; 6 - конвейерный штрек; 7 - вентиляционный штрек
200. Величину разрежения на устье скважин рекомендуется устанавливать в соответствии с таблицей N 24.
201. Дегазационные скважины и перфорированные трубы рекомендуется закладывать вблизи выработок с исходящей вентиляционной струей.
202. Перфорированные трубы рекомендуется подключать к дегазационному газопроводу, который проложен в соседней выработке или оставляется в завале.
203. Рекомендуемая величина разрежения, подводимого к перфорированным трубам, не менее 4,0 кПа (30 мм рт. ст.).
204. Рекомендуемая эффективность и условия применения схем дегазации выработанного пространства приведены в таблице N 24.
Таблица N 24 - Рекомендуемая эффективность и условия применения схем дегазации выработанного пространства
|
Условия применения и схема расположения скважин или перфорированных труб |
Минимальная величина разрежения у устья скважины (перфорированной трубы) Bу |
|||
|
Скважины пробурены над целиком угля при столбовой системе разработки пологих или наклонных пластов (рисунок 53а) |
||||
|
Скважины пробурены из фланговой выработки при отработке пологих или наклонных пластов (рисунок 53б) |
||||
|
Скважины пробурены в межлавном целике из параллельной выработки (рисунок 53в) |
||||
|
Скважины пробурены из полевой выработки при отработке крутых пластов (рисунок 54) |
||||
|
Перфорированные трубы оставляются в погашаемой вентиляционной выработке и сообщаются со сбоечными скважинами (рисунок 55а) |
||||
|
Перфорированные трубы заводят за перемычки вблизи монтажной камеры (рисунок 56) |
||||
|
Перфорированные трубы подключаются к газопроводу, оставляемому в завале (рисунок 55б) |
||||
- Гражданский кодекс (ГК РФ)
- Жилищный кодекс (ЖК РФ)
- Налоговый кодекс (НК РФ)
- Трудовой кодекс (ТК РФ)
- Уголовный кодекс (УК РФ)
- Бюджетный кодекс (БК РФ)
- Арбитражный процессуальный кодекс
- Конституция РФ
- Земельный кодекс (ЗК РФ)
- Лесной кодекс (ЛК РФ)
- Семейный кодекс (СК РФ)
- Уголовно-исполнительный кодекс
- Уголовно-процессуальный кодекс
- Производственный календарь на 2025 год
- МРОТ 2026
- ФЗ «О банкротстве»
- О защите прав потребителей (ЗОЗПП)
- Об исполнительном производстве
- О персональных данных
- О налогах на имущество физических лиц
- О средствах массовой информации
- Производственный календарь на 2026 год
- Федеральный закон "О полиции" N 3-ФЗ
- Расходы организации ПБУ 10/99
- Минимальный размер оплаты труда (МРОТ)
- Календарь бухгалтера на 2026 год
- Частичная мобилизация: обзор новостей
- Постановление Правительства РФ N 1875






