VI. Дегазация пологих и наклонных пластов угля при их подработке
116. Рекомендуемые схемы расположения скважин при дегазации сближенных подрабатываемых пластов угля и пород на выемочных участках:
скважины пробурены из выработки, отделенной от выработанного пространства целиком угля (схема представлена на рисунке 19);
скважины пробурены из поддерживаемой за лавой выработки (схема представлена на рисунке 20);
скважины пробурены из выработки, погашаемой за лавой (схема представлена на рисунке 21);
скважины пробурены из двух и более выработок (схема представлена на рисунке 22).
117. Параметры бурения скважин рекомендуется выбирать так, чтобы скважины пересекали в зоне разгрузки наиболее мощный из подрабатываемых пластов, расположенных на расстоянии MС.П не далее 60 м по нормали от разрабатываемого пласта.
Если в этом интервале междупластья подрабатываемых угольных пластов нет (пласты угля залегают на расстоянии MС.П > 60 м), то скважины рекомендуется бурить до пересечения ближайшего подрабатываемого пласта или до контакта с крепким породным слоем, расположенным на расстоянии MС.П
60 м.
При наличии на выемочном участке за очистным забоем охраняемой целиком угля выработки дегазационные скважины на подрабатываемый пласт рекомендуется бурить из этой выработки над целиком угля.
Схема дегазации подрабатываемого пласта скважинами, пробуренными навстречу движущемуся очистному забою из погашаемой за лавой выработки, может применяться на выемочных участках погашением выработок за лавой при условии, что газопровод с подключенными к нему скважинами сохраняется в погашенной части выработки.
118. Для повышения эффективности дегазации на участках с погашением выработок за лавой паспортом выемочного участка рекомендуется предусматривать подключение к газопроводу скважин, оставляемых в выработанном пространстве, с выполнением мер по охране устьев скважин и трубопровода.
119. Для дегазации сближенных пластов в период первичной посадки основной кровли рекомендуется дополнительно бурить фланговые скважины из уклона (схема представлена на рисунке 22) или из подготовительной выработки, пройденной за монтажной камерой. Устья скважин рекомендуется располагать на расстоянии 5 м и более от монтажной камеры (схема представлена на рисунке 23).
120. При сплошной системе разработки рекомендуется применять схему дегазации, при которой скважины бурятся из вентиляционной и (или) откаточной выработки на сближенный пласт позади очистного забоя в направлении его движения.
121. На участках очистных работ с высокой метанообильностью и преобладающим газовыделением из подрабатываемых угольных пластов рекомендуется применять комплексную дегазацию (схема представлена на рисунке 22).
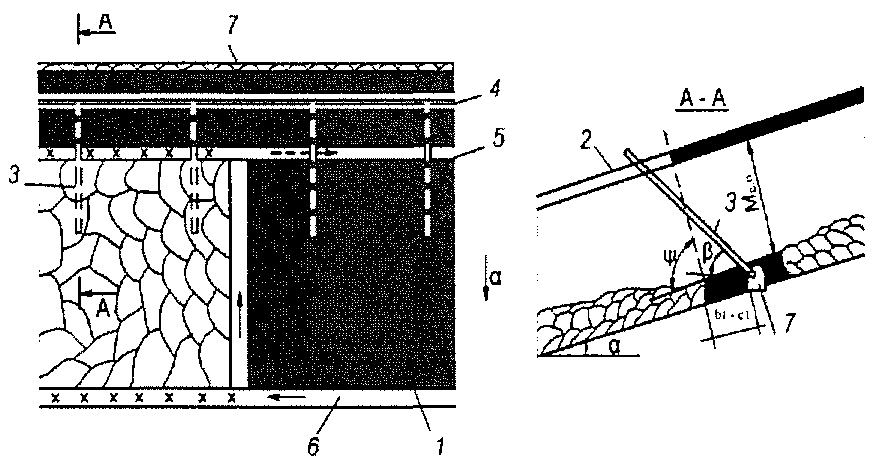
Рисунок 19 - Схема дегазации подрабатываемых сближенных
пластов скважинами, пробуренными из охраняемой целиком
угля выработки:
1 - разрабатываемый пласт; 2 - сближенный пласт; 3 - скважина дегазационная; 4 - газопровод; 5 - вентиляционный штрек; 6 - конвейерный штрек; 7 - выработка, охраняемая целиком угля;
- угол падения пласта;
- угол разгрузки пород кровли;
- угол возвышения скважины; MС.П - расстояние по нормали от разрабатываемого до сближенного пласта; b1 - ширина целика (охранная зона); c1 - резерв, учитывающий возможное отклонение скважины от заданного направления
Рисунок 20 - Схема дегазации подрабатываемых пологих
пластов скважинами, пробуренными из поддерживаемой
за лавой выработки:
1 - разрабатываемый пласт; 2 - подрабатываемый пласт; 3 - дегазационная скважина; 4 - газопровод; 5 - выработка, поддерживаемая за лавой;
- угол падения пласта;
- угол разгрузки пород кровли;
- угол возвышения скважины; b1 - ширина охранной зоны; c1 - резерв, учитывающий возможное отклонение скважины от заданного направления
Рисунок 21 - Схема дегазации подрабатываемого пласта
скважинами, пробуренными навстречу движущемуся очистному
забою из погашаемой за лавой выработки:
1 - разрабатываемый пласт; 2 - подрабатываемый пласт; 3 - скважина; 4 - газопровод; 5 - вентиляционный штрек;
- угол возвышения скважины;
- угол падения пласта в плоскости скважины;
- угол разгрузки пород кровли в плоскости скважины
Рисунок 22 - Схема комплексной дегазации подрабатываемого
пласта на выемочном поле:
1 - разрабатываемый пласт; 2 - сближенный пласт; 3 - скважина; 4 - газопровод; 5 - вентиляционная выработка;
- угол разгрузки пород кровли;
- угол между проекцией скважины на горизонтальную плоскость и перпендикуляром к оси выработки в той же плоскости
Рисунок 23 - Схема дегазации подрабатываемого пласта
скважинами в период первичной посадки основной кровли:
1 - разрабатываемый пласт; 2 - подрабатываемый пласт; 3 - скважина; 4 - газопровод;
- угол падения пласта в плоскости скважины;
- угол разгрузки пород кровли в плоскости скважины;
- угол возвышения скважины
122. Расчетные параметры скважин рекомендуется корректировать на основании данных о фактической эффективности дегазации в конкретных горнотехнических условиях разработки угольных пластов.
123. При использовании буровой техники, позволяющей бурить длинные направленные скважины, рекомендуется применять схему дегазации сближенного пласта, представленную на рисунках 24 и 25. Скважины рекомендуется бурить из фланговой или из участковой выработки вдоль столба навстречу очистному забою. Горизонтальную часть скважины в лавах по простиранию пласта или наклонную в лавах по падению (восстанию) рекомендуется располагать в сближенном пласте, при этом бурение скважины рекомендуется завершить до начала разгрузки сближенного пласта от горного давления согласно пункту 576 Инструкции по аэрологической безопасности угольных шахт.
Рисунок 24 - Схема дегазации сближенного пласта скважинами,
пробуренными вдоль столба из фланговой выработки:
1 - разрабатываемый пласт; 2 - сближенные пласты; 3 - дегазационные скважины; 4 - дегазационный трубопровод; 5 - фланговая выработка; 6 - очистной забой
Рисунок 25 - Схема дегазации направленными скважинами,
пробуренными на сближенный пласт из участковой выработки:
1 - разрабатываемый пласт; 2 - сближенный пласт; 3 - дегазационные скважины; 4 - дегазационный трубопровод; 5 - участковая выработка; 6 - очистной забой
124. Для дегазации подрабатываемых пластов, залегающих выше зоны обрушения горных пород, рекомендуется использовать изолированные от рудничной атмосферы газодренажные выработки. Газодренажные выработки рекомендуется проводить вдоль выемочного столба на расстоянии (0,25 - 0,35)lоч от выработки с исходящей вентиляционной струей и подключать к дегазационной системе с помощью труб, заведенных за изолирующую выработку перемычку.
Для интенсификации процесса дегазации сближенных пластов на них из газодренажной выработки в процессе ее проходки рекомендуется бурить дегазационные скважины.
125. Рекомендуемая эффективность дегазации подрабатываемых пластов скважинами, пробуренными из горных выработок, и режимы функционирования скважин приведены в таблице N 9.
- Гражданский кодекс (ГК РФ)
- Жилищный кодекс (ЖК РФ)
- Налоговый кодекс (НК РФ)
- Трудовой кодекс (ТК РФ)
- Уголовный кодекс (УК РФ)
- Бюджетный кодекс (БК РФ)
- Арбитражный процессуальный кодекс
- Конституция РФ
- Земельный кодекс (ЗК РФ)
- Лесной кодекс (ЛК РФ)
- Семейный кодекс (СК РФ)
- Уголовно-исполнительный кодекс
- Уголовно-процессуальный кодекс
- Производственный календарь на 2025 год
- МРОТ 2026
- ФЗ «О банкротстве»
- О защите прав потребителей (ЗОЗПП)
- Об исполнительном производстве
- О персональных данных
- О налогах на имущество физических лиц
- О средствах массовой информации
- Производственный календарь на 2026 год
- Федеральный закон "О полиции" N 3-ФЗ
- Расходы организации ПБУ 10/99
- Минимальный размер оплаты труда (МРОТ)
- Календарь бухгалтера на 2026 год
- Частичная мобилизация: обзор новостей
- Постановление Правительства РФ N 1875






