IV. Дегазация неразгруженных угольных пластов рекомендации по дегазации пластов при проведении горных выработок
IV. ДЕГАЗАЦИЯ НЕРАЗГРУЖЕННЫХ УГОЛЬНЫХ ПЛАСТОВ
РЕКОМЕНДАЦИИ ПО ДЕГАЗАЦИИ ПЛАСТОВ ПРИ ПРОВЕДЕНИИ
ГОРНЫХ ВЫРАБОТОК
40. При проведении вертикальных выработок (стволов, шурфов, гезенков) дегазацию угольных пластов и пород рекомендуется осуществлять скважинами, пробуренными с поверхности или из камер (рисунок 1).
Рекомендуемые параметры скважин:
скважины располагаются параллельно выработке на расстоянии 2,5 - 3 м от ее стенок;
расстояние между забоями скважин 4 - 5 м;
величина неснижаемого опережения скважинами забоя выработки не менее 10 м;
газоносный угольный пласт или слой газосодержащей породы перебуривается полностью.
41. При проведении квершлагов дегазацию газосодержащего пласта рекомендуется осуществлять скважинами, пробуренными из забоя или из камер (рисунок 2). Бурение скважин начинают до подхода забоя квершлага к угольному пласту или газосодержащему слою породы не ближе 5 м.
Направление бурения и количество скважин рекомендуется выбирать так, чтобы скважины пересекали газоносный слой пород или пластов угля по окружности, диаметр которой равен удвоенной ширине выработки.
42. При проведении полевых выработок вблизи газоносных угольных пластов скважины на них рекомендуется бурить с опережением забоя выработки. Бурение и оборудование скважин рекомендуется завершить до начала разгрузки сближенных пластов согласно пункту 576 Инструкции по аэрологической безопасности угольных шахт. Рекомендуемое расстояние между скважинами, пробуренными на подрабатываемый пласт, составляет 20 - 25 м, на надрабатываемый - 10 - 15 м.
Рисунок 1 - Схема дегазации газоносного массива при проходке
вертикальных выработок:
1 - газоносный пласт угля; 2 - газосодержащая порода; 3 - дегазационная скважина; 4 - дегазационный трубопровод; 5 - ниша; D - диаметр ствола
Рисунок 2 - Схема дегазации газоносного массива
при вскрытии квершлагом:
1 - угольный пласт; 2 - квершлаг; 3 - скважина; 4 - дегазационный трубопровод; 5 - ниша
43. Для снижения газообильности выработок, проводимых по угольным пластам, рекомендуется применять предварительную дегазацию пластов или текущую дегазацию угольного массива вблизи проводимой выработки.
Предварительную дегазацию угольного пласта рекомендуется проводить до начала проходческих работ по схемам, приведенным на рисунках 3 и 4. Срок каптажа газа рекомендуется устанавливать условием достижения проектного коэффициента дегазации с учетом показателей газоотдачи пласта в скважины: интенсивности начального удельного метановыделения (g0), темпа снижения во времени начального удельного метановыделения (а).
Рисунок 3 - Схема дегазации пласта восстающими скважинами,
пробуренными за контуры проводимых выработок:
а - перекрещивающиеся скважины; б - параллельные и барьерные скважины; 1 - монтажная камера; 2 - скважина, параллельная забою; 3 - скважина, ориентированная на забой; 4 - дегазационный трубопровод; 5 - забой подготовительной выработки; 6 - скважина барьерная
Рисунок 4 - Схема дегазации пологого пласта нисходящими
скважинами, пробуренными за контуры будущей выработки:
1 - лава; 2 - штрек вентиляционный действующей лавы; 3 - скважина нисходящая; 4 - газопровод; 5 - штрек будущей лавы;
- угол падения пласта
В целях сокращения сроков предварительной дегазации пласта рекомендуется проводить гидроразрыв угольного массива с целью повышения его газопроницаемости.
Дегазацию угольного массива вблизи проводимой выработки рекомендуется осуществлять с помощью барьерных или забойных и барьерных скважин.
На пластах с высокой газоносностью, когда одной схемой дегазации не удается снизить газообильность проводимой выработки, рекомендуется применять сочетание (комбинация) нескольких схем дегазации.
44. Дегазацию угольного массива вблизи проводимой выработки рекомендуется осуществлять с помощью барьерных или забойных и барьерных скважин (рисунок 5 и 6).
Барьерные скважины рекомендуется бурить из камер под углом 3 - 5° к оси выработки. Рекомендуемая длина скважин до 100 - 150 м. Рекомендуемое расстояние между камерами на 15 - 20 м меньше длины скважин, устья скважин рекомендуется располагать на расстоянии 2 - 2,5 м от стенки выработки. Число и расположение барьерных скважин рекомендуется принимать по таблице N 2.
При проведении парных выработок с опережением одного из забоев и шириной целика между ними менее 15 м бурение барьерных скважин с обеих сторон выработки рекомендуется проводить только для опережающего забоя. Бурение скважин в боковой стенке отстающей выработки со стороны межштрекового целика при его ширине более 15 м рекомендуется определять паспортом проведения выработки.
Таблица N 2 - Число и расположение барьерных скважин
Ранее пробуренные барьерные скважины, расположенные на расстоянии более 100 м от забоя выработки, отключаются от дегазационной сети по решению технического руководителя организации.
45. Для снижения подсосов воздуха и повышения концентрации метана в каптируемой смеси рекомендуется применять схему барьерной дегазации массива угля с использованием перекрещивающихся скважин (рисунок 5б).
При данной схеме дегазации рекомендуется применять следующий порядок отключения скважин: первыми отключают от дегазационного трубопровода непродуктивные скважины I серии и оставляют под вакуумом только короткие скважины серии II.
Рисунок 5 - Схема дегазации пласта барьерными скважинами:
а - одиночные скважины; б - перекрещивающиеся скважины; I и II - серии перекрещивающихся барьерных скважин; III - серия барьерных скважин; 1 - штрек; 2 - камера; 3 - скважина; 4 - газопровод;
- угол падения пласта
Рисунок 6 - Схема дегазации пласта длинными ограждающими
скважинами направленного бурения:
1, 1' - выработки; 2 - сбойка; 3 - скважины направленного бурения; 4 - дегазационный трубопровод; 5 - забои спаренных выработок
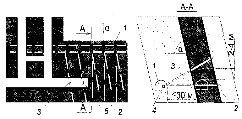
46. При расположении полевой выработки не далее 30 м от крутого пласта дегазацию рекомендуется осуществлять скважинами, пробуренными вкрест простирания пласта (рисунок 7). Скважины рекомендуется бурить из полевого штрека таким образом, чтобы один ряд скважин располагался на 2 - 4 м выше будущей выработки, а другой ряд скважин - вблизи оси выработки.
Рисунок 7 - Схема дегазации крутого пласта
скважинами, пробуренными из полевой выработки вкрест
простирания пласта:
1 - полевая выработка; 2 - скважина вблизи оси проводимой выработки; 3 - скважина над будущей выработкой; 4 - дегазационный трубопровод; 5 - пластовая выработка;
- угол падения пласта
47. Для повышения эффективности дегазации рекомендуется проводить гидроразрыв угольного пласта. Необходимость проведения гидроразрыва угольного пласта может определяться главным инженером шахты.
Жидкость в пласт может подаваться через скважину в статическом режиме или проводится поинтервальный разрыв пласта. Условия применения, способы и параметры гидроразрыва рекомендуется устанавливать в соответствии с рекомендациями научно-исследовательских институтов.
При проходке выработок гидроразрыв пласта рекомендуется осуществлять через скважины, пробуренные из забоя проводимой выработки, до бурения барьерных скважин.
Гидроразрыв угольного пласта проводится на основании проектной документации согласно пункту 446 Инструкции по аэрологической безопасности угольных шахт.
48. При проведении выработок вблизи геологических нарушений или при пересечении последних скважины рекомендуется бурить из камер заблаговременно за 30 - 40 м до подхода забоя выработки к нарушению. Скважины рекомендуется бурить таким образом, чтобы они пересекали зону геологического нарушения как внутри контура будущей выработки, так и на расстоянии двух-трех ее диаметров от оси выработки.
Необходимость при этом устройства камер для бурения скважин может определяться решением главного инженера шахты исходя из технических возможностей бурового станка.
49. Рекомендуемая эффективность различных способов дегазации при проведении выработок по угольным пластам приведена в таблице N 3.
Таблица N 3 - Рекомендуемая эффективность дегазации угольных пластов при проведении выработок
|
п/п |
|||||
При невозможности обеспечения концентрации метана в газовоздушной смеси в дегазационном трубопроводе более 25% допускается снижение минимальной величины разряжения в дегазационных скважинах.
- Рекомендации по дегазации разрабатываемых пластов на выемочных участках
- Рекомендации по дегазации разрабатываемых пластов скважинами с применением подземного гидроразрыва
- Рекомендации при дегазации неразгруженных угольных пластов с предварительным их гидрорасчленением через скважины, пробуренные с поверхности
- Гражданский кодекс (ГК РФ)
- Жилищный кодекс (ЖК РФ)
- Налоговый кодекс (НК РФ)
- Трудовой кодекс (ТК РФ)
- Уголовный кодекс (УК РФ)
- Бюджетный кодекс (БК РФ)
- Арбитражный процессуальный кодекс
- Конституция РФ
- Земельный кодекс (ЗК РФ)
- Лесной кодекс (ЛК РФ)
- Семейный кодекс (СК РФ)
- Уголовно-исполнительный кодекс
- Уголовно-процессуальный кодекс
- Производственный календарь на 2025 год
- МРОТ 2025
- ФЗ «О банкротстве»
- О защите прав потребителей (ЗОЗПП)
- Об исполнительном производстве
- О персональных данных
- О налогах на имущество физических лиц
- О средствах массовой информации
- Производственный календарь на 2026 год
- Федеральный закон "О полиции" N 3-ФЗ
- Расходы организации ПБУ 10/99
- Минимальный размер оплаты труда (МРОТ)
- Календарь бухгалтера на 2025 год
- Частичная мобилизация: обзор новостей
- Постановление Правительства РФ N 1875






