XXI. Рекомендации при осуществлении инструментального контроля работы дегазационных станций (дегазационных установок)
XXI. РЕКОМЕНДАЦИИ ПРИ ОСУЩЕСТВЛЕНИИ
ИНСТРУМЕНТАЛЬНОГО КОНТРОЛЯ РАБОТЫ ДЕГАЗАЦИОННЫХ СТАНЦИЙ
(ДЕГАЗАЦИОННЫХ УСТАНОВОК)
270. Измерение расхода отсасываемых метановоздушных смесей на дегазационных скважинах и газопроводах осуществляется согласно пунктам 545 и 589 Инструкции по аэрологической безопасности угольных шахт стационарными или переносными приборами. Места установки стационарных приборов и порядок проведения замеров переносными приборами определяются проектом дегазации согласно пункту 454 Инструкции по аэрологической безопасности угольных шахт.
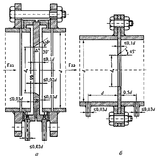
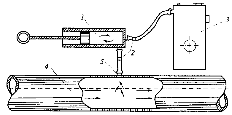
271. Для выполнения замеров в дегазационном трубопроводе устанавливаются замерные станции согласно пункту 503 Инструкции по аэрологической безопасности угольных шахт. Замерная станция - часть дегазационного трубопровода, оборудованная диафрагмой (рисунок 63) или иным сужающим устройством. На участках, где сужающее устройство не установлено, рекомендуется устанавливать замерную станцию для отбора пробы и контроля концентрации метана в дегазационном трубопроводе через штуцер (рисунок 64). Для замеров метана без применения стационарных или переносных приборов используются U-образный манометр с водяным или ртутным заполнением и интерферометры.
272. Отбор проб газовоздушной смеси из газопровода или обсадной трубы скважины рекомендуется осуществлять через диафрагму или штуцер, показанные на рисунках 63 и 64.
Места установки замерных станций, порядок осуществления контроля за параметрами газовой смеси и передачи информации от установленных приборов в систему АГК определяется проектом дегазации согласно пункту 546 Инструкции по аэрологической безопасности угольных шахт.
Рисунок 63 - Диафрагмы для замера расхода газа:
а - нормальная; б - дисковая;
,
- чистота обработки поверхности диска
Рисунок 64 - Схема отбора проб газовоздушной смеси:
1 - насос ручной; 2 - обратный клапан; 3 - интерферометр; 4 - газопровод; 5 - штуцер для отбора пробы
273. Замерные станции рекомендуется располагать на прямом участке газопровода. Рекомендуемая длина прямого участка газопровода до и после сужающего устройства составляет 10 диаметров трубопровода.
Состояние замерных станций рекомендуется проверять при производстве замеров. Аэродинамическое сопротивление рекомендуется определять при проведении вакуумно-газовой съемки в дегазационном трубопроводе.
274. Замерные станции без диафрагмы рекомендуется располагать на прямых участках газопровода в соответствии с рекомендациями, предусмотренными руководством по их эксплуатации.
275. Расход газовоздушной смеси, транспортируемой по дегазационному газопроводу Q, м3/мин, на замерной станции, в качестве сужающего устройства на которой применяется диафрагма, рекомендуется рассчитывать по формуле:
, a3,
- коэффициенты, определяемые по номограммам (рисунки 65, 66 и 67 соответственно);
d0 - диаметр отверстия диафрагмы, мм;
hд - перепад давлений на диафрагме, мм вод. ст.;
- объемная масса газа в рабочем состоянии при фактической концентрации метана, кг/м3.
Для номограмм, приведенных на рисунках 65, 66 и 67, приняты следующие обозначения:
P'1 - давление газа в газопроводе, то есть разность между атмосферным давлением у места установки диафрагмы и разрежением в газопроводе перед диафрагмой, мм рт. ст.;
- коэффициент расхода, определяемый в зависимости от модуля диафрагмы. Модуль диафрагмы отношение
к квадрату внутреннего диаметра трубопровода
.
Выражение
называется коэффициентом K диафрагмы: при d0 = 25 мм и d = 100 мм коэффициент K = 0,65, при d0 = 50 мм и d = 150 мм K = 2,62, а при d0= 65 мм и d = 200 мм K = 4,4.
Рисунок 65 - Определение коэффициента
при малых (а)
и при больших (б) значениях hд / 13,6P1
Рисунок 66 - Определение поправочного коэффициента a3
С учетом коэффициента диафрагмы зависимость (1) представляется в виде:
Величину
рекомендуется определять по формуле:
P0 - атмосферное давление, мм рт. ст.;
t0 - температура газа перед диафрагмой, °C;
- объемная масса газовоздушной смеси при давлении 760 мм рт. ст. и температуре 293 К.
Рисунок 67 - Зависимость коэффициента расхода
от 
276. Расход Q, м3/мин, газовоздушной смеси при использовании замерного устройства без диафрагмы рекомендуется определять по формуле:
- измеренная скорость потока газовой смеси, м/с;
kп - коэффициент, учитывающий диаметр газопровода (указывается в паспорте прибора);
Sп - площадь сечения замерного устройства, м2.
Расход газовоздушной смеси рекомендуется приводить к нормальным условиям:
277. Дебит отсасываемого метана GМ, м3/мин, рекомендуется находить из выражения:
где Cм - концентрация метана в отсасываемой смеси, %.
278. Схема отбора проб газовоздушной смеси для последующего определения в ней концентрации метана показана на рисунке 68.
При отборе проб газа по схемам а и б (рисунок 68) краники или зажимы на вакуумных (полувакуумных) резиновых трубках закрываются одновременно.
Рисунок 68 - Схема отбора проб газовоздушной смеси
из газопровода:
а - бюреткой Зегера; б - бутылкой при вакууме; в - бутылкой при давлении выше атмосферного
279. При автоматизации работы ДС (ДУ) и контроля параметров дегазационных систем рекомендуется обеспечить:
непрерывный контроль содержания метана в помещениях ДС (ДУ);
подачу аварийного сигнала на пульт диспетчера и автоматическое включение вентилятора, проветривающего помещения ДС (ДУ) при превышении допустимого уровня концентрации метана;
непрерывный контроль концентрации метана в отсасываемой газовоздушной смеси и расхода отсасываемого метана;
непрерывный контроль разрежения во всасывающем и давления в нагнетательных газопроводах;
автоматическое отключение работающего вакуум-насоса (вакуум-насосов) с подачей аварийного сигнала на пульт диспетчера при нарушении нормального режима работы;
пропуск газовой смеси под естественным давлением в обход вакуум-насосов при их остановке;
автоматическое включение в работу резервных водяных насосов при остановке работающих водяных насосов или при снижении давления воды в системе водоснабжения ниже установленного паспортом водокольцевого вакуум-насоса;
автоматический отвод газа в нагнетательном газопроводе в атмосферу через отводную трубу при давлении выше установленного проектом;
автоматическую отсечку подачи газа потребителю и отвода его в атмосферу при концентрации метана ниже предусмотренной проектом утилизации, а также при падении давления смеси в нагнетательном газопроводе ниже установленного проектом утилизации;
индикацию контролируемых параметров на рабочих местах в помещениях ДС (ДУ), передачу данных о контролируемых параметрах работы ДС (ДУ) диспетчеру шахты;
возможность перевода на ручное управление работы вакуум-насосной установки в случае неисправности схемы автоматизации;
контроль параметров газовой смеси (концентрации, разрежения, дебита) в дегазационных газопроводах, в местах установки автоматических приборов контроля.
- Гражданский кодекс (ГК РФ)
- Жилищный кодекс (ЖК РФ)
- Налоговый кодекс (НК РФ)
- Трудовой кодекс (ТК РФ)
- Уголовный кодекс (УК РФ)
- Бюджетный кодекс (БК РФ)
- Арбитражный процессуальный кодекс
- Конституция РФ
- Земельный кодекс (ЗК РФ)
- Лесной кодекс (ЛК РФ)
- Семейный кодекс (СК РФ)
- Уголовно-исполнительный кодекс
- Уголовно-процессуальный кодекс
- Производственный календарь на 2025 год
- МРОТ 2026
- ФЗ «О банкротстве»
- О защите прав потребителей (ЗОЗПП)
- Об исполнительном производстве
- О персональных данных
- О налогах на имущество физических лиц
- О средствах массовой информации
- Производственный календарь на 2026 год
- Федеральный закон "О полиции" N 3-ФЗ
- Расходы организации ПБУ 10/99
- Минимальный размер оплаты труда (МРОТ)
- Календарь бухгалтера на 2025 год
- Частичная мобилизация: обзор новостей
- Постановление Правительства РФ N 1875











