Рекомендации по дегазации разрабатываемых пластов скважинами с применением подземного гидроразрыва
62. Дегазацию с предварительным гидроразрывом пластов рекомендуется применять с целью повышения ее эффективности и сокращения сроков дегазации.
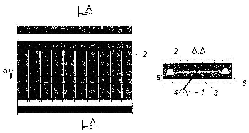
63. Подземные скважины гидроразрыва рекомендуется бурить по двум основным схемам: из полевых выработок - при полевой подготовке, представленной на рисунке 17, и по разрабатываемому пласту - при пластовой подготовке, представленной на рисунке 18. Скважины для гидроразрыва рекомендуется бурить восстающими, нисходящими или горизонтальными.
В выработках, пройденных с подрывкой почвы пласта, скважины гидроразрыва рекомендуется бурить на пласт с таким расчетом, чтобы устье скважины находилось в породах почвы.
64. Забои скважин, пробуренных из полевых выработок, рекомендуется располагать в средней части дегазируемого участка, считая по длине лавы.
Обсадную трубу рекомендуется герметизировать до почвы обрабатываемого пласта.
65. Длину скважин, пробуренных по пласту, рекомендуется принимать на 30 - 40 м меньше длины лавы для проведения дегазации только очистных выработок и на 10 - 20 м меньше длины лавы для проведения дегазации очистных и подготовительных выработок.
66. Гидроразрыв пласта допускается осуществлять водой из шахтного водопровода, нагнетаемой под давлением 15 - 20 МПа. Темп закачки 30 - 40 м3/ч.
67. Параметры гидроразрыва пласта через скважины, пробуренные из горных выработок, рекомендуется определять опытным путем.
Глубину герметизации пластовых скважин гидроразрыва рекомендуется принимать не менее половины расстояния между ними.
Условия применения и параметры гидроразрыва пластов рекомендуется согласовывать с научно-исследовательской организацией, разработавшей способ.
68. При подготовке и проведении гидроразрыва из выработок рекомендуется предусматривать:
измерение дебита метана из скважин до гидроразрыва пласта;
опробование насоса и электродвигателя до подключения к скважине (без нагрузки);
опрессовку нагнетательного става и насоса до давления 20 МПа;
контроль давления на насосе и расход воды.
69. Гидроразрыв пласта рекомендуется прекращать после закачки в пласт заданного объема жидкости, появления воды в соседних скважинах или прилегающих выработках, при резком падении давления жидкости на насосе.
70. Скважины гидроразрыва рекомендуется подключать к вакуумной сети после прекращения обильного выделения воды. Эффективность гидроразрыва пласта определяют путем измерения дебита метана.
Рисунок 17 - Схема дегазации с предварительным
гидроразрывом угольного массива через скважины, пробуренные
из полевой выработки:
1 - полевой штрек; 2 - дегазационные скважины; 3 - скважины гидроразрыва; 4 - дегазационный трубопровод; 5 - конвейерный штрек; 6 - вентиляционный штрек;
- угол падения пласта
Рисунок 18 - Схема дегазации с предварительным
гидроразрывом пласта через скважины, пробуренные
из пластовой выработки:
1 - конвейерный бремсберг; 2 - дегазационная скважина; 3 - скважина гидроразрыва; 4 - дегазационный трубопровод
71. Пластовые дегазационные скважины рекомендуется бурить после проведения гидроразрыва.
72. Применение гидроразрыва угольных пластов в импульсном режиме, поинтервального гидроразрыва и других способов рекомендуется выполнять по рекомендациям научно-исследовательских институтов, являющихся их разработчиками.
- Гражданский кодекс (ГК РФ)
- Жилищный кодекс (ЖК РФ)
- Налоговый кодекс (НК РФ)
- Трудовой кодекс (ТК РФ)
- Уголовный кодекс (УК РФ)
- Бюджетный кодекс (БК РФ)
- Арбитражный процессуальный кодекс
- Конституция РФ
- Земельный кодекс (ЗК РФ)
- Лесной кодекс (ЛК РФ)
- Семейный кодекс (СК РФ)
- Уголовно-исполнительный кодекс
- Уголовно-процессуальный кодекс
- Производственный календарь на 2025 год
- МРОТ 2025
- ФЗ «О банкротстве»
- О защите прав потребителей (ЗОЗПП)
- Об исполнительном производстве
- О персональных данных
- О налогах на имущество физических лиц
- О средствах массовой информации
- Производственный календарь на 2026 год
- Федеральный закон "О полиции" N 3-ФЗ
- Расходы организации ПБУ 10/99
- Минимальный размер оплаты труда (МРОТ)
- Календарь бухгалтера на 2025 год
- Частичная мобилизация: обзор новостей
- Постановление Правительства РФ N 1875

