к руководству по безопасности
"Общие рекомендации по безопасной
эксплуатации зданий, сооружений
и инженерно-технических систем
для обеспечения противоаварийной
устойчивости объектов производств
боеприпасов и спецхимии",
утвержденному приказом Ростехнадзора
от 25 октября 2023 г. N 387
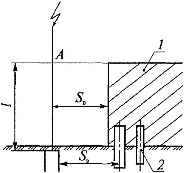
Рисунок 1. Отдельно стоящий стержневой молниеотвод: 1 - протяженность токопровода от точки А до заземлителя; Sв - наименьшее допустимое расстояние до защищаемого сооружения; Sз - наименьшее допустимое расстояние от заземлителя до металлических коммуникаций; 1 - защищаемое сооружение; 2 - металлические коммуникации.
Рисунок 2. Отдельно стоящий тросовый молниеотвод: L - расстояние между молниеотводами; L1, L3 - протяженность токопроводов; L2 - высота защищаемого сооружения; Sв1, Sв2 - наименьшие допустимые расстояния от тросового молниеотвода соответственно в точках A и C до защищаемого сооружения; Sз - наименьшее допустимое расстояние от заземления до металлических коммуникаций; 1 - защищаемое сооружение; 2 - металлические коммуникации.
Рисунок 3. Наименьшие допустимые расстояния от стержневого
молниеотвода до защищаемого сооружения
Рисунок 4. Наименьшие допустимые расстояния от троса
в середине пролета до защищаемого сооружения
Рисунок 5. Наименьшие допустимые расстояния от молниеотвода
до защищаемого сооружения
Рисунок 6. Схема защиты от заноса высоких потенциалов
в хранилище
Рисунок 7. Схема зоны защиты одиночного стержневого
молниеотвода: 1, 2 - границы зоны защиты на уровнях
соответственно земли и высоты защищаемого сооружения
Рисунок 8. Схема зоны защиты двойного стержневого
молниеотвода: 1, 2, 3 - границы зоны защиты на уровнях
соответственно земли и высоты защищаемого сооружения
Рисунок 9. Схема зоны защиты двух стержневых молниеотводов
разной высоты: 1, 2 - границы зон защиты на уровнях
соответственно земли и высоты защищаемого сооружения
Рисунок 10. Схема зоны защиты (в плане) многократного
стержневого молниеотвода: L1, L2, L3 - расстояния
между молниеотводами; 1, 2 - границы зон защиты на уровнях
соответственно земли и высоты защищаемого сооружения
Рисунок 11. Схема зоны защиты одиночного тросового
молниеотвода: 1, 2 - границы зон защиты на уровнях
соответственно земли и высоты защищаемого сооружения;
3 - трос
Рисунок 12. Схема зоны защиты двойного тросового
молниеотвода: 1, 2, 3 - границы зон защиты на уровнях
соответственно земли и высоты защищаемого сооружения;
4 - трос
Рисунок 13. Устройство стержневых молниеотводов
на деревянных опорах: а - двух; б - одной
Рисунок 14. Конструкции молниеприемников из круглой стали
(а), стальной проволоки диаметром 2 - 3 мм (б), стальной
трубы (в), полосовой стали (г), угловой стали (д):
1 - токоотвод
Рисунок 15. Зажим для присоединения плоского (а) и круглого
(б) токоотводов к металлической кровле: 1 - токоотвод;
2 - кровля; 3 - свинцовая прокладка; 4 - стальная пластина;
5 - пластина с приваренным токоотводом
Рисунок 16. Двухлучевая (а) и однолучевая (б) схемы
расположения электродов при измерении сопротивлений сложных
заземлений и одиночных горизонтальных полос:
П - потенциальный электрод; Т - токовый электрод
Рисунок 17. Схема измерения сопротивления заземлителей способом трех измерений
- Гражданский кодекс (ГК РФ)
- Жилищный кодекс (ЖК РФ)
- Налоговый кодекс (НК РФ)
- Трудовой кодекс (ТК РФ)
- Уголовный кодекс (УК РФ)
- Бюджетный кодекс (БК РФ)
- Арбитражный процессуальный кодекс
- Конституция РФ
- Земельный кодекс (ЗК РФ)
- Лесной кодекс (ЛК РФ)
- Семейный кодекс (СК РФ)
- Уголовно-исполнительный кодекс
- Уголовно-процессуальный кодекс
- Производственный календарь на 2025 год
- МРОТ 2025
- ФЗ «О банкротстве»
- О защите прав потребителей (ЗОЗПП)
- Об исполнительном производстве
- О персональных данных
- О налогах на имущество физических лиц
- О средствах массовой информации
- Производственный календарь на 2026 год
- Федеральный закон "О полиции" N 3-ФЗ
- Расходы организации ПБУ 10/99
- Минимальный размер оплаты труда (МРОТ)
- Календарь бухгалтера на 2025 год
- Частичная мобилизация: обзор новостей
- Постановление Правительства РФ N 1875
















