1. Область действия распространяется на горные выработки шириной в проходке до 12 м, при следующих способах их охраны от влияния очистных работ:
вне влияния очистных работ при ширине охранных угольных целиков больше 0,1H, но не менее 30 м;
в зоне влияния очистных работ с шириной охранного целика более 15 м, но не менее 0,1H.
2. В зависимости от характеристики пород кровли и ширины проводимой горной выработки возможны три схемы их проведения:
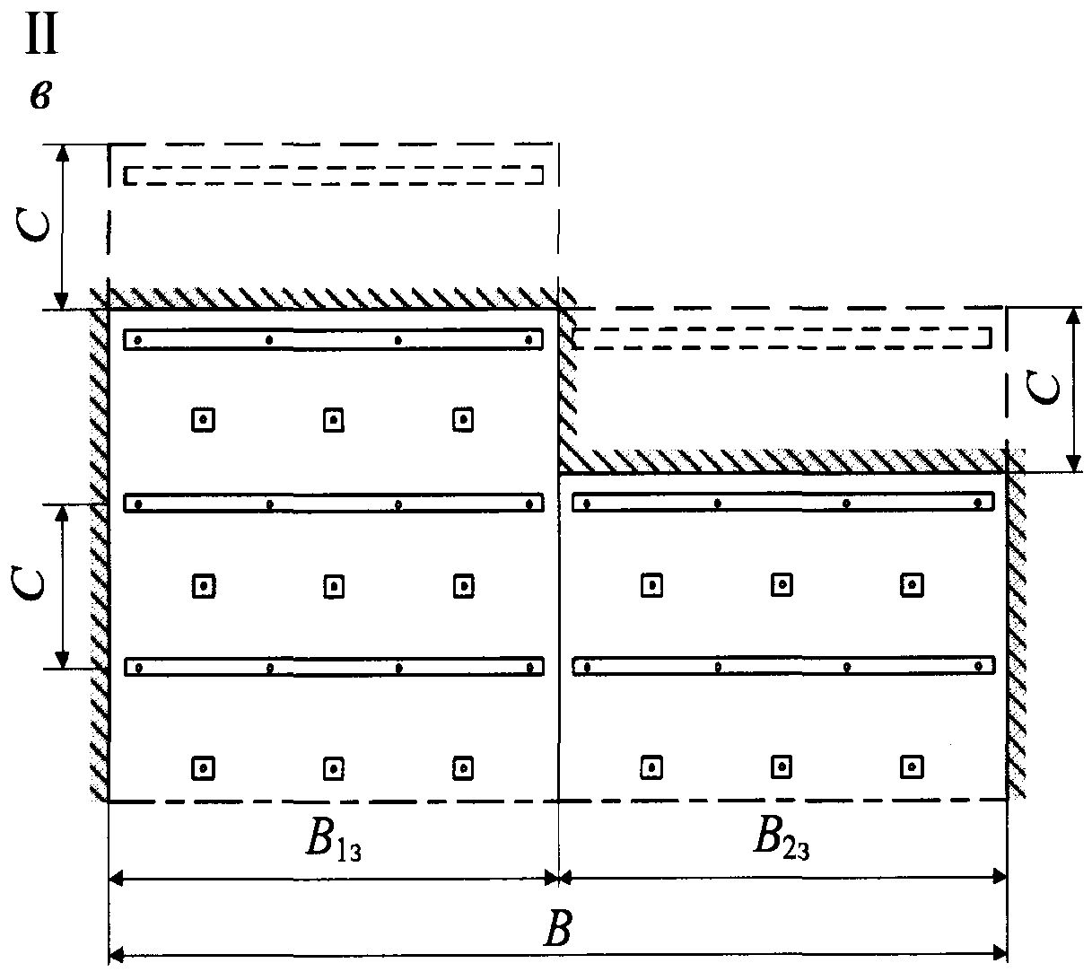
схема I - проведение горной выработки сразу на полную ширину B с величиной заходки lзах не менее шага установки крепи C (расстояние между рядами анкеров);
схема II - проведение горной выработки двумя заходками с разделением ее ширины на две части (B1з и B2з);
схема III - поэтапное проведение широкой горной выработки.
Для I и II схем должно выполняться условие:
где Sпр - площадь проводимой заходки, м2;
Sу - площадь устойчивого обнажения пород кровли, зависящая от класса пород кровли по устойчивости, определяемого по таблице N 5 приложения N 1, имеет следующие значения:
I класс, неустойчивые породы - Sу = 2,0 - 5,0 м2;
II класс, породы средней устойчивости - Sу = 5,0 - 10,0 м2;
III класс, устойчивые породы - Sу = 10,0 - 20,0 м2.
Величина Sпр регламентируется документацией крепления горной выработки с учетом шага установки крепи.
Для схемы I необходимо выполнение условия:
Для схемы II необходимо выполнить условие:
I и II схемы проведения горной выработки показаны на рисунке 1 приложения.
При III схеме широкая горная выработка проводится в два этапа. На первом этапе она проводится и крепится на всю длину. На втором проводится присечка и горная выработка расширяется до проектной ширины.
3. Исходными данными при расчете показателей проявлений горного давления для определения параметров анкерной крепи широких горных выработок являются следующие:
условия проходки, охраны и поддержания горной выработки;
срок службы горной выработки t, год;
расчетная глубина размещения горной выработки от поверхности H, м;
тип строения пород кровли и их устойчивость;
мощность слоев пород m1, m2, ..., mn, на высоту равную ширине горной выработки B, м;
сопротивление одноосному сжатию каждого слоя пород кровли и боков горной выработки Rс, МПа;
нарушенность пород трещиноватостью kс;
направление проходки горной выработки (в крест простирания пород, по простиранию, под углом);
ширина и высота горной выработки в проходке B и h, м;
расстояние до других горных выработок l, м;
количество заходок и их ширина B1з, B2з, ..., Bnз;
расстояние до очистных работ, lо, м;
характеристика крепи (несущая способность анкеров, тип затяжки, подхватов).
Рис. 1. Технологические схемы проведения горной выработки на полную ширину B: а) - с величиной заходки равной C; б) - с величиной заходки равной 2C, в) - с разделением ширины горной выработки на две заходки B1з и B2з.
Основные перечисленные исходные данные, необходимые для расчета смещений пород в горных выработках, определяются и принимаются в соответствии с положениями раздела I приложения N 1 к Инструкции.
- Гражданский кодекс (ГК РФ)
- Жилищный кодекс (ЖК РФ)
- Налоговый кодекс (НК РФ)
- Трудовой кодекс (ТК РФ)
- Уголовный кодекс (УК РФ)
- Бюджетный кодекс (БК РФ)
- Арбитражный процессуальный кодекс
- Конституция РФ
- Земельный кодекс (ЗК РФ)
- Лесной кодекс (ЛК РФ)
- Семейный кодекс (СК РФ)
- Уголовно-исполнительный кодекс
- Уголовно-процессуальный кодекс
- Производственный календарь на 2025 год
- МРОТ 2026
- ФЗ «О банкротстве»
- О защите прав потребителей (ЗОЗПП)
- Об исполнительном производстве
- О персональных данных
- О налогах на имущество физических лиц
- О средствах массовой информации
- Производственный календарь на 2026 год
- Федеральный закон "О полиции" N 3-ФЗ
- Расходы организации ПБУ 10/99
- Минимальный размер оплаты труда (МРОТ)
- Календарь бухгалтера на 2026 год
- Частичная мобилизация: обзор новостей
- Постановление Правительства РФ N 1875


