к федеральным нормам и правилам
в области промышленной безопасности
"Правила безопасности объектов
сжиженного природного газа",
утвержденным приказом Федеральной
службы по экологическому,
технологическому и атомному надзору
от 11 декабря 2020 г. N 521

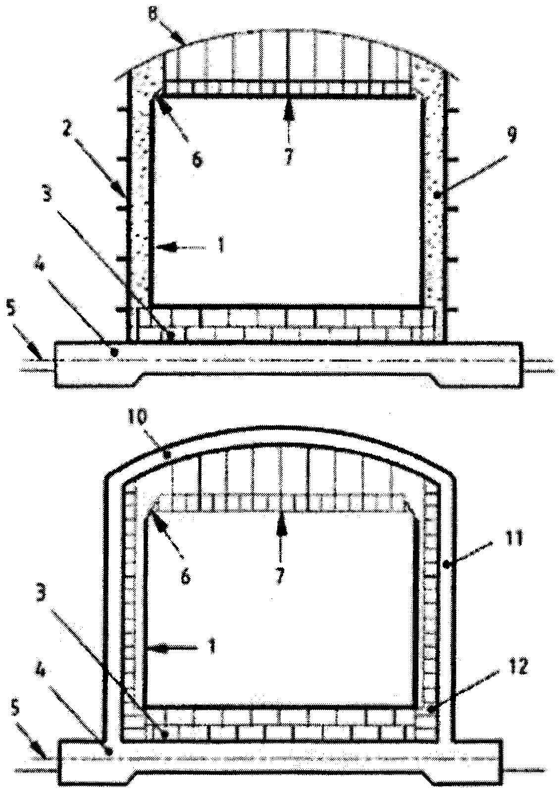
Рисунок 1. Двустенный (двухоболочечный с полной
герметизацией) резервуар
1 - первичный контейнер (стальной); 2 - вторичный контейнер (стальной); 3 - изоляция днища;
4 - фундамент; 5 - система обогрева фундамента; 6 - гибкое изоляционное уплотнение;
7 - подвесное перекрытие (изолированное); 8 - крыша (стальная); 9 - засыпная изоляция;
10 - железобетонная крыша; 11 - внешний резервуар из предварительно напряженного железобетона (вторичный контейнер); 12 - изоляция внутри внешнего резервуара.

Рисунок 2. Мембранный резервуар
1 - первичный контейнер (мембранный); 2 - вторичный контейнер (железобетонный);
3 - изоляция днища; 4 - фундамент; 5 - система обогрева фундамента; 6 - гибкое изоляционное уплотнение; 7 - подвесное перекрытие (изолированное); 8 - железобетонная крыша;
9 - изоляция внутри внешнего резервуара из предварительно напряженного железобетона

Рисунок 3. Мембранный резервуар в корпусе (секция
хранения) ОГТ
1 - первичный контейнер (мембранный); 2 - изоляция днища; 3 - изоляция стен; 4 - изоляция крыши; 5 - система подогрева днища и стен; 6 - вторичный контейнер (железобетон);
7 - балласт; 8 - морское дно
- Гражданский кодекс (ГК РФ)
- Жилищный кодекс (ЖК РФ)
- Налоговый кодекс (НК РФ)
- Трудовой кодекс (ТК РФ)
- Уголовный кодекс (УК РФ)
- Бюджетный кодекс (БК РФ)
- Арбитражный процессуальный кодекс
- Конституция РФ
- Земельный кодекс (ЗК РФ)
- Лесной кодекс (ЛК РФ)
- Семейный кодекс (СК РФ)
- Уголовно-исполнительный кодекс
- Уголовно-процессуальный кодекс
- Производственный календарь на 2025 год
- МРОТ 2026
- ФЗ «О банкротстве»
- О защите прав потребителей (ЗОЗПП)
- Об исполнительном производстве
- О персональных данных
- О налогах на имущество физических лиц
- О средствах массовой информации
- Производственный календарь на 2026 год
- Федеральный закон "О полиции" N 3-ФЗ
- Расходы организации ПБУ 10/99
- Минимальный размер оплаты труда (МРОТ)
- Календарь бухгалтера на 2026 год
- Частичная мобилизация: обзор новостей
- Постановление Правительства РФ N 1875