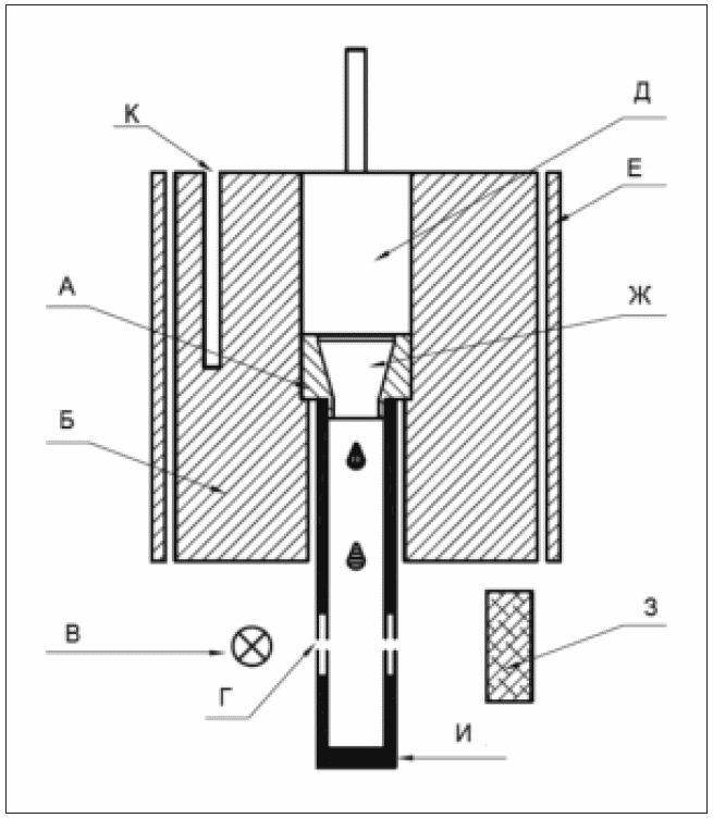
Прибор. Для проведения испытания используют прибор, представленный на рисунке 2.1.2.44.-2, который состоит из сборного картриджа, включающего держатель, в котором свободно фиксируется чашка с испытуемым образцом, и приемника с горизонтальным просветом, который фиксируется под чашкой. Данный картридж вставляют в блок нагревания. Блок представляет собой металлический цилиндр с цилиндрической щелью вдоль его вертикальной оси, внутри которой помещают сборный картридж. Кроме того, имеется другая, более узкая цилиндрическая вертикальная щель, в которую устанавливают температурный датчик на уровне чашки для проб. Снаружи нагревательного блока располагается электрический нагревательный элемент. Под нагревательный блок устанавливают лампу таким образом, чтобы поток света проходил через просвет в приемник на установленный напротив фотодатчик. Блок нагревания с помощью нагревательного элемента способен поддерживать точно установленную температуру, а также нагреваться медленно с постоянной определенной скоростью после начального изотермического периода.
Рисунок 2.1.2.44.-2. - Пример прибора автоматического определения температуры каплепадения. А - держатель чашки; Б - блок нагревания; В - источник света; Г - щель; Д - сборный картридж; Е - нагревательный элемент; Ж - чашка с испытуемым образцом; 3 - фотодатчик; И - приемник; К - температурный датчик
Методика. Испытуемый образец подготавливают согласно указаниям частной фармакопейной статьи и (или) нормативного документа по качеству и проводят испытание как указано ниже или в соответствии с инструкциями производителя. Избыток образца удаляют с обеих сторон чашки шпателем. Чашку помещают в держатель и присоединяют рукав. Сборный картридж помещают в блок нагревания. На приборе выставляют первоначальные изотермические условия и скорость постепенного нагревания в соответствии с указаниями частной фармакопейной статьи и (или) нормативного документа по качеству. Включают программу температурного режима. Когда первая капля расплавленного образца упадет через щель на дно чашки, тем самым прерывая поток света, сигнал фотодатчика приведет к автоматической регистрации температуры блока нагревания.
Калибровка прибора. Прибор используют в соответствии с инструкциями производителя. В зависимости от использования прибора и испытуемых образцов, регулярно проводят предписанную калибровку и проверку эксплуатационных характеристик системы. Обычно используют сертифицированные стандартные образцы бензойной кислоты и бензофенона. Допускается применение других веществ при условии, что они не проявляют полиморфизм. Калибровку проводят в соответствии с инструкциями производителя или следующим образом. Для каждого из двух сертифицированных стандартных образцов готовят по три чашки и размещают их на чистой поверхности. В каждую чашку помещают небольшое количество сертифицированного стандартного образца и уплотняют стержнем (диаметр около 4,5 мм). Проверяют, чтобы отверстие было полностью заполнено. Наполняют чашку примерно наполовину и уплотняют образцы с помощью стержня (диаметр около 9 мм). Чашку наполняют и уплотняют, при необходимости добавляя образец, пока чашка не будет полностью заполнена.
Температурная программа для бензойной кислоты: начальная температура - 118,0 °C; скорость нагрева - 0,2 °C/мин; конечная температура - 126,0 °C. После установки чашки выдерживают в течение 30 с при температуре 118 °C до начала нагревания.
Температурная программа для бензофенона: начальная температура - 44,0 °C; скорость нагрева - 0,2 °C/мин; конечная температура - 56,0 °C. После установки чашки выдерживают в течение 30 с при температуре 44 °C до начала нагревания.
Проверяют три отдельных результата. Результаты испытания считают достоверными, если полученные значения находятся в пределах +/- 0,3 °C от среднего значения.
Исправленное среднее значение температуры (T2) рассчитывают по формуле:
где: T1 - средняя температура каплепадения по трем измерениям, в градусах Цельсия;
F - поправка на разницу температур образца и места измерения температуры в нагревательном блоке (ее значение изменяется в зависимости от конструкции прибора автоматического определения температуры каплепадения и представляется производителем).
Принимая в расчет температуру каплепадения (T0) сертифицированного стандартного образца, точность температурной шкалы считается удовлетворительной, если |T2 - T0| не превышает 0,3 °C.
- Гражданский кодекс (ГК РФ)
- Жилищный кодекс (ЖК РФ)
- Налоговый кодекс (НК РФ)
- Трудовой кодекс (ТК РФ)
- Уголовный кодекс (УК РФ)
- Бюджетный кодекс (БК РФ)
- Арбитражный процессуальный кодекс
- Конституция РФ
- Земельный кодекс (ЗК РФ)
- Лесной кодекс (ЛК РФ)
- Семейный кодекс (СК РФ)
- Уголовно-исполнительный кодекс
- Уголовно-процессуальный кодекс
- Производственный календарь на 2025 год
- МРОТ 2026
- ФЗ «О банкротстве»
- О защите прав потребителей (ЗОЗПП)
- Об исполнительном производстве
- О персональных данных
- О налогах на имущество физических лиц
- О средствах массовой информации
- Производственный календарь на 2026 год
- Федеральный закон "О полиции" N 3-ФЗ
- Расходы организации ПБУ 10/99
- Минимальный размер оплаты труда (МРОТ)
- Календарь бухгалтера на 2026 год
- Частичная мобилизация: обзор новостей
- Постановление Правительства РФ N 1875
