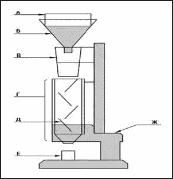
Прибор. Прибор (рисунок 2.1.10.3.-1) состоит из воронки для испытуемого образца, снабженной ситом с размером отверстий 1,0 мм, погрузочной воронки, установленной над камерой с четырьмя наклоненными стеклянными перегородками, по которым испытуемый образец скользит и направляется по ходу движения. В нижней части камеры находится воронка, направляющая испытуемый образец в чашку для приема образца, установленную непосредственно под ней. Чашка может быть цилиндрической (объем (25,00 +/- 0,05) мл и внутренний диаметр (30,00 +/- 2,00) мм) или квадратной (объем (16,39 +/- 2,00) мл и внутренние размеры (25,400 +/- 0,076) мм).
Рисунок 2.1.10.3.-1. - Волюметр. А - Сито с размером отверстий 1,0 мм; Б - воронка для испытуемого образца; В - погрузочная воронка; Г - камера; Д - стеклянные перегородки; Е - чашка для приема испытуемого образца; Ж - подставка
Методика. Испытуемый образец в избытке пропускают через устройство в чашку до ее переполнения, используя не менее 25 см3 образца для квадратной чашки и не менее 35 см3 образца для цилиндрической чашки. Излишек испытуемого образца в чашке осторожно выравнивают без уплотнения, равномерным перемещением шпателя перпендикулярно к ее краям. Со стенок чашки удаляют остатки испытуемого образца и определяют массу (m) образца с точностью 0,1%.
Насыпную плотность в граммах на миллилитр (г/мл) рассчитывают по формуле:
где: V0 - начальный объем неуплотненного испытуемого образца, в миллилитрах;
m - масса испытуемого образца, в граммах.
Вычисляют среднее значение трех определений, используя три разных испытуемых образца.
- Гражданский кодекс (ГК РФ)
- Жилищный кодекс (ЖК РФ)
- Налоговый кодекс (НК РФ)
- Трудовой кодекс (ТК РФ)
- Уголовный кодекс (УК РФ)
- Бюджетный кодекс (БК РФ)
- Арбитражный процессуальный кодекс
- Конституция РФ
- Земельный кодекс (ЗК РФ)
- Лесной кодекс (ЛК РФ)
- Семейный кодекс (СК РФ)
- Уголовно-исполнительный кодекс
- Уголовно-процессуальный кодекс
- Производственный календарь на 2025 год
- МРОТ 2026
- ФЗ «О банкротстве»
- О защите прав потребителей (ЗОЗПП)
- Об исполнительном производстве
- О персональных данных
- О налогах на имущество физических лиц
- О средствах массовой информации
- Производственный календарь на 2026 год
- Федеральный закон "О полиции" N 3-ФЗ
- Расходы организации ПБУ 10/99
- Минимальный размер оплаты труда (МРОТ)
- Календарь бухгалтера на 2026 год
- Частичная мобилизация: обзор новостей
- Постановление Правительства РФ N 1875
