Все части прибора, которые могут контактировать с образцом или средой растворения, должны быть химически инертными и не должны адсорбировать, реагировать или влиять каким-либо другим способом на испытуемый образец. Не должно быть никаких заметных движений, колебаний или вибраций, происходящих от частей прибора или окружающей среды, кроме тех, которые создаются проточной системой.
Предпочтительно использовать прибор, позволяющий наблюдать за испытуемым образцом.
Прибор (рисунок 2.1.10.7.-1) состоит из следующих частей:
- резервуар для среды растворения (А);
- насос для перекачивания среды растворения через проточную ячейку (Б);
- термостатируемая проточная ячейка из прозрачного инертного материала, установленная вертикально, с фильтрующей системой, предотвращающей удаление нерастворившихся частиц, с водяной баней, поддерживающей выбранную температуру среды растворения в диапазоне (37 +/- 0,5) °C (В);
- сосуды-сборники для анализируемых растворов (Г).
Рисунок 2.1.10.7.-1. - Проточный прибор. А - резервуар для среды растворения; Б - насос; В - термостатируемая проточная ячейка и система фильтров; Г - сосуды-сборники для анализируемых растворов.
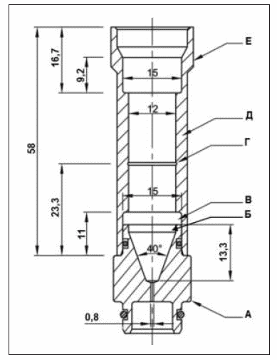
Проточная ячейка (рисунок 2.1.10.7.-2) состоит из 3 частей, которые вставляются друг в друга. Нижняя часть, на которую помещают испытуемый образец, поддерживает систему сеток и фильтров. Средняя часть, которая устанавливается на нижнюю часть, содержит вкладыш, отсеивающий испытуемый образец во время прохождения среды растворения через ячейку. Данный вкладыш состоит из двух частей: конического сита, которое размещается на образце, и зажима, расположенного на половине расстояния до средней части, для удерживания сита на месте при прохождении среды растворения. Второй фильтрующий элемент (сетка и фильтр) расположен на вершине средней части перед соединением с верхней частью, через которую среда растворения выливается из ячейки.
Рисунок 2.1.10.7.-2. - Проточная ячейка. Размеры указаны в миллиметрах. А - нижняя часть; Б - вкладыш; В - сито; Г - зажим; Д - средняя часть; Е - верхняя часть.
- Гражданский кодекс (ГК РФ)
- Жилищный кодекс (ЖК РФ)
- Налоговый кодекс (НК РФ)
- Трудовой кодекс (ТК РФ)
- Уголовный кодекс (УК РФ)
- Бюджетный кодекс (БК РФ)
- Арбитражный процессуальный кодекс
- Конституция РФ
- Земельный кодекс (ЗК РФ)
- Лесной кодекс (ЛК РФ)
- Семейный кодекс (СК РФ)
- Уголовно-исполнительный кодекс
- Уголовно-процессуальный кодекс
- Производственный календарь на 2025 год
- МРОТ 2026
- ФЗ «О банкротстве»
- О защите прав потребителей (ЗОЗПП)
- Об исполнительном производстве
- О персональных данных
- О налогах на имущество физических лиц
- О средствах массовой информации
- Производственный календарь на 2026 год
- Федеральный закон "О полиции" N 3-ФЗ
- Расходы организации ПБУ 10/99
- Минимальный размер оплаты труда (МРОТ)
- Календарь бухгалтера на 2026 год
- Частичная мобилизация: обзор новостей
- Постановление Правительства РФ N 1875

