Используется прибор "Проточная ячейка" (рисунок 2.1.9.15.-1), который состоит из:
- резервуара для среды растворения, помещенного на водяную баню;
- водяной бани, поддерживающей температуру среды растворения в диапазоне значений (37,0 +/- 0,5) °C;
- насоса, перекачивающего среду растворения через проточную ячейку;
- термостатируемой проточной ячейки с системой фильтров;
Рисунок 2.1.9.15.-1. - Схема прибора "Проточная ячейка"
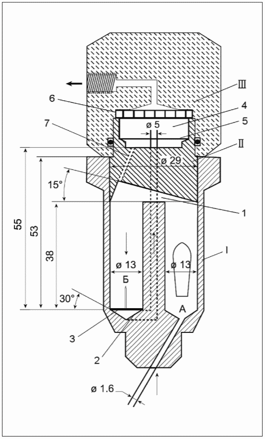
Проточная ячейка состоит из 3 прозрачных частей, вставляемых одна в другую (рисунок 2.1.9.15.-2):
I. Нижняя часть состоит из 2 смежных камер (А и Б), соединенных переливным отверстием (1).
Среда растворения попадает в камеру А с восходящим потоком, затем переходит в камеру Б, где поток является нисходящим, и проходит через небольшое выходное отверстие (2), ведущее наверх к фильтрующему устройству. Перед выходным отверстием может быть установлено сито с острием (3), улавливающее крупные частицы.
II. Средняя часть ячейки имеет полость для сбора липофильных наполнителей (4), которые плавают на поверхности среды растворения. Металлическая сетка (5) служит грубым фильтром.
III. Фильтрующая часть снабжена фильтром (6) из бумаги, стекловолокна или целлюлозы.
Рисунок 2.1.9.15.-2. - Проточная ячейка. Размеры указаны в миллиметрах. А - камера с восходящим потоком; Б - камера с нисходящим потоком; 1 - переливное отверстие; 2 - выходное отверстие; 3 - сито с острием; 4 - полость для сбора липофильных наполнителей; 5 - металлическая сетка; 6 - фильтр; 7 - капилляр
- Гражданский кодекс (ГК РФ)
- Жилищный кодекс (ЖК РФ)
- Налоговый кодекс (НК РФ)
- Трудовой кодекс (ТК РФ)
- Уголовный кодекс (УК РФ)
- Бюджетный кодекс (БК РФ)
- Арбитражный процессуальный кодекс
- Конституция РФ
- Земельный кодекс (ЗК РФ)
- Лесной кодекс (ЛК РФ)
- Семейный кодекс (СК РФ)
- Уголовно-исполнительный кодекс
- Уголовно-процессуальный кодекс
- Производственный календарь на 2025 год
- МРОТ 2026
- ФЗ «О банкротстве»
- О защите прав потребителей (ЗОЗПП)
- Об исполнительном производстве
- О персональных данных
- О налогах на имущество физических лиц
- О средствах массовой информации
- Производственный календарь на 2026 год
- Федеральный закон "О полиции" N 3-ФЗ
- Расходы организации ПБУ 10/99
- Минимальный размер оплаты труда (МРОТ)
- Календарь бухгалтера на 2026 год
- Частичная мобилизация: обзор новостей
- Постановление Правительства РФ N 1875

