Таблица 1.2.13 - Перечень материалов и изделий, предназначенных для возведения трех погонных метров ограждения из металлической сетки высотой 3,0 м на деревянных стойках
Таблица 1.2.13 - Перечень материалов и изделий,
предназначенных для возведения трех погонных метров
ограждения из металлической сетки высотой 3,0 м
на деревянных стойках
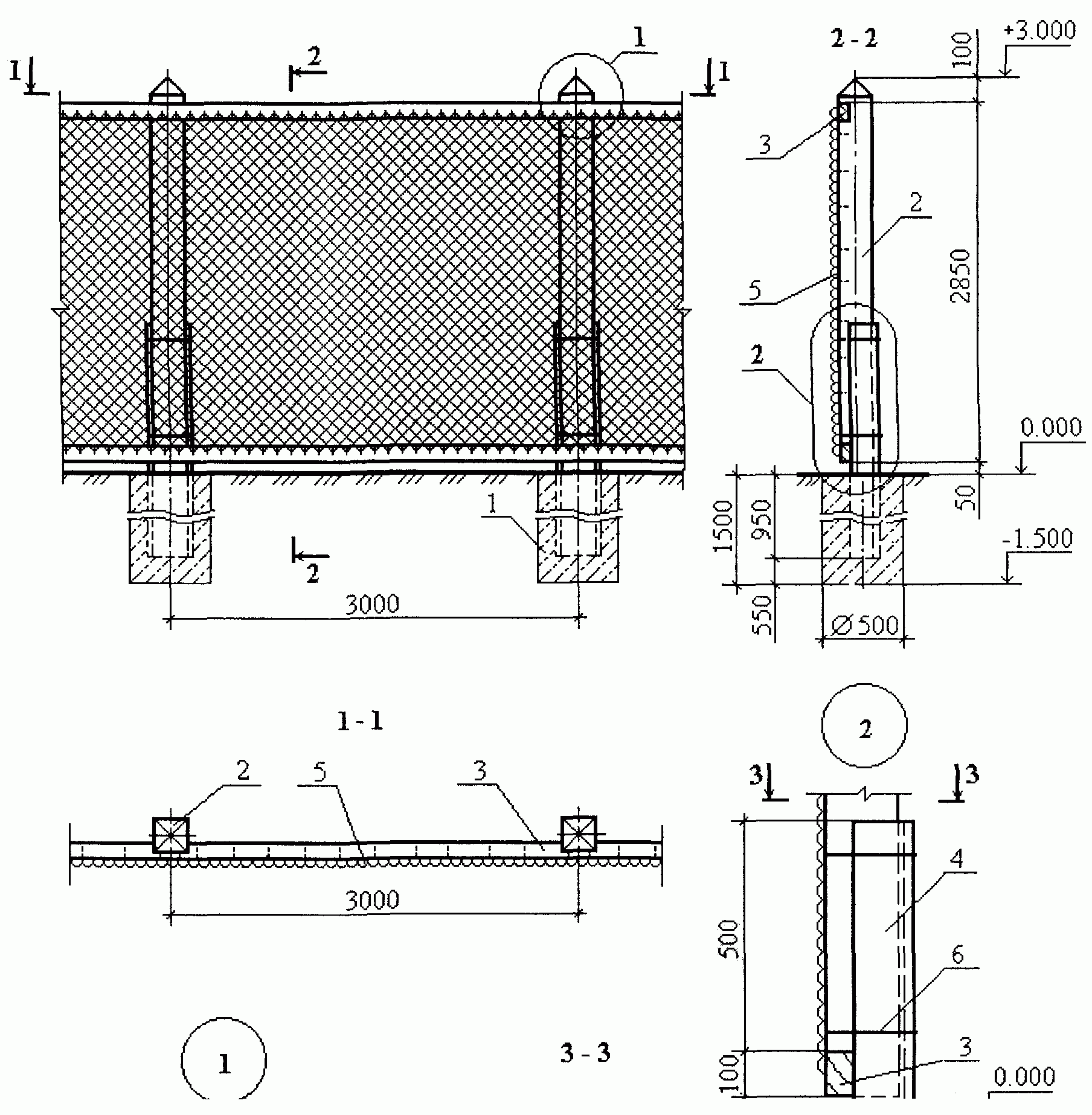
Ограждение из металлической сетки высотой 3,0 м с шагом опор 2,1 м представлено на рисунке 1.2.14 (таблица 1.2.14).
Таблица 1.2.12 - Перечень материалов и изделий, предназначенных для возведения трех погонных метров ограждения из металлической сетки высотой 3,0 м на деревянных стойках
Таблица 1.2.14 - Перечень материалов и изделий, предназначенных для возведения 2,1 погонных метров ограждения из металлической сетки высотой 3,0 м
- Гражданский кодекс (ГК РФ)
- Жилищный кодекс (ЖК РФ)
- Налоговый кодекс (НК РФ)
- Трудовой кодекс (ТК РФ)
- Уголовный кодекс (УК РФ)
- Бюджетный кодекс (БК РФ)
- Арбитражный процессуальный кодекс
- Конституция РФ
- Земельный кодекс (ЗК РФ)
- Лесной кодекс (ЛК РФ)
- Семейный кодекс (СК РФ)
- Уголовно-исполнительный кодекс
- Уголовно-процессуальный кодекс
- Производственный календарь на 2025 год
- МРОТ 2026
- ФЗ «О банкротстве»
- О защите прав потребителей (ЗОЗПП)
- Об исполнительном производстве
- О персональных данных
- О налогах на имущество физических лиц
- О средствах массовой информации
- Производственный календарь на 2026 год
- Федеральный закон "О полиции" N 3-ФЗ
- Расходы организации ПБУ 10/99
- Минимальный размер оплаты труда (МРОТ)
- Календарь бухгалтера на 2026 год
- Частичная мобилизация: обзор новостей
- Постановление Правительства РФ N 1875

