Таблица 2.2.6 - Перечень изделий и материалов, предназначенных для изготовления одного противотаранного транспортабельного упора
КонсультантПлюс: примечание.
Нумерация таблиц дана в соответствии с официальным текстом документа.
Таблица 2.2.6 - Перечень изделий и материалов,
предназначенных для изготовления одного противотаранного
транспортабельного упора
Тормозные башмаки (рисунок 2.2.12) соединяются попарно металлическим уголком 25 x 25 x 4 мм на расстоянии, равном ширине колеи железной дороги.
Рисунок 2.2.12 - Тормозные башмаки
Зажим-укосина (рисунок 2.2.13) изготавливается из деревянного бруска сечением 200 x 250 мм и длиной 2350 мм.
Рисунок 2.2.13 - Зажим-укосина
На одной из сторон бруса делаются два параллельных паза клиновидной формы на расстоянии, равном ширине колеи под углом 20° к поперечному сечению бруса. На противоположной стороне бруса крепятся ручки для переноса и установки.
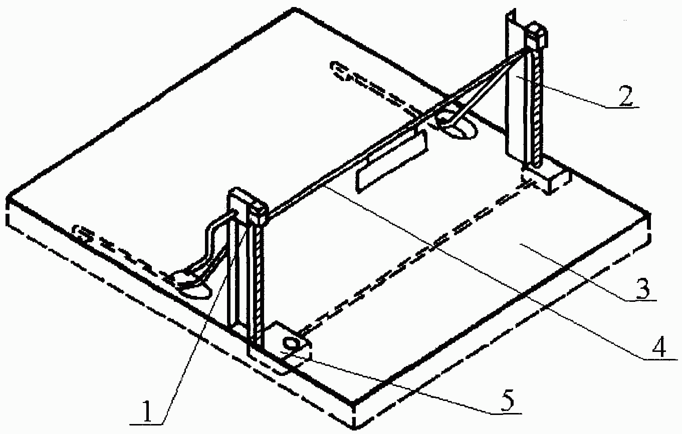
Платформа с канатом (рисунок 2.2.14) состоит из:
- механизма подъема и опускания каната;
1 - фиксатор; 2 - вертикальная стойка; 3 - платформа;
4 - канат; 5 - электропривод
Рисунок 2.2.14 - Платформа с канатом
Технические данные платформы приведены в таблице 2.2.7. Платформа с упорами (рисунок 2.2.15) состоит из:
1 - ось; 2 - электропривод; 3 - ограничитель;
4 - платформа; 5 - упор
- Гражданский кодекс (ГК РФ)
- Жилищный кодекс (ЖК РФ)
- Налоговый кодекс (НК РФ)
- Трудовой кодекс (ТК РФ)
- Уголовный кодекс (УК РФ)
- Бюджетный кодекс (БК РФ)
- Арбитражный процессуальный кодекс
- Конституция РФ
- Земельный кодекс (ЗК РФ)
- Лесной кодекс (ЛК РФ)
- Семейный кодекс (СК РФ)
- Уголовно-исполнительный кодекс
- Уголовно-процессуальный кодекс
- Производственный календарь на 2025 год
- МРОТ 2026
- ФЗ «О банкротстве»
- О защите прав потребителей (ЗОЗПП)
- Об исполнительном производстве
- О персональных данных
- О налогах на имущество физических лиц
- О средствах массовой информации
- Производственный календарь на 2026 год
- Федеральный закон "О полиции" N 3-ФЗ
- Расходы организации ПБУ 10/99
- Минимальный размер оплаты труда (МРОТ)
- Календарь бухгалтера на 2026 год
- Частичная мобилизация: обзор новостей
- Постановление Правительства РФ N 1875



