Таблица 6.1. Минимальные размеры камер для осужденных и лиц, содержащихся под стражей, и туалетной кабины
Таблица 6.1. Минимальные размеры камер для осужденных
и лиц, содержащихся под стражей, и туалетной кабины
|
650 или 1150 <*> |
||
|
<*> Размеры камеры для спецконтингента с двумя рядами сидений, расположенных напротив друг друга, максимальная глубина такой камеры - 1300 км. |
||
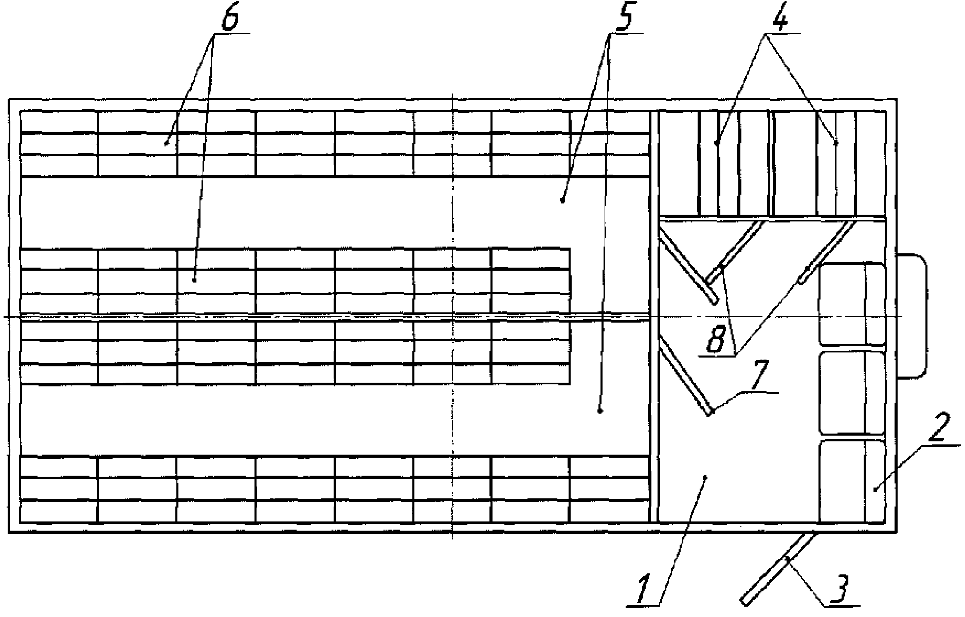
Примеры наиболее распространенных планировок рабочего салона спецавтомобилей с различным сочетанием общих и одиночных камер представлены на рисунках 6.1 а, б, в, г.
"Рисунок 6.1а. Планировка рабочего салона спецавтомобиля"
"Рисунок 6.1б. Планировка рабочего салона спецавтомобиля"
"Рисунок 6.1в. Планировка рабочего салона спецавтомобиля"
1 - помещение караула; 2 - сиденье караула;
3 - входная дверь; 4 - одиночная камера; 5 - общая камера;
6 - сиденье общей камеры; 7 - дверь общей камеры;
8 - дверь одиночной камеры; 9 - биотуалет <*>
--------------------------------
<*> Биотуалет может устанавливаться в любой из одиночных камер.
"Рисунок 6.1г. Планировка рабочего салона спецавтомобиля"
- Гражданский кодекс (ГК РФ)
- Жилищный кодекс (ЖК РФ)
- Налоговый кодекс (НК РФ)
- Трудовой кодекс (ТК РФ)
- Уголовный кодекс (УК РФ)
- Бюджетный кодекс (БК РФ)
- Арбитражный процессуальный кодекс
- Конституция РФ
- Земельный кодекс (ЗК РФ)
- Лесной кодекс (ЛК РФ)
- Семейный кодекс (СК РФ)
- Уголовно-исполнительный кодекс
- Уголовно-процессуальный кодекс
- Производственный календарь на 2025 год
- МРОТ 2026
- ФЗ «О банкротстве»
- О защите прав потребителей (ЗОЗПП)
- Об исполнительном производстве
- О персональных данных
- О налогах на имущество физических лиц
- О средствах массовой информации
- Производственный календарь на 2026 год
- Федеральный закон "О полиции" N 3-ФЗ
- Расходы организации ПБУ 10/99
- Минимальный размер оплаты труда (МРОТ)
- Календарь бухгалтера на 2026 год
- Частичная мобилизация: обзор новостей
- Постановление Правительства РФ N 1875



