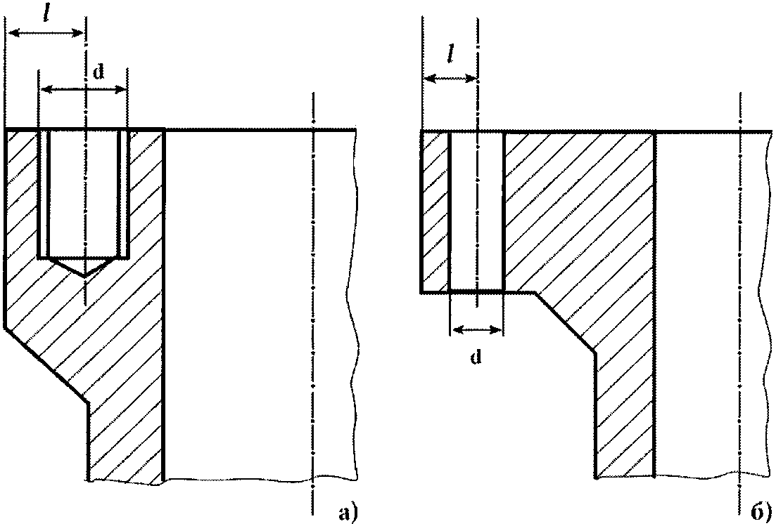
41. Минимальное расстояние l1, по срединной линии между центрами двух соседних отверстий должно быть не менее 1,4 полусуммы диаметров этих отверстий (рис. 3).

Рис. 3. Расположение отверстий на криволинейной поверхности
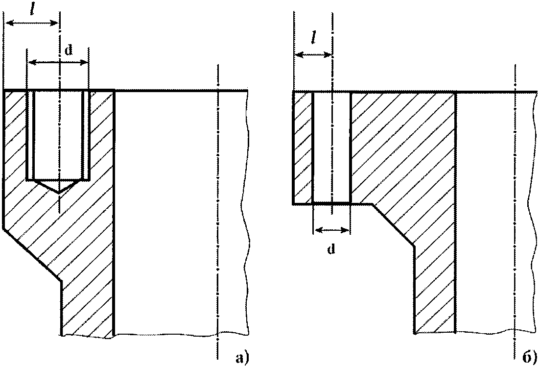
42. Расстояние
по внутренней поверхности от кромки отверстия в сферических, эллиптических, торосферических и тарельчатых крышках и днищах до их цилиндрической части, измеренное по проекции, должно быть не менее 0,1 от внутреннего диаметра цилиндрической части Dв (рис. 4).

Рис. 4. Расположение отверстий в днище
43. Расстояние l между центром отверстия под болт или шпильку во фланцах, крышках или нажимных кольцах и их кромкой должно быть не менее 0,85 диаметра отверстия (рис. 5).

- Гражданский кодекс (ГК РФ)
- Жилищный кодекс (ЖК РФ)
- Налоговый кодекс (НК РФ)
- Трудовой кодекс (ТК РФ)
- Уголовный кодекс (УК РФ)
- Бюджетный кодекс (БК РФ)
- Арбитражный процессуальный кодекс
- Конституция РФ
- Земельный кодекс (ЗК РФ)
- Лесной кодекс (ЛК РФ)
- Семейный кодекс (СК РФ)
- Уголовно-исполнительный кодекс
- Уголовно-процессуальный кодекс
- Производственный календарь на 2025 год
- МРОТ 2026
- ФЗ «О банкротстве»
- О защите прав потребителей (ЗОЗПП)
- Об исполнительном производстве
- О персональных данных
- О налогах на имущество физических лиц
- О средствах массовой информации
- Производственный календарь на 2026 год
- Федеральный закон "О полиции" N 3-ФЗ
- Расходы организации ПБУ 10/99
- Минимальный размер оплаты труда (МРОТ)
- Календарь бухгалтера на 2026 год
- Частичная мобилизация: обзор новостей
- Постановление Правительства РФ N 1875