9. Размещение и крепление автомобилей в вагонах для перевозки автомобилей
9.1. Размещение и крепление легковых автомобилей на двухъярусных платформах модели 13-479 и ее модификаций, модели 13-К651 для перевозки легковых автомобилей (рисунок 22).
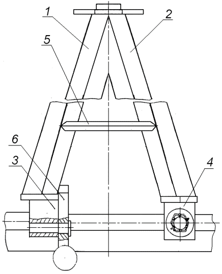
9.1.1. Двухъярусные платформы оборудованы направляющим устройством, предназначенным для самостоятельного заезда автомобилей при погрузке, выезда при выгрузке, а также для фиксирования положения автомобилей по ширине вагона.
Для закрепления автомобилей от продольных и поперечных перемещений платформы оснащены инвентарными крепежными устройствами - колесными упорами (рисунок 23), устанавливаемыми под каждое колесо автомобиля (рисунок 24).
1 - рычажный поворотный прижим; 2 - корпус; 3 - закидка;
4 - гайка
Рабочие положения упора: а, в - крайние; б - среднее
Колесный упор (рисунок 23) состоит из корпуса (поз. 2) с двумя крючьями, входящими в прорези настила пола, рычажного поворотного прижима (поз. 1), соединенного с тягой, на которую навинчивается гайка с кольцевыми проточками (поз. 4), подпружиненной закидки (поз. 3) для фиксации упора от перемещения и выхода его из зацепления с полом.
Рисунок 24 - Крепление автомобиля колесными упорами
1 - колесный упор; 2 - направляющее устройство
Пол верхнего и нижнего ярусов платформы имеет щелевые отверстия, предназначенные для установки и фиксирования колесных упоров.
9.1.2. На двухъярусных платформах перевозят легковые автомобили, имеющие массу не более 1,65 т и ширину колеи (расстояние между серединами шин передних или задних колес) не менее 1,2 м.
Автомобили размещают в один ряд по ширине платформы в каждом ярусе (рисунок 25).
Рисунок 25 - Размещение автомобилей в один ряд
Зазор между соседними автомобилями должен быть не менее 50 мм (рисунки 24, 25).
Количество автомобилей на платформе устанавливается в зависимости от их размеров.
Перед погрузкой автомобилей выполняют:
- перевод переездных площадок на нижнем и верхнем ярусах всех платформ в горизонтальное положение, оставив в вертикальном положении только крайние переездные площадки первой загружаемой платформы;
- проверку исправности и комплектности колесных упоров (при необходимости смазку винтовых соединений упоров) и размещение их на полу так, чтобы они не препятствовали свободному проезду автомобилей;
- установку в крайние щелевые отверстия пола на верхнем и нижнем ярусах первой загружаемой платформы со стороны не откинутых переездных площадок необходимое количество колесных упоров. При этом рычажные поворотные прижимы должны находиться в среднем рабочем положении.
После установки автомобиля передними колесами вплотную к упорам устанавливают упоры к задним колесам. Упоры устанавливают в ближайшие к колесам машины щелевые отверстия, сдвигают их по направлению от колеса и фиксируют каждый упор подпружиненной закидкой. При этом рычажный поворотный прижим упора должен находиться в крайнем или среднем рабочем положении.
Вращением гайки рычажный поворотный прижим доводится вплотную к колесам автомобиля, после чего проверяется надежность закрепления упора с тем, чтобы исключалось его перемещение при перевозке.
После окончания погрузки переездные площадки устанавливают в транспортное (вертикальное) положение и закрепляют их крюковыми захватами.
Выгрузку автомобилей производят в обратной последовательности.
После выгрузки автомобилей устанавливают переездные площадки в транспортное (вертикальное) положение, а колесные упоры закрепляют на вагоне. Для закрепления снятого колесного упора (рисунок 23) необходимо опустить гайку (поз. 4) в прорезь корпуса (поз. 2) и затянуть ее до упора, поднять подпружиненную закидку (поз. 3), установить крючья в прорези пола, подвинуть колесный упор на себя, отпустить подпружиненную закидку, чтобы она зафиксировалась в прорези пола.
9.2. Размещение и крепление автомобилей в крытых вагонах для легковых автомобилей моделей 11-1804, 11-287, 11-3114, 11-835, 11-835-01, 11-835-М, 11-840, 13-479.
В вагоне на нижнем и верхнем ярусах автомобили размещают в один ряд вдоль вагона симметрично относительно продольной плоскости симметрии вагона с максимально возможным использованием длины кузова вагона на каждом ярусе.
Зазор между автомобилями должен быть не менее 50 мм.
Размещение и крепление автомобилей в крытом вагоне для автомобилей аналогично размещению и креплению их на двухъярусной платформе (пункт 9.1 настоящей главы).
После выгрузки автомобилей колесные упоры должны быть закреплены, двери и переездные площадки приведены в транспортное положение.
9.3. Размещение и крепление автомобилей в вагоне для перевозки легковых автомобилей модели 11-1291.
9.3.1. Вагон предназначен для перевозки легковых автомобилей, микроавтобусов и другой колесной техники (далее - автомобили), имеющих колеса с пневматическими шинами.
Для размещения и крепления автомобилей используют: нижний ярус (металлический настил рамы) и верхний ярус, который состоит из 12 съемных секций, имеющих металлический настил. Настилы нижнего и верхнего ярусов имеют направляющие с отверстиями, предназначенными для фиксации колесных упоров при креплении автомобилей. Для крепления автомобилей используют колесные упоры, входящие в комплект вагона. При отправлении вагона в порожнем состоянии колесные упоры устанавливают и фиксируют на специальных транспортных кронштейнах.
Максимальное количество автомобилей, размещаемых в вагоне в два яруса, составляет:
9.3.2. При размещении автомобилей в вагоне должны выполняться следующие условия:
- суммарная масса автомобилей, размещенных на верхнем ярусе, должна быть не более 9 т и не должна превышать суммарную массу автомобилей, размещенных на нижнем ярусе;
- на нижнем ярусе вагона размещают автомобили с дорожным просветом не менее 120 мм;
- на верхнем ярусе допускается размещение автомобилей массой не более 1,5 т, на нижнем ярусе - массой не более 2,5 т;
- при двухъярусной погрузке максимальная допускаемая высота автомобиля для погрузки в нижнем ярусе - 1925 мм, в верхнем ярусе - 1710 мм.
Допускается размещение автомобилей высотой более 1925 мм в вагоне с демонтированным верхним ярусом. При этом элементы верхнего яруса должны быть удалены из вагона.
Допускается размещение в вагоне автомобилей различных марок, имеющих различные размеры и массу, при условии симметричного их расположения.
9.3.3. Перед размещением автомобилей торцевые двери открывают и фиксируют цепными закидками на скобах боковых стен, переездные площадки нижнего и верхнего яруса вагона откидывают на кронштейны.
Автомобили размещают и закрепляют сначала на верхнем ярусе, затем - на нижнем.
На каждом ярусе вагона автомобили размещают симметрично относительно продольной плоскости симметрии вагона. Зазор между соседними автомобилями должен быть не менее 50 мм.
Принципиальные схемы размещения автомобилей приведены на рисунках 26 и 27.
Рисунок 26 - Размещение автомобилей в вагоне в два яруса
Рисунок 27 - Размещение автомобилей в вагоне в один ярус
Для крепления автомобилей от смещения предусмотрены два вида комплектов крепления:
- колесные упоры колодочного типа совместно с колесными упорами типа 1291.14.00.000 (1291.14.00.000-01);
- колесные упоры треугольной формы.
9.3.4. Колесный упор колодочного типа (рисунок 28) включает в себя трубу (поз. 1), на которой шарнирно установлены рычаг (поз. 6) с упором (поз. 8) и корпус (поз. 7). Корпус на трубе фиксируется в рабочем положении винтовым стопором (поз. 9). Рычаг и корпус связаны между собой рычагом (поз. 10), двумя малыми рычагами, в соединении которых установлена цапфа с гайкой (поз. 11), которая вращается на винте (поз. 12), шарнирно закрепленном на рычаге (поз. 6).
Рисунок 28 - Колесный упор колодочного типа
1 - труба; 2 - ручка; 3 - стопор; 4 - направляющая настила;
5 - шайба; 6, 10 - рычаг; 7 - корпус; 8 - упор; 9 - винтовой
стопор; 11 - цапфа с гайкой; 12 - винт; 13 - настил
На трубе имеется ручка (поз. 2) и стопор (поз. 3) для фиксации упора на направляющих (поз. 4) настила. Упор имеет рабочую цилиндрическую поверхность и с одной стороны щеку боковой фиксации колеса автомобиля. При вращении гайки рычаг (поз. 6) поворачивается относительно уровня настила пола (поз. 13).
После установки колесного упора в направляющие рычаг (поз. 6) поджимают упором (поз. 8) к фиксируемому колесу путем вращения гайки (поз. 11). Корпус (поз. 7) фиксируется на трубе (поз. 1) винтовым стопором (поз. 9).
Конструкция колесного упора типа 1291.14.00.000 (1291.14.00.000-01) (рисунок 29) включает в себя две трубы, на которых подвижно устанавливаются два упора, соединенные между собой крепежным ремнем с натяжным устройством.
Рисунок 29 - Колесный упор с крепежным ремнем
1 - упор; 2 - ремень; 3 - натяжное устройство;
4 - направляющая настила
9.3.5. Конструкция колесного упора треугольной формы (рисунок 30) включает в себя раскосы (поз. 1 и 2), вилки (поз. 3 и 4), перемычку (поз. 5), рычаг (поз. 6) и фиксатор.
Рисунок 30 - Колесный упор треугольной формы
1, 2 - раскосы; 3, 4 - вилки; 5 - перемычка; 6 - рычаг
Крепление автомобиля производят следующим образом: два крайних колесных упора устанавливают в рабочее положение; после установки автомобиля до контакта передними колесами с упорами к задним колесам с наружной стороны устанавливают вторую пару упоров и закрепляют фиксатором в отверстии направляющей.
После выгрузки автомобилей колесные упоры должны быть закреплены, двери и переездные площадки приведены в транспортное положение.
- Гражданский кодекс (ГК РФ)
- Жилищный кодекс (ЖК РФ)
- Налоговый кодекс (НК РФ)
- Трудовой кодекс (ТК РФ)
- Уголовный кодекс (УК РФ)
- Бюджетный кодекс (БК РФ)
- Арбитражный процессуальный кодекс
- Конституция РФ
- Земельный кодекс (ЗК РФ)
- Лесной кодекс (ЛК РФ)
- Семейный кодекс (СК РФ)
- Уголовно-исполнительный кодекс
- Уголовно-процессуальный кодекс
- Производственный календарь на 2025 год
- МРОТ 2025
- ФЗ «О банкротстве»
- О защите прав потребителей (ЗОЗПП)
- Об исполнительном производстве
- О персональных данных
- О налогах на имущество физических лиц
- О средствах массовой информации
- Производственный календарь на 2026 год
- Федеральный закон "О полиции" N 3-ФЗ
- Расходы организации ПБУ 10/99
- Минимальный размер оплаты труда (МРОТ)
- Календарь бухгалтера на 2025 год
- Частичная мобилизация: обзор новостей
- Постановление Правительства РФ N 1875








