6. Размещение и крепление полуприцепов на платформах модели 13-9938
6.1. На платформе размещают один полуприцеп. Для размещения и крепления полуприцепа платформа (рисунок 5а) имеет поворотную погрузочную площадку (поз. 5), съемное седельное устройство (поз. 8), восемь колесных упоров (поз. 6). Платформа также имеет четыре торцевых борта откидных для проезда автомобильной техники с одной платформы на другую.
Поворотная погрузочная площадка имеет рабочее положение (положение загрузки) для установки полуприцепа с боковой платформы и транспортное - при перевозке полуприцепа. В обоих положениях поворотная погрузочная площадка закрепляется фиксаторами (рисунок 28).
а) рабочее положение б) транспортное положение
1 - опорный лист; 2 - фиксатор
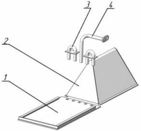
Съемное седельное устройство (рисунок 29) представляет собой сварную конструкцию, состоящую из основания (поз. 1) с седельно-сцепным устройством JOST JSK 38G1 (поз. 2), соответствующим стандарту DIN 74081-1992 (для шкворня полуприцепа диаметром 2 дюйма), установленным на болтах.
Рисунок 29 - Съемное седельное устройство
1 - основание; 2 - седельно-сцепное устройство;
3 - планка; 4 - фиксатор; 5 - рукоятка; 6 - палец.
В погрузочном положении рукоятка (поз. 5) вместе с соединенным с ней фиксатором (поз. 4), повернута параллельно верхней полке хребтовой балки. В транспортном положении, рукоятка (поз. 5) вместе с фиксатором (поз. 4) должна быть повернута перпендикулярно полке хребтовой балки, при этом фиксатор (поз. 4) должен заходить под верхнюю полку хребтовой балки, а палец (поз. 6) должен быть совместно вставлен в отверстия в фиксаторе (поз. 4) и планке (поз. 3) и зашплинтован. Погрузочное и транспортное положения фиксатора приведены на рисунке 33.
Рисунок 30 - Погрузочное и транспортное положения
фиксаторов съемного сцепного устройства
а) погрузочное положение, б) транспортное положение
Колесные упоры (рисунок 31) имеют разборную конструкцию и состоят из основания (поз. 1), упора (поз. 2), двух фиксаторов (поз. 3) и кронштейна (поз. 4).
Рисунок 31 - Общий вид колесного упора
1 - основание упора; 2 - упор; 3 - фиксаторы; 4 - кронштейн.
Хранение колесных упоров на платформе производится в ящике для упоров (поз. 7, рисунок 5а) в разобранном виде (рисунок 32).
Рисунок 32 - Размещение колесных упоров в ящике для упоров
Сборка колесных упоров производится непосредственно при их установке для крепления колес полуприцепа на платформе.
6.2. Размещение и крепление полуприцепа на платформе производят в соответствии со схемой, приведенной на рисунке 33.
Рисунок 33 - Размещение и крепление полуприцепа на платформе
модели 13-9938
Перед погрузкой полуприцепа на платформу все откидные фитинговые упоры должны быть приведены в нерабочее состояние
Погрузку полуприцепа на платформу производят в соответствии с руководством по эксплуатации платформы.
Полуприцеп устанавливают симметрично относительно продольной плоскости симметрии платформы с опиранием всеми колесами на погрузочную поворотную площадку, а опорной плитой - на съемное седельное устройство, при этом шкворень полуприцепа должен быть соединен с седельно-сцепным устройством съемного седельного устройства.
Каждое колесо двухосного полуприцепа или каждое колесо передней и задней осей трехосного полуприцепа закрепляют двумя колесными упорами в следующем порядке:
- основание (поз. 1) в сборе с упором (поз. 2) (рисунок 31) устанавливают под колесо полуприцепа с минимально возможным зазором, таким образом, чтобы отверстия в основании совпадали с отверстиями в листе поворотной погрузочной площадки;
- основание в сборе с упором фиксируют двумя фиксаторами (поз. 3, рисунок 31); фиксаторы, расположенные на поворотной площадке, шплинтуются;
- устанавливают кронштейн (поз. 4, рисунок 31), направленный проушиной в сторону закрепляемого колеса;
- два упора, закрепляющих колесо, соединяют ограничителем, который вставляют в проушины кронштейнов упоров (рисунок 34).
Рисунок 34 - Крепление колеса колесными упорами
После погрузки на платформу полуприцеп затормаживают стояночным тормозом, максимально уменьшают его высоту за счет соответствующего регулирования пневматических устройств подвески.
6.3. Возврат порожней платформы производится в сборе со съемным седельным устройством.
Перед транспортировкой съемное седельное устройство устанавливают на консольную часть платформы таким образом, чтобы отверстие в раскосе седельного устройства совпадало с отверстием в листе рамы платформы, приводят в транспортное положение (рисунок 30б) и закрепляют штырем, вставляемым в отверстия в раскосе седельного устройства и листа рамы платформы. Колесные упоры разбирают на комплектующие детали и убирают в ящик для упоров (рисунок 32), ящик пломбируют.
- Гражданский кодекс (ГК РФ)
- Жилищный кодекс (ЖК РФ)
- Налоговый кодекс (НК РФ)
- Трудовой кодекс (ТК РФ)
- Уголовный кодекс (УК РФ)
- Бюджетный кодекс (БК РФ)
- Арбитражный процессуальный кодекс
- Конституция РФ
- Земельный кодекс (ЗК РФ)
- Лесной кодекс (ЛК РФ)
- Семейный кодекс (СК РФ)
- Уголовно-исполнительный кодекс
- Уголовно-процессуальный кодекс
- Производственный календарь на 2025 год
- МРОТ 2026
- ФЗ «О банкротстве»
- О защите прав потребителей (ЗОЗПП)
- Об исполнительном производстве
- О персональных данных
- О налогах на имущество физических лиц
- О средствах массовой информации
- Производственный календарь на 2026 год
- Федеральный закон "О полиции" N 3-ФЗ
- Расходы организации ПБУ 10/99
- Минимальный размер оплаты труда (МРОТ)
- Календарь бухгалтера на 2026 год
- Частичная мобилизация: обзор новостей
- Постановление Правительства РФ N 1875






