2. Размещение и крепление техники на обрезиненных колесах на платформе

2. Размещение и крепление техники на обрезиненных колесах

на платформе

2.1. Технику на обрезиненных колесах размещают на платформе в количестве одной или нескольких единиц.

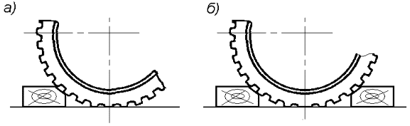
Между единицами техники должны быть обеспечены зазоры (рисунок 2): в продольном направлении - не менее 50 мм, по вертикали - не менее 150 мм.

Рисунок 970

Рисунок 2

1 - упорный брусок от продольного смещения; 2 - растяжка;

3 - упорный брусок от поперечного смещения

Допускается выход колес техники по ширине за пределы пола платформы не более чем на 1/4 ширины колеса (одного из спаренных колес).

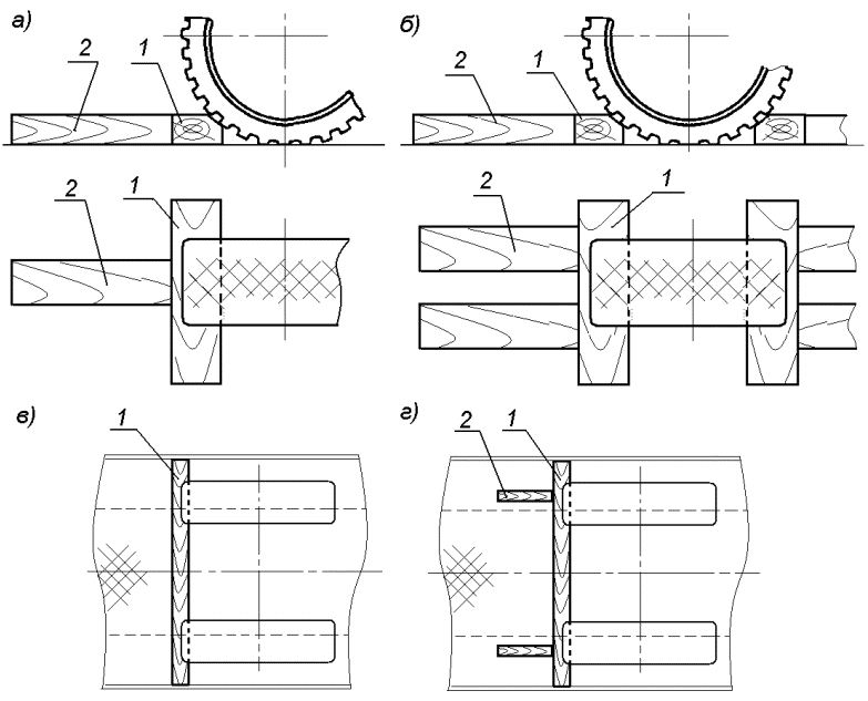
2.2. Каждую единицу техники закрепляют упорными брусками и четырьмя растяжками из проволоки диаметром 6 мм (рисунки 2 - 5).

Рисунок 971

Рисунок 3

1 - упорный брусок от продольного смещения; 2 - растяжка;

3, 4 - упорный брусок от поперечного смещения

Рисунок 972

Рисунок 4

1 - упорный брусок от продольного смещения; 2 - растяжка;

3 - упорный брусок от поперечного смещения

Рисунок 973

Рисунок 5

1, 5 - упорный брусок от продольного смещения; 2 - растяжка;

3 - упорный брусок от поперечного смещения;

4 - дополнительный упорный брусок

2.3. От продольного смещения колеса подклинивают упорными брусками с наружных сторон крайних осей (рисунки 2а, 4) или с двух сторон (рисунки 2б, 5). Способ подклинивания колес (с одной или с обеих сторон) определяется возможностью размещения необходимого количества гвоздей в упорных брусках с учетом их размеров и требований главы 1 настоящих ТУ. Двух- и трехосные мосты техники подклинивают с двух сторон (рисунок 3).

Упорные бруски располагают перпендикулярно плоскости колеса (рисунок 6).

Рисунок 974

Рисунок 6 - Подклинивание обрезиненных колес техники

а - с одной стороны; б - с двух сторон

Упорные бруски могут быть выполнены из четырехкантного бруса с обработанной кромкой (рисунок 7а), двухкантного бруса (рисунок 7б), обапола (рисунок 7в), бруса с треугольной формой поперечного сечения (рисунок 7г).

Рисунок 975

Рисунок 7 - Варианты исполнения упорных

брусков для подклинивания обрезиненных колес из:

а - четырехкантного бруса с обработанной кромкой;

б - двухкантного бруса; в - обапола; г - бруса с треугольной

формой поперечного сечения

Размеры поперечного сечения брусков в зависимости от диаметра колеса определяют по таблице 4.

Таблица 4

Размеры поперечного сечения упорных брусков

для крепления на платформе в продольном направлении техники

на обрезиненных колесах

Размеры поперечного сечения упорных брусков, не менее, мм

Диаметр колеса, мм

до 500 вкл.

свыше 500 до 800 вкл.

свыше 800 до 1100 вкл.

свыше 1100 до 1400 вкл.

свыше 1400 до 1600 вкл.

свыше 1600

высота, h

40

50

75

100

135

150

ширина, b

100

100

120

150

200

200

Бруски располагают таким образом, чтобы они перекрывали всю ширину колеса. При выходе колеса за пределы пола платформы бруски устанавливают в пределах ширины части колеса, находящейся на настиле пола платформы.

Упорные бруски прибивают к полу платформы или подкладкам гвоздями диаметром не менее 5 мм, длиной, превышающей высоту бруска не менее чем на 50 мм. Количество гвоздей для закрепления упорных брусков в зависимости от массы единицы техники и наличия тормозов определяют по таблицам 5 и 6. Допускается подкладки и упорные бруски прибивать к полу платформы гвоздями, проходящими через оба элемента, в количестве, необходимом для закрепления упорных брусков.

В случае невозможности забивания необходимого количества гвоздей в поперечные упорные бруски вплотную к ним устанавливают дополнительные продольные упорные бруски такого же сечения необходимой длины (рисунок 8а, б, г).

При расположении колес техники частично на металлическом настиле пола (рисунок 8в, г) их подклинивание производят поперечными упорными брусками длиной 2750 мм (при необходимости - с применением дополнительных продольных упорных брусков), которые крепят к деревянной части пола гвоздями в количестве, указанном в таблицах 5 и 6.

Рисунок 976

Рисунок 8 - Варианты подклинивания колес

с применением поперечных упорных и дополнительных

продольных упорных брусков:

а) поперечным упорным и одним дополнительным продольным

упорным бруском; б) поперечным упорным бруском и несколькими

дополнительными продольными упорными брусками; в) поперечным

упорным бруском длиной 2750 мм; г) поперечным упорным

бруском длиной 2750 мм и несколькими дополнительными

продольными упорными брусками

1 - поперечный упорный брусок; 2 - дополнительный

продольный упорный брусок

2.4. От поперечного смещения единицу техники закрепляют не менее чем четырьмя упорными брусками (по два с каждой стороны), которые устанавливают с наружных или внутренних сторон колес крайних осей вдоль платформы вплотную к колесам.

Для крепления применяют бруски размерами:

- при диаметре колеса до 1200 мм включительно - не менее 75 x 100 x 500 мм;

- при диаметре колеса свыше 1200 мм - не менее 150 x 200 x 700 мм.

Каждый упорный брусок закрепляют к полу платформы гвоздями диаметром не менее 5 мм, длиной, превышающей высоту бруска не менее чем на 50 мм, в количестве:

- при массе единицы техники до 12 т включительно - четырьмя гвоздями;

- при массе единицы техники свыше 12 до 24 т включительно - восемью гвоздями.

2.5. Количество нитей проволоки в каждой растяжке в зависимости от массы единицы техники определяют:

- при креплении техники с тормозами - по таблице 5;

- при креплении техники без тормозов - по таблице 6.

Таблица 5

Параметры средств крепления в продольном направлении техники

с тормозами на платформе

Параметры средств крепления

Масса единицы техники, т

до 2,0 вкл.

свыше 2,0 до 4,0 вкл.

свыше 4,0 до 6,3 вкл.

свыше 6,3 до 12,0 вкл.

свыше 12,0 до 18,0 вкл.

свыше 18,0 до 24,0 вкл.

Количество нитей проволоки в растяжке

2

2

2

4

6

8

Общее количество гвоздей для закрепления в каждую сторону, не менее

4

8

12

24

36

48

Количество гвоздей на один брусок <*>

2/2

4/2

6/3

12/6

18/9

24/12

--------------------------------

<*> Значения в числителе - при подклинивании единицы техники в каждую сторону двумя, в знаменателе - при подклинивании в каждую сторону четырьмя упорными брусками.

Таблица 6

Параметры средств крепления в продольном направлении техники

без тормозов на платформе

Параметры средств крепления

Масса единицы техники, т

до 3,5 вкл.

свыше 3,5 до 7 вкл.

Количество нитей проволоки в растяжке

2

4

Общее количество гвоздей для закрепления в каждую сторону, не менее

8

16

Количество гвоздей на один брусок <*>

4/2

8/4

--------------------------------

<*> Значения в числителе - при подклинивании единицы техники в каждую сторону двумя, в знаменателе - при подклинивании в каждую сторону четырьмя упорными брусками.

2.6. При размещении на одной платформе различных типов (моделей) техники (рисунок 9) выбор средств крепления для каждой единицы производят в соответствии с требованиями пунктов 2.2 - 2.5 настоящей главы с учетом конкретных технических параметров (габаритные размеры, диаметр колес, масса, количество осей и пр.) каждой единицы техники.

Рисунок 977

Рисунок 9 - Размещение и крепление на одной

платформе различных типов (моделей) техники

1, 4, 6, 7 - упорный брусок от продольного смещения;

2, 8 - растяжка; 3, 9 - упорный брусок от поперечного

смещения; 5 - дополнительный упорный брусок

2.7. При размещении техники с шасси сочлененного типа (шасси, состоящее из двух частей, соединенных поворотным шарниром) выбор брусков для закрепления колес производят в соответствии с пунктами 2.3, 2.4 настоящей главы, исходя из общей массы техники. Каждую часть шасси закрепляют четырьмя растяжками из проволоки диаметром 6 мм. Количество нитей в растяжках определяют в соответствии с пунктом 2.5 настоящей главы, исходя из общей массы техники (рисунок 10).

Рисунок 978

Рисунок 10 - Размещение и крепление

на платформе техники с шасси сочлененного типа

1, 5 - упорный брусок от продольного смещения; 2 - растяжка;

3 - упорный брусок от поперечного смещения;

4 - дополнительный упорный брусок

2.8. При размещении техники с навесным оборудованием, которое может быть опущено до уровня пола (отвалы грейдеров, ковши погрузчиков, ковши экскаваторов и пр.), последнее устанавливают на две подкладки из доски толщиной не менее 25 мм, которые крепят к полу платформы каждую не менее чем двумя гвоздями диаметром не менее 5 мм.

Для обеспечения удобства установки проволочных растяжек допускается навесное оборудование устанавливать на опоры из брусков сечением не менее 100 x 100 мм (рисунок 11), которые крепят к полу платформы гвоздями длиной не менее 150 мм - по два гвоздя на каждый брусок основания. Бруски опоры скрепляют между собой такими же гвоздями. Навесное оборудование закрепляют двумя растяжками из проволоки диаметром 6 мм в четыре нити.

Рисунок 979

Рисунок 11 - Размещение и крепление

на платформе техники с навесным оборудованием

1 - упорный брусок от продольного смещения; 2, 6 - растяжка;

3 - упорный брусок от поперечного смещения; 4 - опора;

5 - дополнительный упорный брусок

2.9. При размещении на одной платформе техники с комплектом запасных частей (оборудованием), упакованным в ящики массой не более 1000 кг каждый (рисунок 12), крепление каждого ящика производят по периметру четырьмя брусками сечением не менее 100 x 100 мм длиной не менее 2/3 длины соответствующей стороны ящика. Каждый брусок прибивают к полу платформы не менее чем семью гвоздями диаметром 6 мм и закрепляют обвязкой из проволоки диаметром 6 мм в две нити.

Рисунок 980

Рисунок 12 - Размещение и крепление на платформе техники

с комплектом запасных частей (оборудованием) в ящиках

1 - упорный брусок от продольного смещения; 2, 5 - растяжка;

3 - упорный брусок от поперечного смещения;

4 - дополнительный упорный брусок; 6 - подкладка;

7, 8 - упорный брусок; 9 - обвязка