12.7. Использование турникетов различных типов для перевозки длинномерных грузов
12.7.1. Неподвижный турникет состоит из двух турникетных опор, каждая из которых состоит из основания и грузовой площадки, соединенных между собой с помощью шкворня, пятника или того и другого вместе. Одна из опор - подвижная, другая - неподвижная. У неподвижной опоры грузовая площадка имеет только возможность (рисунок 62) поворота вокруг вертикальной оси - шкворня. У подвижной опоры шкворень вместе с грузовой площадкой может перемещаться также вдоль продольной плоскости симметрии платформы, компенсируя взаимные перемещения платформ сцепа. Неподвижные турникеты могут быть использованы для крепления длинномерных грузов массой до 60 тонн.
12.7.2. Подвижный турникет обеспечивает возможность продольного смещения обеих грузовых площадок с грузом при соударениях вагонов, а также возможность поворота при проходе сцепа по кривым участкам пути и участкам с переломами профиля пути. По конструктивному исполнению подвижные турникеты можно разделить на три типа:
- одноопорные с размещением опорных элементов (катков, шаров, скользунов) в одной поперечной плоскости турникетной опоры (рисунок 63);
- двухопорные с размещением опорных элементов в двух поперечных плоскостях турникетной опоры (рисунок 64);
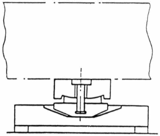
- маятникового типа (рисунок 65), грузовая площадка которых может перемещаться в продольном направлении за счет отклонения маятниковых подвесок, верхние концы которых шарнирно связаны со стойками основания, а нижние - с грузовой площадкой.
Одноопорные подвижные турникеты изготавливают в трех вариантах:
- клиновые, у которых продольное перемещение груза осуществляется скольжением наклонных опорных плоскостей грузовой площадки, жестко связанной с грузом, по клиновым опорам, закрепленным на основании турникетной опоры;
- катковые, у которых грузовая площадка опирается на основание посредством цилиндрических или шаровых катков, перекатывающихся по профильным направляющим основания;
- фрикционные, у которых опорные элементы грузовой площадки выполнены в виде фрикционного сектора, а на основании имеются соответствующие профильные направляющие поверхности.
Двухопорные подвижные турникеты известны в двух конструктивных исполнениях: катковые и фрикционные, принципы действия которых аналогичны соответствующим конструкциям одноопорных турникетов.
Турникеты маятникового типа известны в двух модификациях: с верхним и нижним расположением опорных шарниров. На практике нашли применение турникеты с верхним расположением шарниров. Тяги, соединяющие концы стоек с грузовой площадкой, располагаются под углом 13 - 15° к вертикали и имеют вверху продольные прорези. При смещении груза вдоль платформы площадка оказывается подвешенной только на одной паре тяг, а вторая пара тяг, за счет имеющихся пазов, скользит относительно опорных шарниров.
- Гражданский кодекс (ГК РФ)
- Жилищный кодекс (ЖК РФ)
- Налоговый кодекс (НК РФ)
- Трудовой кодекс (ТК РФ)
- Уголовный кодекс (УК РФ)
- Бюджетный кодекс (БК РФ)
- Арбитражный процессуальный кодекс
- Конституция РФ
- Земельный кодекс (ЗК РФ)
- Лесной кодекс (ЛК РФ)
- Семейный кодекс (СК РФ)
- Уголовно-исполнительный кодекс
- Уголовно-процессуальный кодекс
- Производственный календарь на 2025 год
- МРОТ 2026
- ФЗ «О банкротстве»
- О защите прав потребителей (ЗОЗПП)
- Об исполнительном производстве
- О персональных данных
- О налогах на имущество физических лиц
- О средствах массовой информации
- Производственный календарь на 2026 год
- Федеральный закон "О полиции" N 3-ФЗ
- Расходы организации ПБУ 10/99
- Минимальный размер оплаты труда (МРОТ)
- Календарь бухгалтера на 2026 год
- Частичная мобилизация: обзор новостей
- Постановление Правительства РФ N 1875



