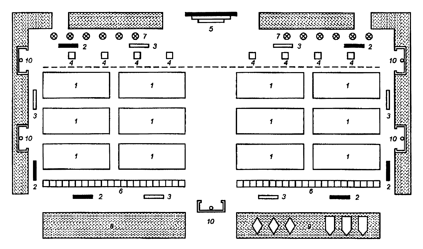
Приложение 8. Оборудование строевого плаца

Приложение 8

ОБОРУДОВАНИЕ СТРОЕВОГО ПЛАЦА

(Вариант)

Рисунок 81